Рассеянное рентгеновское излучение. Регулирование рассеивания рентгеновских лучей
Добавил пользователь Евгений Кузнецов Обновлено: 13.12.2025
Для просмотра информации о патентах вам необходимо зарегистрироваться и оплатить 30-ти дневный доступ. Разовый платеж составит 149 рублей (НДС не облагается).
Сканирующее устройство с использованием пучка излучения для формирования изображения в режиме обратного рассеяния и способ его осуществления
Использование: для формирования изображения в режиме обратного рассеяния. Сущность заключается в том, что сканирующее устройство включает в себя источник излучения, стационарную экранную пластину и вращающееся экранное тело, расположенные соответственно между источником излучения и сканируемым.
Контрольное устройство миллиметрового диапазона
Использование: для контроля человеческого тела посредством волн миллиметрового диапазона. Сущность изобретения заключается в том, что устройство обнаружения миллиметровых волн включает в себя оптические устройства (30, 50, 60), используемые для приема излучения миллиметровых волн от.
Сканирующее устройство и способ визуализации с обратнорассеянным пучком излучения
Использование: для недеструктивного исследования тела человека. Сущность изобретения заключается в том, что сканирующее устройство для визуализации с обратнорассеянным пучком излучения содержит источник излучения, фиксированную экранирующую плиту и вращающееся экранирующее тело, расположенное.
Устройство для приема миллиметровых волн
Изобретение относится к измерительной технике и может быть использовано для исследования биологических объектов. Приемное устройство радиометра включает в себя по меньшей мере один радиометр (83) и установочный модуль (824) для фиксации радиометра (83). Установочный модуль (824) включает в себя.
Устройство для испускания лучей и система формирования изображений с данным устройством
Использование: для испускания лучей и формирования изображений посредством проникающего излучения. Сущность изобретения заключается в том, что устройство для испускания лучей содержит: цилиндр; источник излучения, расположенный в цилиндре, для испускания луча; и коллиматор, расположенный в.
Системы и способы осмотра на основе обратного рассеяния для тела человека
Использование: для осмотра тела человека на основе обратного рассеяния излучения. Сущность изобретения заключается в том, что используют блок формирования бегущих пятен, имеющий распределенные по спирали бегущие пятна, с чередованием пиков и спадов рентгеновского излучения на облучаемой.
Стационарное устройство компьютерной томографии
Изобретение относится к медицинской технике, а именно к устройству компьютерной томографии. Устройство содержит канал сканирования, стационарный источник рентгеновского излучения, размещенный вокруг канала сканирования и содержащий множество фокальных пятен излучения и множество стационарных.
Устройство и способ лучевой сканирующей визуализации
Использование: для лучевой сканирующей визуализации. Сущность изобретения заключается в том, что устройство для лучевой сканирующей визуализации содержит: множество генераторов излучения, распределенных равномерно по дуге окружности, причем упомянутое множество генераторов излучения испускает.
Детектор и использующий его способ одновременного обнаружения гамма-излучения и нейтронов
Изобретение используется для отслеживания радиоактивных веществ посредством обнаружения нейтронов и гамма-излучения. Детектор включает в себя детекторный кристалл, предназначенный для обнаружения падающего на него излучения; множество замедляющих слоев, предназначенных для замедления нейтронов.
Способы реконструкции рентгеновской двухэнергетической компьютерной томографии
Использование: для реконструкции рентгеновской двухэнергетической компьютерной томографии. Сущность изобретения заключается в том, что способ реконструкции рентгеновской двухэнергетической CT согласно настоящему изобретению содержит: (a) оценку энергетического спектра и создание.
Липосома, имеющая внутреннюю водную фазу, содержащую соль сульфобутилового эфира циклодекстрина
Изобретение относится к медицине и заключается в липосоме, содержащей бислойную мембрану и внутреннюю водную фазу. Внутренняя водная фаза содержит соль сульфобутилового эфира циклодекстрина, образованную сульфобутиловым эфиром циклодекстрина с одним или более из гидроксида аммония, триэтиламина.
Сканирующее устройство формирования голографического изображения в миллиметровом диапазоне волн для досмотра людей в целях обеспечения безопасности
Настоящее изобретение относится к области обеспечения безопасности, а именно к сканирующему устройству формирования топографического изображения в миллиметровом диапазоне волн для досмотра людей. Устройство содержит первый трансивер (40) миллиметрового диапазона с антенной решеткой (41) для.
Многоэнергетические многодозовые ускорители, системы быстрого контроля и способы быстрого контроля
Использование: для формирования изображений разных областей объекта. Сущность изобретения заключается в том, что многоэнергетический многодозовый ускоритель содержит электронную пушку, выполненную с возможностью обеспечивать первое напряжение электронной пушки и второе напряжение электронной.
Способ исследования с помощью кт и устройство для кт
Использование: для исследования объекта исследования с помощью компьютерной томографии. Сущность изобретения заключается в том, что осуществляют круговое сканирование исследуемого объекта посредством рентгеновских лучей в соответствии с предварительно заданным значением угловой дискретизации.
Система и способ досмотра транспортных средств с использованием извлечения эталонных изображений транспортных средств и функции сравнения
Использование: для досмотра транспортного средства. Сущность изобретения заключается в том, что осуществляют следующие шаги: реализацию досмотра с использованием сканирования излучением досматриваемого транспортного средства для получения изображения досматриваемого транспортного средства путем.
Способ на основе рамановской спектроскопии для контроля западных медикаментов, добавленных в оздоровительные пищевые продукты
Изобретение относится к области контроля качества пищевых продуктов и касается способа контроля на основе рамановской спектроскопии медикаментов, добавленных в оздоровительные пищевые продукты. Способ содержит этапы, на которых получают исходный рамановский спектроскопический сигнал и.
Защитный кожух для аппарата-источника радиоактивного излучения и устройство контроля безопасности
Изобретение относится к защитному кожуху для аппарата-источника радиоактивного излучения и устройству контроля безопасности. Устройство содержит корпус, снабженный приемной камерой для размещения в нем аппарата-источника радиоактивного излучения, торцевым отверстием и выходным отверстием для.
Защитное устройство со свинцовыми экранами для устройства обнаружения и способ защиты от излучения
Использование: для защиты от излучения. Сущность изобретения заключается в том, что защитное устройство со свинцовыми экранами содержит: по меньшей мере два свинцовых экрана; опорный узел, содержащий рабочую область и область ожидания; первый передающий узел, выполненный с возможностью.
Устройство в виде рентгеновской трубки и пружинный контакт
Изобретение относится к области рентгенотехники. Устройство в виде рентгеновской трубки содержит: узел внешнего цилиндра, имеющий торец со стороны анода и торец со стороны катода; узел торцевой крышки со стороны анода, предусмотренный на торце со стороны анода узла внешнего цилиндра и.
Устанавливаемая на транспортное средство система досмотра на основе обратного рассеяния
Использование: для досмотра объекта на основе обратного рассеяния. Сущность изобретения заключается в том, что устройство визуализации на основе обратного рассеяния имеет состояние работы с установкой на транспортном средстве и состояние работы на земле, и в состоянии работы с установкой на.
Рассеянное рентгеновское излучение. Регулирование рассеивания рентгеновских лучей
Рассеянное рентгеновское излучение. Регулирование рассеивания рентгеновских лучей
При работе на повышенных напряжениях, как и при рентгенографии на обычных напряжениях, необходимо использовать все известные способы борьбы с рассеянным рентгеновским излучением.
Количество рассеянных рентгеновых лучей уменьшается с уменьшением поля облучения, что достигается ограничением в поперечнике рабочего пучка рентгеновых лучей. С уменьшением поля облучения, в свою очередь, улучшается разрешающая способность рентгеновского изображения, т. е. уменьшается минимальный размер определяемой глазом детали. Для ограничения в поперечнике рабочего пучка рентгеновых лучей далеко еще недостаточно используются сменные диафрагмы или тубусы.
Для уменьшения количества рассеянных рентгеновых лучей следует применять, где это возможно, компрессию. При компрессии уменьшается толщина исследуемого объекта и, само собой разумеется, становится меньше центров образования рассеянного рентгеновского излучения. Для компрессии используются специальные компрессионные пояса, которые входят в комплект рентгенодиагностических аппаратов, но они недостаточно часто используются.
Количество рассеянного излучения уменьшается с увеличением расстояния между рентгеновской трубкой и пленкой. При увеличении этого расстояния и соответствующем диафрагмировании получается менее расходящийся в стороны рабочий пучок рентгеновых лучей. При увеличении расстояния между рентгеновской трубкой и пленкой необходимо уменьшать поле облучения до минимально возможных размеров. При этом не должна «срезаться» исследуемая область.

С этой целью в последних конструкциях рентгенодиагностических аппаратов предусмотрен пирамидальный тубус со световым центратором. С его помощью достигается возможность не только ограничить снимаемый участок для повышения качества рентгеновского изображения, но и исключается излишнее облучение тех частей тела человека, которые не подлежат рентгенографии.
Для уменьшения количества рассеянных рентгеновых лучей исследуемую деталь объекта следует максимально приближать к рентгеновской пленке. Это не относится к рентгенографии с непосредственным увеличением рентгеновского изображения. При рентгенографии с непосредственным увеличением изображения рассеянное изучение практически не достигает рентгеновской пленки.
Мешочки с песком, используемые для фиксации исследуемого объекта, надо располагать дальше от кассеты, так как песок является хорошей средой для образования рассеянного рентгеновского излучения.
При рентгенографии, производимой на столе без использования отсеивающей решетки, под кассету или конверт с пленкой следует подкладывать лист просвинцованной резины возможно больших размеров.
Для поглощения рассеянных рентгеновых лучей применяются отсеивающие рентгеновские решетки, которые поглощают эти лучи при выходе их из тела человека.
Освоение техники производства рентгеновских снимков при повышенных напряжениях на рентгеновской трубке является именно тем путем, который приближает нас к идеальному рентгеновскому снимку, т. е. такому снимку, на котором хорошо видны в деталях и костная, и мягкая ткани.
Информация на сайте подлежит консультации лечащим врачом и не заменяет очной консультации с ним.
См. подробнее в пользовательском соглашении.
Интеллектуальная собственность
Использование: для анализа пульп и растворов в потоке. Сущность изобретения заключается в том, что автоматический рентгеновский анализатор пульп и растворов в потоке включает стойку с измерительными кюветами, спектрометрический блок с источником первичного рентгеновского излучения, детектором и анализатором вторичного рентгеновского излучения, механизм перемещения спектрометрического блока и систему автоматического управления, при этом спектрометрический блок выполнен герметичным, оснащен узлом термоэлектрической стабилизации температуры всех электронных компонентов спектрометрического блока, при этом в качестве детектора вторичного рентгеновского излучения используют полупроводниковый детектор с термоэлектрическим охлаждением, в качестве анализатора вторичного рентгеновского излучения используют многоканальный амплитудный анализатор импульсов, а в качестве источника первичного рентгеновского излучения используют малогабаритную рентгеновскую трубку рабочей мощностью до 10 Вт. Технический результат: расширение диапазона и количества одновременно определяемых элементов, повышение точности и достоверности анализа, повышение радиационной безопасности эксплуатации, уменьшение массогабаритных характеристик, уменьшение энергопотребления. 5 з.п. ф-лы, 7 ил. Подробнее
"Совместное предприятие в форме Закрытого акционерного общества ""Изготовление, Внедрение, Сервис"" "
Бондаренко Александр Владимирович , Захаров Павел Анатольевич , Зимин Алексей Владимирович , Никандров Илья Сергеевич
Изобретение относится к рентгенотехнике, в частности к рентгеновским трубкам для рентгеноэлектронной спектроскопии. Рентгеновская трубка содержит кожух, внутри которого расположены анод, катод, образцедержатель. Электроны, испускаемые катодом в результате термоэмиссии, ускоряются электростатическим полем и, бомбардируя анод 2, вызывают как характеристическое, так и тормозное излучение. Основная часть тормозного излучения отсекается щелью, созданной образцедержателем и боксом катода 4, в то время как большая часть характеристического излучения проходит через эту щель и благодаря геометрии углубления на внутренней поверхности анода направляется на образец. Взаимное расположение бокса катода и анода выполнено таким образом, что благодаря создаваемой ими конфигурации электростатического поля катодные электроны направляются на поверхность углубления внутренней стороны анода, выполненную в виде сферического пояса, центр кривизны которого совпадает с положением центра образца, и распределяются по всей площади углубления, инициируя тем самым характеристическое излучение, направленное на образец. Технический результат - повышение интенсивности характеристического излучения, направленного на образец. 1 ил. Подробнее
СПОСОБ ПЛАНИРОВАНИЯ АНАТОМИЧЕСКИХ СУБЛОБАРНЫХ РЕЗЕКЦИЙ ЛЕГКИХ У БОЛЬНЫХ С ПЕРИФЕРИЧЕСКИМИ ОБЪЕМНЫМИ ОБРАЗОВАНИЯМИ НА ОСНОВЕ КТ-АНГИОПУЛЬМОНОГРАФИИ / RU 02600282 C2 20161020 /
Изобретение относится к медицине, лучевой диагностике и может применяться в рамках персонализации в планировании хирургического приема у больных с периферическими объемными образованиями легких (ООЛ). Способ трехмерной реконструкции бронхососудистых структур у больных с ООЛ на основе КТ-ангиопульмонографии включает проведение КТ в режиме двухфазного спирального сканирования. Скан болюс-трекинга устанавливают на уровне, соответствующем нижнему контуру дуги аорты. Выделяют фрагмент аксиальной томограммы (ROI), где будут отслеживать плотность в режиме реального времени, в области просвета верхней полой вены, на уровне ее максимального диаметра, с сохранением автоматического старта сканирования во время первой фазы при достижении внутри ROI значений коэффициента ослабления рентгеновского излучения (КО) +140HU. При локализации ООЛ в верхних отделах легких сканирование производят в краниокаудальном направлении, при локализации в нижних отделах - в каудокраниальном. При этом получают максимальную разницу диапазонов КО просветов легочных артерий (ЛА) и вен (ЛВ). Вторую фазу сканирования начинают через 10 с после окончания первой, направление сканирования - обратное предыдущей фазе. Полученные для каждой фазы данные в виде первой и второй постконтрастных серий аксиальных томограмм реконструируют с толщиной реконструкции 1 мм и инкрементом 0,8 с использованием гибридного фильтра реконструкции. Далее производят анатомическую синхронизацию данных обеих постконтрастных серий, в окне первой серии создают маску порогового значения, включающую в себя ЛА, ЛВ, бронхи и ООЛ, с использованием верхнего и нижнего порогов диапазона КО, соответствующих законтрастированной крови в просветах ЛА, с последующим трехмерным заполнением области, соответствующей ЛА. Затем процедуру создания маски повторяют для второй серии томограмм с использованием верхнего и нижнего порогов диапазона КО, соответствующих законтрастированной крови в просветах ЛВ, с заполнением области, соответствующей ЛВ. Далее область, соответствующую ЛА, переносят в окно второй серии и осуществляют трехмерное заполнение бронхиального дерева и ООЛ. В завершение постпроцессорной обработки с учетом сегментарного строения производят присуждение цветов для ветвей ЛА, ЛВ, бронхиального дерева, ООЛ с представлением полученных результатов в виде трехмерной модели. Способ обеспечивает получение диагностических изображений с большой разницей интервалов ослаблений рентгеновского излучения от просветов ЛА и ЛВ и высококачественных трехмерных реконструкций с цветовым картированием ЛА, ЛВ, бронхов и ООЛ, получение данных от всей области интереса вне зависимости от расстояния между объектами и без проведения предварительного тест-болюса, что ускоряет процедуру. 2 ил. Подробнее
Основы рентгенологии
Рентгеновское излучение относится к электромагнитным, возникает в результате торможения быстро движущихся электронов в момент их столкновения с анодом рентгеновской трубки. Применение рентгеновского излучения для клинической диагностики заболеваний основано на его способности проникать через различные органы и ткани, вызывать свечение некоторых химических соединений, а также оказывать фотохимическое действие на рентгеновскую пленку.
Рентгеновское изображение формируется в системе: рентгеновский излучатель (трубка)- объект исследования — приемник изображения (рентгенографическая пленка, экран, полупроводниковая пластина). В основе его получения лежит неравномерное поглощение рентгеновского излучения различными анатомическими структурами, органами и тканями обследуемого.
Как известно, интенсивность поглощения рентгеновского излучения зависит от атомного состава, плотности и толщины исследуемого объекта. Чем тяжелее входящие в ткани химические элементы и больше плотность и толщина слоя, тем интенсивнее поглощается рентгеновское излучение. И, наоборот, ткани, состоящие из элементов с низким атомным номером, обычно имеют небольшую плотность и поглощают рентгеновское излучение в меньшей степени. Другими словами, в наибольшей степени рентгеновское излучение поглощается костями, значительно в меньшей степени — мягкими тканями и меньше всего — тканями, содержащими воздух.
Неравномерное поглощение рентгеновского излучения в тканях исследуемой области обуславливает формирование в пространстве за объектом измененного или неоднородного пучка рентгеновских лучей (выходной дозы). По сути, этот пучок содержит в себе невидимые глазом изображения. Воздействуя на рентгенографическую пленку или экран, он создает привычно рентгеновское изображение.
Рентгенография
Рентгенография относится к наиболее распространенным и весьма информативным методикам рентгенологического исследования. Эта методика позволяет получить изображение практически любой анатомической области. В основе получения рентгенографического изображения лежат процессы, происходящие в светочувствительном слое рентгенографической пленки.
Рентгенографическое изображение является негативным (обратным). На рентгенографической пленке наиболее черными (темными) являются участки изображения, соответствующие структурам, имеющим небольшую плотность и толщину, т.е. " прозрачными" для рентгеновского излучения. Это, прежде всего, воздушная легочная ткань, содержащий газ кишечник и придаточные пазухи носа, мягкие ткани (особенно жировая). Наоборот, кости, различные обызвествления, массивные образования и другие анатомические структуры, интенсивно поглощающие излучение, создают на пленке просветления. Так, например, при рентгенографии грудной клетки на фоне темной (черной) воздушной легочной ткани отчетливо контурируются светлые тени ребер, сердца, крупных сосудов, патологических образований легочной ткани.
При выполнении рентгенографии необходимо стремиться к стандартизации условии исследования, что достигается:
1. Стандартизацией укладок для каждой анатомической области.
2. Стандартизацией технических параметров съемки.
3. Стандартизацией процесса фотохимической обработки пленки.
Обычно исследование начинают с рентгенографии в типичных, или как принято говорить, в стандартных проекциях. Как правило, это съемка — в прямой и боковой проекциях при сагиттальном и фронтальном направлении пучка рентгеновского излучения, в положении стоя для определения уровня и количества жидкости в брюшной и грудной полостях.
Иногда снимки производят в условиях выполнения функциональных проб, при сгибании и разгибании исследуемого сустава.
Перед съемкой исследуемую зону располагают в центре кассеты, а ось (тела, конечности) параллельно пленке. Пучок рентгеновского излучения направляют в центр кассеты перпендикулярно ее плоскости, так как тень линейного предмета будет иметь наибольший размер, когда его продольная ось будет расположена перпендикулярно к ходу лучей, а если продольная ось совпадает с ходом лучей, то на снимке вместо линейного предмета можно увидеть только точку.
Рентгенограммы высокого качества могут быть получены, только при полной неподвижности исследуемой области во время съемки.
Физико-технические условия
Довольно трудным вопросом является разработка физико-технических условий для рентгенографии разных областей тела животных. Нужно соблюдать принятое для определенной области тела фокусное расстояние, его величина определяется требованиями получения максимально резких изображений, а также учитывать толщину исследуемой части тела.
Важным моментом при рентгенографии является выбор оптимального напряжения на полюсах трубки (жесткости). Измеряется в кВ. С увеличением напряжения получаются коротковолновые и более глубокопроникающие или жесткие рентгеновы лучи. С уменьшением напряжения получаются длинноволновые и менее глубокопроникающие или мягкие рентгеновы лучи.
Жесткость рентгеновского излучения приходится менять, учитывая неодинаковую толщину различных участков тела животных. Чем тоньше объект, тем мягче нужны лучи и чем толще — тем жестче.
При съемке объектов толщиной до 2см нужно пользоваться напряжением не более 60 кВ, толщиной 2-6 см — до 70 кВ, толщиной 6-10 см и более напряжением 70-100 кВ.
Правильность выбора жесткости рентгеновского излучения можно оценить по характерным деталям готовой рентгенограммы.
Мягкие снимки имеют бархатный черный фон. Костная структура хорошо видна лишь в тонких участках скелета. Изображение отделов костей, имеющих большую толщину, не проработано, лишено деталей.
При правильно выбранной жесткости рентгенограмма имеет темно-серый тон. Костная структура хорошо видна на всем протяжении исследуемого отдела скелета. Хорошо видны мягкие ткани, большое количество деталей изображения.
Для снимков, сделанных при завышенном напряжении на трубке, характерен серый фон. Теневых деталей много, но контрастность низкая, поэтому изображение мелких деталей нередко сливается с фоном.
Большое значение при рентгенографии имеет правильный выбор экспозиции, количество электрического тока, прошедшего через трубку за время съемки. Оно находится произведением силы тока мА. на выдержку в сек., выражают экспозицию в мАс.
Правильность выбора экспозиции может быть проверена при визуальном контроле над процессом проявления.
При недостаточной экспозиции изображение анатомических структур, особенно плотных или имеющих значительную толщину (поясничный отдел позвоночника, шея, череп) возникает медленно. Хорошо прорабатываются лишь тонкие участки тела животного, либо имеющие невысокую плотность.
При нормально экспозиции изображение возникает быстро через 40-60 с и завершается через 6-8 минут.
Для завышенной экспозиции характерно быстрое начало и очень быстрое завершение процесса проявления. К концу проявления на снимке имеется значительная вуаль, снижающая качество снимка. Следует помнить, что незначительные колебания экспозиции до 30% практически не отражаются на качестве рентгеновского изображения.
Устройство для определения наличия в предмете кристаллических и поликристаллических материалов

Использование: для определения наличия кристаллических и поликристаллических материалов предмета в объектах, преимущественно в багаже. Сущность изобретения заключается в том, что коллимационно-детекторная система выполнена регулируемой по высоте относительно источника рентгеновского излучения и оба они вместе выполнены регулируемыми по положению в продольном и соответственно боковом направлениях. В коллимационно-детекторной системе предпочтительно предусмотрены лишь по одному коллиматору и детектору. Коллиматор имеет конически расширяющуюся круговую щель, воспроизводящую заданный угол θМ хода лучей рассеянного излучения. Технический результат: повышение скорости определения наличия в объекте кристаллических и поликристаллических материалов. 4 з.п. ф-лы, 3 ил.
Настоящее изобретение относится к устройству для определения наличия в предмете кристаллических и поликристаллических материалов.
Для поиска взрывчатых веществ может быть, в частности, использован рентгенодифракционный анализ, в котором измеряют рассеянное кристаллической структурой рентгеновское излучение и сравнивают его с характерными энергетическими спектрами, например, различных взрывчатых веществ, что позволяет на основании указанного измерения энергии сделать вывод о наличии в объекте взрывчатого вещества, а также о материале взрывчатого вещества.
В DE 19510168 А1 описано соответствующее устройство. В этом устройстве на источнике рентгеновского излучения установлена диафрагма, с помощью которой формируется веерообразный пучок рентгеновских лучей, направляемый на контролируемую зону проверяемого материала. В контролируемой зоне напротив источника рентгеновского излучения симметрично оси центрального рентгеновского луча в плоскости, перпендикулярной веерообразному пучку рентгеновских лучей, расположены щелевые коллиматоры. Рентгеновское излучение детектируется по всей просвечиваемой контролируемой зоне несколькими детекторами.
В ЕР 0354045 А2 описаны устройство и способ, в которых также предусмотрено формирование веерообразного пучка рентгеновских лучей. При просвечивании проверяемого объекта этим веерообразным пучком рентгеновские лучи дифрагируют на кристаллической решетке объекта, что регистрируется в виде энергетического спектра несколькими детекторами.
Еще одно устройство описано в US 4956856. В этом устройстве формируется узкий пучок рентгеновских лучей, который вращающимся диском со спиралевидной щелью направляется на просвечиваемый объект. Этой щелью узкий пучок перемещается по проверяемому объекту в поперечном направлении.
Использование в рентгеновской установке первичного пучка лучей небольшого сечения описано в DE 4101544 А1. При этом рассеянное излучение первичного пучка лучей регистрируется несколькими детекторами и концентрической коллиматорной системой.
В публикации SU 1608526 А1 раскрыто наиболее близкое к изобретению техническое решение, по существу относящееся к устройству для определения наличия кристаллических и поликристаллических материалов предмета в объектах, имеющему электронограф, включающий коллимационно-детекторную систему, состоящую из коллиматоров и детекторов, и ориентированный на нее источник рентгеновского излучения. Однако известное решение относится к рентгеновскому вычислительному томографическому устройству и не приспособлено для быстрого определения наличия кристаллических и поликристаллических материалов в отдельных предметах багажа.
Соответственно, недостаток вышеописанных устройств состоит в том, что для определения всех не разрешенных к провозу предметов багажа сканированию всегда подвергается все место багажа целиком.
Из DE 4130039 А1 известна система для формирования вытянутого пучка рентгеновских лучей. Используемая для этой цели диафрагма состоит из двух ограничительных элементов, которые ориентированы друг относительно друга таким образом, чтобы ограничивать промежуток, соответствующий форме пучка лучей. Эта система предназначена для увеличения охватываемой рентгеновским излучением площади поверхности.
Исходя из вышеизложенного, в основу настоящего изобретения была положена задача разработать такое устройство указанного в начале описания типа, которое позволяло бы быстро определять наличие в отдельном предмете кристаллических и поликристаллических материалов.
Указанная задача решается за счет усовершенствования конструкции ближайшего аналога таким образом, что коллимационно-детекторная система имеет возможность регулирования ее положения по высоте относительно источника рентгеновского излучения с помощью соответствующих приспособлений и возможность синхронного регулирования ее бокового положения вместе с этим источником рентгеновского излучения, для чего источник рентгеновского излучения выполнен с возможностью направленного перемещения в боковом направлении с помощью приспособления, а управление указанными приспособлениями осуществляется компьютером.
Основная идея изобретения состоит в том, чтобы на соответствующей ступени контроля располагать в рентгеновской установке электронограф, включающий коллимационно-детекторную систему и направленный на нее источник рентгеновского излучения, с возможностью регулирования по высоте и в поперечном направлении, что с использованием рентгенодифракционного анализа позволяет определять материал предмета в заданной локальной зоне контроля. С этой целью коллимационно-детекторная система и источник рентгеновского излучения выполнены с возможностью их совместного синхронного регулирования по положению, при этом коллимационно-детекторную систему предпочтительно выполняют регулируемой по высоте относительно источника рентгеновского излучения.
На основании лишь двух известных координат предварительно заданной локальной зоны (например, положения транспортерной ленты и угла) регулируемый по положению электронограф может непрерывно сканировать третью недостающую координату за один измерительный проход. Благодаря этому создается возможность измерять и определять с привязкой к конкретной локальной зоне расположенные на этой линии материалы. На основании трех известных координат предварительно заданной локальной зоны электронограф может целенаправленно наводиться на ту точку, в которой затем будет определен тип материала.
При этом предпочтительно, чтобы регулируемая по высоте коллимационно-детекторная система состояла из юстируемого коллиматора и расположенного за ним детектора. В таком варианте коллиматор может иметь конически расширяющуюся круговую щель, воспроизводящую заданный угол и ориентированную на детектор.
На следующей стадии, зная дифракционный спектр и дополнительно определяемый по среднему значению заряда ядра атомов тип материала, можно получить дополнительную информацию для определения этого материала. С этой целью в коллиматоре с круговой щелью может быть предусмотрено центральное глухое, закрытое со стороны детектора отверстие, в котором последовательно на некотором расстоянии друг от друга расположены два различных детекторных блока и с помощью которого известным образом определяется среднее значение заряда ядра атомов для находящегося в первичном пучке предмета. Этим отверстием коллимационно-детекторная система может быть ориентирована на первичный пучок от источника рентгеновского излучения. Первый детекторный блок может быть выполнен в виде детектора для более низкой, а второй - в виде детектора для более высокой энергии рентгеновского излучения.
Ниже изобретение более подробно поясняется на примере одного из вариантов его выполнения со ссылкой на прилагаемые чертежи, на которых показано:
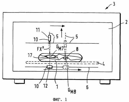
на фиг.1 - схематичное изображение предлагаемого в изобретении устройства,
на фиг.2 - изображение электронографа по фиг.1,
на фиг.3 - еще одно изображение коллимационно-детекторной системы по фиг.2.
На фиг.1 показан просвечиваемый объект 1, который находится в рентгеновской камере 2 контрольной рентгеновской установки 3. Внутри рентгеновской камеры 2 расположен регулируемый по положению электронограф 10. Этот электронограф 10 состоит из коллимационно-детекторной системы 11 и источника 12 рентгеновского излучения. Коллимационно-детекторная система 11 ориентирована на рентгеновский луч FX'. который предпочтительно представляет собой узкий первичный пучок, излучаемый указанным источником 12 рентгеновского излучения, который предпочтительно располагать в рентгеновской камере 2 под транспортером 4. Коллимационно-детекторная система 11 выполнена регулируемой по положению с возможностью ее одновременного перемещения по высоте и в боковом направлении (в направлениях Z и Y), для чего предусмотрены не показанные более подробно приспособления 5. Вместе с этим источник 12 рентгеновского излучения также выполнен регулируемым в боковом направлении с возможностью перемещения в направлении Y, для чего служит приспособление 6, на котором он закреплен. Направленное перемещение коллимационно-детекторной системы 11 источника 12 рентгеновского излучения происходит синхронно, для чего предусмотрено централизованное управление приспособлениями 5 и 6, например прямолинейными направляющими с приводом от ходового винта. Такое перемещение может координировать не показанный на чертеже компьютер. Просвечиваемый объект 1 с его предметами 7, 8 находится на транспортере 4.
На фиг.2 более подробно показан электронограф 10.
Коллиматор 13 имеет круговую щель 15, которая имеет форму усеченного конуса и которая выполнена таким образом, чтобы пропускать только ту часть рассеянного излучения, идущего от контролируемой точки GM7 предмета 7 в объекте, которая падает под определенным углом θM. Таким образом, рассеянное излучение FX", поступающее под углом рассеяния θM, регистрируется расположенным за коллиматором 13 детектором 14, а именно его чувствительной к энергии излучения поверхностью 14.1. Для получения первичного пучка FX' перед источником 12 рентгеновского излучения установлена диафрагма 16, например точечная диафрагма.
При падении первичного пучка FX' на материал этот пучок FX'. как известно, частично отклоняется кристаллической решеткой материала (закон Брэгга) и выходит из материала в виде рассеянного излучения FX". В результате по энергетическому спектру, полученному чувствительным к энергии излучения детектором 16, можно определить кристаллическую структуру материала, а тем самым идентифицировать и сам материал. Подобным образом можно, в частности, распознавать и различать также взрывчатые вещества.
Если на более низкой ступени контроля известна информация о положении, например, предметов 7 и 8 по двум пространственным координатам (например, положение транспортерной ленты и угол), то недостающую координату необходимо в каждом случае определять непрерывным сканированием с помощью измерительного прохода. С этой целью транспортер 4 и коллимационно-детекторную систему 11 каждый раз переводят в начальное положение, соответствующее предмету 7. Отсюда начинается измерительный проход, заключающийся в перемещении указанной системы 11 по высоте и при необходимости вбок синхронно с источником 12 рентгеновского излучения в направлении недостающей координаты. Сигналы, воспринимаемые детектором в течение измерительного прохода, запоминаются в одном или нескольких энергетических спектрах и известным образом сравниваются в компьютере с известными энергетическими спектрами. Это позволяет путем сравнения определить тип материала, прежде всего материал взрывчатого вещества.
Если положение предварительно определенных точек GM7 и GM8 в трех пространственных координатах известно, то коллимационно-детекторную систему 11 и источник 12 рентгеновского излучения электронографа 10 последовательно смещают в точки GM7 и GM8. Отклоняемое кристаллической решеткой предметов 7 или 8 рассеянное излучение FX" источника 12 рентгеновского излучения улавливается круговой щелью 15 коллиматора 13. Дополнительное перемещение коллимационно-детекторной системы 11 во время соответствующего измерения не является необходимым.
Существует также возможность комбинировать информацию о координатах, полученную на более низкой ступени контроля, с дополнительной пространственной информацией, полученной на более высокой ступени контроля, расширив ее при необходимости за счет использования нескольких измерительных проходов, и таким образом определять объем и точное пространственное расположение, например, предмета 8 в объекте 1.
Предпочтительный вариант выполнения коллиматора 13 с круговой щелью представлен на фиг.3. При этом в коллиматоре 13 предпочтительно предусмотреть центральное глухое отверстие 17. Глухой конец этого отверстия 17 расположен со стороны установленного за ним детектора 14. В отверстии 17 расположен первый детекторный блок 21, а за ним и на определенном расстоянии от него - второй детекторный блок 22. Первый детекторный блок 21 выполнен в виде детектора для более низкой, а второй детекторный блок 22 - в виде детектора для более высокой энергии рентгеновского излучения. При такой конструкции с помощью этого коллиматора 13 можно, например, дополнительно проводить обычное обнаружение материалов путем определения средней величины заряда ядра атомов у материала предмета 7 или 8. Комбинирование указанной величины заряда ядра с полученным энергетическим спектром позволяет более надежно идентифицировать материал предметов 7 или 8. Такая возможность имеет особое значение прежде всего в тех случаях, когда предметы 7 или 8 содержат материал с высокой поглощающей способностью. Так, в частности, часто более низкая энергия центрального пучка FX' поглощается этим материалом, в результате чего в измеренном энергетическом спектре отсутствуют соответствующие дифракционные линии. Информацию об их отсутствии вместе с результатом дополнительного определения материала можно вводить в компьютер для их учета в сравнительном анализе.
Кроме того, детекторные блоки 21, 22, которые можно выполнить, например, в виде квадрантных детекторов, позволяют с высокой точностью пространственно наводить (юстировать) коллимационно-детекторную систему 11 на источник 12 рентгеновского излучения. Саму юстировку при этом производят без присутствия объекта 1 между коллимационно-детекторной системой 11 и источником 12 рентгеновского излучения. Для этой цели в показанном на фиг.2 коллиматоре 13 предусматривается указанное дополнительное отверстие 17 с детекторными блоками, что для упрощения на фиг.2 подробно не показано.
Очевидно, что в изобретение можно вносить различные изменения, не выходя при этом за его объем. Так, например, можно использовать и другие электронографы 10, например такие, которые известны и описаны в уровне техники, при этом необходимо предусматривать возможность регулирования электронографа 10 по положению, как это, например, рассмотрено в настоящем описании.
1. Устройство для определения наличия кристаллических и поликристаллических материалов предмета в объектах, преимущественно в багаже, имеющее электронограф, включающий коллимационно-детекторную систему, состоящую из коллиматоров и детекторов, и ориентированный на нее источник рентгеновского излучения, отличающееся тем, что коллимационно-детекторная система (11) имеет возможность регулирования ее положения по высоте относительно источника (12) рентгеновского излучения с помощью соответствующих приспособлений (5) и возможность синхронного регулирования ее бокового положения вместе с этим источником рентгеновского излучения, для чего источник (12) рентгеновского излучения выполнен с возможностью направленного перемещения в боковом направлении с помощью приспособления (6), а управление указанными приспособлениями (5, 6) осуществляется компьютером.
2. Устройство по п.1, отличающееся тем, что коллимационно-детекторная система (11) состоит из коллиматора (13) и расположенного за ним детектора (14), при этом коллиматор (13) имеет конически расширяющуюся круговую щель (15), воспроизводящую заданный угол (θМ) и ориентированную на детектор (14).
3. Устройство по п.2, отличающееся тем, что коллиматор (13) имеет центральное глухое, закрытое со стороны детектора (14) отверстие (17), в котором на определенном расстоянии друг от друга последовательно расположены два детекторных блока (21, 22).
4. Устройство по п.3, отличающееся тем, что первый детекторный блок (21) выполнен в виде детектора для более низкой, а второй детекторный блок (22) выполнен в виде детектора для более высокой энергии рентгеновского излучения.
5. Устройство по п.2, отличающееся тем, что коллимационно-детекторная система (11) ориентирована отверстием (17) на первичный пучок (FX') от источника (12) рентгеновского излучения.
Читайте также:
