Синдромы свойств нервной системы
Свойства нервной системы - ее природные, врожденные особенности, влияющие на индивидуальные различия в формировании способностей и характера (Павлов). 
Основные свойства нервной системы (Павлов): 
1) Сила нервной системы - показатель работоспособности, выносливости нервных клеток при воздействии на них повторяющихся или сверхсильных раздражителей. Основной признак силы нервной системы по отношению к возбуждению - способность нервной системы выдерживать, не обнаруживая запредельного торможения, длительное или часто повторяющееся возбуждение. Чем больше сила нервной системы, тем выше пороги чувствительности. Основной признак силы нервной системы по отношению к торможению - способность выдерживать длительное или часто повторяющееся действие тормозного раздражителя. 
Теплов: сила нервной системы проявляется не в том, какова продуктивность деятельности данного человека, а в том, какими способами и при каких условиях он достигает наибольшей продуктивности. 
2) Уравновешенность (или баланс нервных процессов) - соотношение основных нервных процессов (возбуждения и торможения), вовлеченных в выработку положительных или отрицательных условных рефлексов. 
3) Подвижность нервных процессов - скорость переделки знаков раздражителей и скорость возникновения и прекращения нервных процессов. Способность нервной системы быстро реагировать на изменения среды, способность перехода от одних условных рефлексов к другим в зависимости от среды. 
Основной признак этого свойства - быстрота выработки условных рефлексов и дифференцировок. Также из свойства подвижность выделяют свойство лабильность - скорость возникновения и прекращения нервного процесса. 
Характеристика отдельных свойств нервной системы: сила нервной системы.
Сила нервной системы — одно из основных свойств нервной системы, отражающее предел работоспособности клеток коры головного мозга, то есть их способность выдерживать, не переходя в тормозное состояние (торможение), либо очень сильное, либо длительно действующее (хотя и не сильное) возбуждение.
Согласно Теплову и Небылицыну. Сила нервной системы характеризуется также чувствительностью анализаторов: более слабая нервная система является и более чувствительной, то есть она способна реагировать на стимулы более низкой интенсивности, чем сильная. В этом заключается преимущество слабой нервной системы перед сильной. Ценность подобного подхода состоит в том, что он снимает существовавшее ранее оценочное отношение к свойствам нервной системы, то есть приписывание одному полюсу свойства положительного, другому — отрицательного значения. На каждом полюсе признается наличие и положительных, и отрицательных сторон. Исследованиями Небылицына из синдрома силы нервной системы был выделен синдром нового свойства нервной системы — динамичность.
Характеристика отдельных свойств нервной системы: подвижность, лабильность и баланс нервных процессов.
Выделенное Павловым свойство подвижности нервных процессов стало в дальнейшем, как отмечал Теплов, оцениваться как более многозначное. Поэтому он выделил следующие особенности нервной деятельности, характеризующие быстроту функционирования нервной системы:
1) быстроту возникновения нервного процесса;
2) быстроту движения нервного процесса (иррадиация и концентрация);
3) быстроту исчезновения нервного процесса;
4) быстроту смены одного нервного процесса другим;
5) быстроту образования условного рефлекса;
Изучение взаимосвязи между этими проявлениями быстроты функционирования нервной системы, проведенное в лаборатории Теплова, позволило выделить два главных фактора: лёгкость переделки значения условных раздражителей (положительного на отрицательный и наоборот) и быстроту возникновения и исчезновения нервных процессов. За первым фактором Теплов оставил название подвижность, а второй обозначил как лабильность.
В последние два десятилетия больше изучаются показатели группы лабильности, т. е. быстрота развития и исчезновения нервных процессов. Исходя из того, что лабильность предполагает быстроту развития нервного процесса и быстроту его исчезновения, наметились три методических подхода в изучении функциональной подвижности (лабильности):
1) выявление быстроты возникновения возбуждения и торможения;
2) выявление быстроты исчезновения возбуждения и торможения;
3) выявление максимальной частоты генерации нервных импульсов, зависящей как от первого, так и от второго.
Изучение быстроты развития нервных процессов значительно усложнено тем, что она зависит от уровня активации покоя, т. е. от того, какова нервная система у обследуемого  слабая или сильная.
Баланс нервных процессов
В психологии при измерении баланса нервных процессов у человека используются: число переводов и недоводов при воспроизведении на основе проприорецепции (при выключении зрения) амплитуды движений, а также временных отрезков. Наличие переводов свидетельствует о преобладании возбуждения, а наличие недоводов — о преобладании торможения.
Особенностью изучения баланса между возбуждением и торможением по их величине является то, что о нем судят по интегральной характеристике, результирующей противоборства этих двух процессов (или систем реагирования — возбудительной и тормозной). Таким образом, у разных людей сравниваются не выраженность возбуждения или торможения, а какой из процессов берет верх над другим. Поэтому теоретически одна и та же типологическая особенность у двух субъектов (например, преобладание возбуждения над торможением) может базироваться на разных уровнях выраженности того и другого. Так, у одного субъекта преобладание возбуждения над торможением происходит при высокой интенсивности обоих, а у второго преобладание возбуждения может наблюдаться при слабой их выраженности.
Было обнаружено, что баланс, как и сила нервной системы, связан с уровнем активации покоя. Однако если для силы нервной системы такая связь имеет линейный характер (чем слабее нервная система, тем выше активация в покое), то для баланса — криволинейный: уровень активации выше у лиц с уравновешенностью возбуждения и торможения и ниже у лиц с преобладанием возбуждения и торможения.
Какое соотношение между возбуждением и торможением проявится у данного человека, зависит от его типа реагирования на ситуацию: у одних типичная — возбудительная реакция, у других — тормозная, у третьих же возникает индифферентная реакция или вообще таковая отсутствует, поэтому у них проявляется базовое соотношение между возбуждением и торможением, т. е. их уравновешенность.
Дата добавления: 2018-04-15 ; просмотров: 599 ;

Все люди абсолютно разные. У каждого свои слабые и сильные стороны, все по-своему реагируют на одну и ту же ситуацию. Во многом особенности характера человека зависят от свойств нервной системы. Так давайте же разберемся, какие они бывают и как влияют на формирование личности.
Что это такое?
Свойства нервной системы - это термин, предложенный русским ученым И. П. Павловым, который характеризует прирожденные черты реагирования и функционирования нервной системы. Эти черты определяют то, как она реагирует на условия окружающей среды, поведение человека.
Совокупность всех свойств нервной системы получило название фенотипа. Именно на основании данного понятия ведет работу с человеком психолог. Хотя фенотип и является генетически обусловленным, он может меняться в зависимости от условий окружающей среды.

Основные свойства нервной системы
И. П. Павлов в своей классификации изначально охарактеризовал три основных свойства:
- сила;
 - уравновешенность;
 - подвижность.
 
При дальнейшем изучении нервной системы к этим свойствам добавили еще три новых:
- динамичность - способность головного мозга быстро реагировать на меняющиеся условия окружающей среды, а именно на процессы возбуждения и торможения его структур; основная его характеристика - быстрота формирования условных рефлексов у индивидуума;
 - лабильность - скорость, с которой появляется и прекращается новый процесс;
 - активность - обозначает, насколько легко в головном мозге активируются процессы торможения и возбуждения.
 

Сила нервных процессов
Одним из главных свойств нервной системы, определяющих дальнейшее развитие характера и темперамента, является сила нервных процессов. Это свойство показывает, насколько нервная система может противостоять действию раздражителей извне.
Основная характеристика силы нервных процессов - как долго нервная система может продержаться без запредельного торможения при длительно воздействующем на нее внешнем раздражителе. Такой должна быть нормальная реакция по отношению к возбудителю.
Если же речь идет о тормозящем нервную систему процессе, тогда основной характеристикой силы будет способность выдерживать продолжительное воздействие этого раздражителя.
Помимо того, физиологи утверждают, что сила характеризуется не продуктивной деятельностью человека, а теми способами, которыми он может добиться наибольшей своей активности.
На основе этого свойства формируются такие черты характера человека, как:
- выносливость;
 - смелость;
 - способность адаптироваться, то есть приспосабливаться, к меняющейся внешней среде;
 - впечатлительность.
 

Уравновешенность и подвижность нервных процессов
Двумя другими основными составляющими природных свойств нервной системы являются уравновешенность и подвижность.
Уравновешенность - это баланс, или равновесие, между возбуждением и торможением (основными нервными процессами). Если реакция человека динамична, ему легко успокоиться, отрешиться от ненужных мыслей. Для таких людей не составляет труда побороть глупые желания и трезво оценить ситуацию. Уравновешенность плавно сочетает в себе такие черты характера человека, как концентрация внимания и отвлекаемость.
Подвижность - это скорость появления новых и исчезновения старых нервных процессов. Способность определяется ее возможностью быстро адаптироваться к новым изменениям окружающей среды, менять одни условные рефлексы на другие.
Человеку с подвижными нервными процессами легче избавляться от старых стереотипов, ярлыков, проще открывать себя чему-то новому. У таких людей очень хорошая память, им свойственна быстрая речь. При низкой подвижности процессов индивидууму нелегко находится в незнакомой для него ситуации, обретать новые навыки. Он предпочитает находится в родной для него среде обитания.
Основные уровни
В психологии выделяют отдельную иерархическую классификацию свойств нервной системы. Всего выделяют три уровня:
- верхний - свойства всего головного мозга, его влияние на весь организм;
 - средний - свойства отдельных структур мозга и целостных групп, которые образуют эти структуры;
 - нижний - свойства отдельных нервных клеток (нейронов).
 
Все эти уровни не изолированы, а находятся в постоянном взаимодействии между собой. Мало изучено, как каждый из них связан с характером человека и его психическими процессами.

Типы нервной системы
На основе различных комбинаций нервных процессов охарактеризованы четыре типа свойств нервной системы человека:
- сильный безудержный - его нервные процессы несбалансированные, при чем возбуждение значительно преобладает над торможением;
 - сильный живой - отличается неуравновешенной и крайне подвижной реакцией, возбуждение быстро переходит в торможение, и наоборот;
 - сильный спокойный - его нервные процессы уравновешенны, однако, практически неподвижны;
 - слабый - возбуждение, как и торможение, развиты слабо; клетки коры характеризуются низкой работоспособностью.
 
Лучше всего изучен первый тип, так как именно в нем наиболее ярко выражены все свойства нервной системы. А хуже поддается исследованию, соответственно, слабый тип.

Особенности характера при разных типах нервной системы
Как же меняется поведение индивидуума в зависимости от его характеристики свойств нервной системы? Человек с сильной нервной системой способен быть работоспособным на протяжении длительного времени, даже выполняя действительно тяжелую работу. Устав, он не требует много времени на отдых. Такой человек быстро восстанавливается, в критических ситуациях не паникует, а трезво оценивает обстановку.
Индивидуум со слабым темпераментом - более чуткий и эмоционально лабильный, то есть реагирует даже на незначительные стимулы. Такому типу людей легче выполнять однообразную работу, так им проще запоминать информацию. У них есть возможность развиваться - устойчивость у такой личности приобретается со временем. Однако если двух динамично натренированных людей сильного и слабого типа поставить в одни и те же условия, генетическая предрасположенность даст о себе знать.

Типы темперамента
Типы нервной системы, перечисленные выше, соответствуют четырем видам темперамента:
- холерик - с сильными и безудержными нервными процессами;
 - сангвиник - обладает стойкими и живыми функциональными характеристиками;
 - флегматик - сильный и спокойный тип нервных процессов;
 - меланхолик - наиболее слабый.
 
Кроме того, помимо перечисленных выше типов нервной системы, выделяют также другую ее классификацию:
- мыслительный тип;
 - художественный тип.
 
В основу этого разделения положено взаимодействие двух сигнальных систем человека. Именно это служит ведущим фактором того, в каком направлении будет развиваться индивидуум. Так, для мыслительного типа характерна преимущественная активность второй сигнальной системы, а для художественного - первой. Люди, рожденные с хорошей выработкой условных рефлексов, имеют больше шансов стать математиками, филологами, физиками и другими учеными. У личностей с художественным типом чаще наблюдается талант к писательству, музыке или живописи, то есть это люди творческой профессии.
Итак, наш характер, то, как мы реагируем на определенные ситуации, какие решения принимаем, во многом зависит от унаследованных от родителей свойств нервной системы. Однако, какой бы тип рефлекторных реакций ни был закодирован в нашем ДНК, любой из этих процессов более или менее эластичен. Их меняют воспитание, привычки, ситуации, в которые мы попадаем. Все, что с нами происходит, оставляет в нас определенный отпечаток, меняя функционирование всей нашей нервной системы.
Перерыв – 10 минут.
Темперамент – это врожденное свойство организма. Если мы зададим вопрос: в рамках какого подхода прежде всего изучается темперамент? Ответ здесь возможен только в рамках диагностических. Потому что темперамент – врожденное свойство организма, и кто-то обязательно вспомнит сейчас, что первым исследователем темперамента был Гиппократ. Фактически – исследование вопроса – что является врожденным основанием.
Темперамент – это формально динамическая сторона любой деятельности субъекта. Т.е. способность всегда специфична. Это способности к чему-то, к определенной области нашей жизни. Темперамент – напротив – свойство неспецифическое, касается любой деятельности субъекта. Гиппократ определяет темперамент по сочетанию жидкостей в теле человека (гуморально – жидкостно).
Второе врожденное основание, которое мы обязательно посмотрим, но в следующей, девятой теме (где будем говорить о типологиях индивидуальности), это – соотнесение темперамента, причем рядом поставим термин и характер. Основанием для темперамента или характера считают телесную конституцию[309], телосложение. Это еще одна возможность изучать врожденные основания для темперамента.
И все-таки в современной психологии и психофизиологии[310]таким основанием являются свойства нервной системы. Свойства нервной системы. и мы сейчас начинаем с азбуки проблемы темперамента – с типологии, предложенной когда-то И.П.Павловым. Имя известно, известны некоторые представления. а в данном случае интересно, как физиолог начинает выделять психологические типы темперамента. [В соответствии с нашим сегодняшним праздником] типологию Павлова [изложим] истинно по-солдатски – по шагам.
Шаг 1. Выделение основных свойств нервной системы. (Шагов всего будет 3).
 

Павлов работал на рубеже веков – во многом сегодня его аргументация, методы аргументации обновлены.
1. Три свойства выделяет Павлов, а мы свойство первое будем именовать как некоторый бинарный фактор, разделение. Первое свойство именуется – сила/слабость нервной системы. Сила нервной системы – это устойчивость к длительному воздействию раздражителя. И поскольку говорим о Павлове, вспоминаем, что у него в теории особенным различением, которое касается всего, [в том числе] и данного свойства – раздражение/возбуждение – к раздражителю возбуждающего и тормозного (т.е. любого) типа. Сегодня сказали бы – толерантность, устойчивость. Сила.
2. Свойство 2. Тоже будет иметь 2 полюса. На одном – уравновешенность (баланс), на другом – неуравновешенность.
Уравновешенность нервной системы – это ее способность к переходу от возбуждения к торможению в критической ситуации.
И тогда маленький пример, который здесь не повредит. Павлов: на кожу собаки мы помещаем вибратор, и определенная вибрация связана, например, с процессом возбуждения. Вырабатывается условный рефлекс возбуждения. на определенную вибрацию. Затем берем другую частоту, близкую к первой, и вырабатываем тормозный рефлекс, тормозную реакцию. И наконец – что такое критическая ситуация? Две частоты близки: одна – [связана] с возбуждением, другая – с торможением[311].
Меняем постепенно частоту. Какие последствия? Их два. Одно состоит в том, что наш субъект плавно переходит от одной реакции к другой, иными словами, его поведение не нарушается. Эта критическая ситуация не приводит к разрушению поведения.
Тогда говорим: имеет место уравновешенность. Иначе – сшибка, сшибка двух реакций. И две реакции приходится переживать как бы одновременно – нет дифференциации между частотами, и возникает разрушение поведения. Тогда мы имеем дело с отсутствием баланса нервной системы. Неуравновешенность.
3. И последнее, третье свойство. Если в одно слово – его надо назвать подвижность. Если в два: подвижность-инертность[312]. Подвижность – это чисто темповая характеристика – скорость образования новых условных связей или скорость перехода от возбуждения к торможению.
Это был первый шаг.
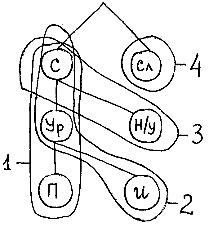
Второй шаг. Построение общих типов нервных систем. Давайте попробуем рассуждать вместе с Павловым. Он получил [набор свойств]. Он их выявил эмпирически, по спец методикам. Если теперь он будет сочетать эти свойства теоретически – построит граф – получит. количество сочетаний. Но его задача состоит в том, чтобы построить действительные типы нервных систем, т.е. эмпирически достоверные. И поэтому он действует так. Он берет свойство и начинает свою типологию Берет и начинает различать – вот сила и слабость нервной системы.

Сильный и слабый – типы нервной системы. Пора брать вторую характеристику. Но где ее применять? Имеет ли смысл применять второе свойство к слабому типу? Павлов отвечает: у слабого типа нет даже устойчивости к длительному действию раздражителя, критическая ситуация не характерна для данного типа изначально. ([Иными словами,] стоит ли устраивать сшиб носителям слабого типа нервной системы? Едва ли.) И поэтому мы применяем второе свойство как различительное только к сильному типу. Здесь мы говорим – уравновешенность/неуравновешенность.
Тогда он обращается к третьему свойству: стоит ли прим третье свойство к неуравновешенным, где нет самой возможности перехода от возбуждения к торможению? Стоит ли говорить о скорости перехода там, где нет самой возможности перехода? И поэтому только к уравновешенным Павлов применяет третье различение – подвижность-инертность.
Второй этап закончен И для Павлова он сразу же превращается в третий.
[Шаг] 3. Называние типов. Соотнесение типов нервных систем с определенной поведенческой картиной.
Сколько типов мы здесь находим?
Сильный – Уравновешенный – Подвижный. Первый тип. Он сразу получает название – сангвиник.
С – У – Инертный – флегматик.
С – Н/У – холерик.
Сл – меланхолик.
Как только возникли типы нервных систем, они были соотнесены с типами темперамента. Темперамент – это и некоторая поведенческая память.
Возникает проблема (в инженерной, индустриальной психологии) соотнесения типов нервных систем и типов поведения.
Рассмотрим обе эти проблемы.
1. Проблема перехода от свойств к типам возникает как таковая уже в современной . психологии.
Снова появляется имя Теплова и его яркого ученика Небылицын. Остался в истории изучения темперамента – автор статей в медиц. Погиб в 42 года. Прискорбно, поскольку его концепция темперамента во многом отличалась от павловской и тепловской.
Об этой проблеме мы беседуем коротко, потому что это – соседняя область – дифференциальная психология.
Теплов в 50-60-е годы становится автором многих методик по изучению отдельных свойств нервных систем. Что делает Теплов как исследователь? Пересматривает первый этап, возвращает к первому этапу. Слишком жестко, однозначно были определены свойства. Методик изучения становится все больше и больше. И тогда (как и [в случае] со способностями) необходимо объединить методики и стоящие за ними свойства с помощью факторного анализа.
Что делал Теплов? Даже вот эти эмпирически выявленные типы нервных систем тепловских исследований не получили достаточной верификации. Он стал сомневаться и имел на это право – надо выделять как отдельное свойство уравновешенность. У него качественную разницу получило такое свойство как подвижность. Наряду с подвижностью – лабильность[313]– гибкость нервной системы при выполнении тек задачи. Грубо: методик стало больше – типы утратили чистоту. Это есть, и тогда какое-то понятие должно придти на смену типа. Он заменяет понятие тип понятием синдром свойств нервной системы. Синдром. Тоже словечко многозначное. Синдром – это совокупность свойств нервной системы, коррелирующих между собой.
Теплов – путем снизу, снизу вверх – от конкретных методик к обобщению и результат[у]. Вместо того, чтобы называть чистые типы, Теплов предпочитает – взять свойство силы и назвать – не свойство силы, а синдром свойств силы нервной системы. Иными словами – картинка, которая у нас еще не раз будет повторяться.

[Такие] свойства силы как устойчивость, толерантность становятся центральными. А в свою очередь становятся главными для образования синдрома свойств, группы. Среди вторичных свойств по отношению к силе коррелирующие с ней – высокие зрительные и слуховые пороги. Обладатели сильной нервной системы – люди с низкой чувствительностью. Параллельно возникают психологические выводы.
У Павлова слова сильная/слабая нагружены дополнительным смыслом (лучше иметь сильную нервную систему, чем слабую).
Теплов устраняет – нет однозначности. Если сила, толерантность – хорошо в одних ситуациях, то со слабой – высокая чувствительность – лучше в других ситуациях. Теплов – [есть] тип и возник[ают] синдромы.
Теплов идет снизу вверх, и не так идет Небылицын – обобщ. путь выделения темперамента без выделения типов.
Небылицын: не следует выделять типы с одной стороны, но и не следует выделять отдельные частные свойства. В анализе темперамента нужно идти от некоторых глобальных, фундаментальных его характеристик.
60-е гг. А это годы в разных странах – годы исследования нервной системы: анатомии, функциональных структур.
Небылицын: следует выделять основные характеристики темперамента как функции анатомических структур. И он выделяет – в одних описаниях две, в других – три. Пусть у нас будет 1а, 1б и 2.
1а) Общая неспецифическая активность субъекта. 60-ее гг. Разные физиологи в мире обнаружили и описали анатомическую структуру в коре и подкорке – ретикулярную формацию[314]. Ее условно назвали – энергетический центр. Небылицын довольно легко подвинул (отставил в сторону) понятия – подвижность, лабильность. Он смотрел по крупному: энергетическая активность.
1б) Общая двигательная активность организма. Именно в эти годы психогенетики установили кто выигрывает на КИ. Выигрывает тот, у кого большая энергетика, кто может совершить большее количество движений в единицу времени.
2. И вторая характеристика по Небылицыну. Эмоциональность в вот каком смысле – тогда же – специально описали участки корковых и подкорковых центров, которые отвечают за дан. психические функции – эмоциональный мозг – лобно-лимбическая кора[315], отделы гиппокампа[316], гипофиз[317], найдена анатомическая структура, которая отвечает за эмоциональный контакт человека со средой.
В русском языке есть два смысла слова чувствительность. С одной стороны – органы чувств – способность к ощущению, а с другой – это как раз и есть эмоциональность. Одно слово – два смысла, и редкий случай, когда оба смысла совпадают. Высокая чувствительность и, можно сказать, – высокая чувственность организма.
Таково решение первой проблемы, решение проблемы перехода от свойств к типам.
2. Проблема перехода от нервной системы к типам поведения. Москвичи не первые специалисты в области дифференциальной психологии. Петербуржцы! И мы еще будем упоминать их. Есть еще один центр – Пермь, где когда-то работал ученик Павлова, аккуратный продолжатель его исследований по фамилии Мерлин. У него было немало учеников, одним из которых сегодня является декан факультета психологии МГУ. Это – индустриальный психолог Евгений Александрович Климов
Хотелось бы показать то, как человек, который начинает с физиологии и психофизиологии, переходит к психологическим понятиям.
Переход о типов нервной системы к типам поведения.
Если этой проблемой интересуется индустриальная психология – психология труда, она говорит не просто о поведении, а о профессиональной деятельности человека.
В 60-е гг Климов вводит понятие – индивидуальный стиль[318] деятельности профессиональной деятельности человека. Индивидуальный стиль деятельности – это совокупность способов освоения и осуществления определенной профессиональной деятельности, достигнутых при оптимальных условиях и высокой мотивации.
 
Структура индивидуального стимула может быть проиллюстрирована с помощью расходящихся концентрических окружностей. Состоит из ядра. трудно настоящему дифференциальному психофизиологу изменить своему подходу. здесь опять будет ядро.
Лет 10 назад вызывало улыбку второе слово. То, что является оболочкой ядра называется пристройка.
Что имеется в виду конкретно? Ядром является тип нервной системы, который по Павлову и есть определенный темперамент. Пристройка определяется характером той деятельности, которую осваивает субъект. Пристройка определяется характером деятельности. Здесь как бы новые веяния, которые нам уже знакомы по тепловскому представлению способности.
Ядро и пристройка. Здесь есть два варианта отношения между ними – классический и современный. Более ясен классический. Такой – если человек по темпераменту, например, обладает высокой неспецифической активностью (подвижностью, по Павлову). Возникает героиня индустриальной психологии – швея-мотористка. Куда человеку с таким ядром. (и библиотекари).
И возникает второй вариант отношений.
Эти исследования тоже относятся к тепловской школе, и одно из них: людям с сильным и слабым типами нервных систем дается одно задание, которое нужно выполнять в течение 40 минут. Задание: считать в уме и записывать результат. Говорят: а в чем собственно будет результат. когда количественный результат фактически отсутствует.
По всем ожиданиям, конечно, сильные должны победить. Результат такой: никто по общей продуктивности не выиграл. Несколько выше по общей продуктивности – люди со слабым типом нервной системы. К получасу, 35 минутам – резко снижали продуктивность. Но в целом – продуктивность более высокая, чем у людей с сильным типом нервной системы.
Вывод: есть и обратное влияние. Не то что влияние пристройки на ядро. той деятельности, которую осваивает человек, на его исходные свойства нервной системы. Это влияние – компенсация, компенсаторное влияние, т.е. влияние, которое как бы снимает, компенсирует, преобразует, изменяет и т.д. особенности ядра.
Характер и его формирование.
Пусть у нас третий вопрос первой темы будет очень коротким, потому что девятая тема также будет посвящена характеру.
Читайте также:


