Мрт позвоночника без контраста покажет опухоль
Контрастное МРТ-сканирование дополняет нативную томографию. Большинство мягкотканых опухолей головного и спинного мозга визуализируется при бесконтрастном исследовании. Внутри патологического очага накопление контрастного вещества отслеживается для оценки структуры, размеров новообразования, выявления метастатических очагов.
Видно ли опухоль на МРТ без контраста
Онкологи не верят в 100% специфичность магнитно-резонансной томографии при выявлении злокачественных новообразований. Для качественной диагностики нужно контрастирование, позволяющее оценить характеристики дополнительного очага. Опухоли имеют собственные сосуды.
Объясняя, для чего вводят контрастное вещество, укажем на важность дополнительной информации, получаемой после внутривенного введения препаратов гадолиния. Соли этого редкоземельного металла являются парамагнетиками, усиливающими видимость сосудов. Интенсивность микроциркуляции изменяется в зависимости от вида образования.
Разработано 3 методики контрастирования при МРТ:
- Классическая – обычная внутривенная инъекция с томографией через 5-20 секунд (в зависимости от области исследования);
- Болюсная – последовательное дозированное введение с помощью автоматического шприца или капельницы;
- Динамическая – синхронизация изготовления томограмм во время максимального насыщения исследуемой области контрастом.
В большинстве случаев МРТ без контраста покажет опухоль, так как существует ряд признаков, позволяющих достоверно выявить злокачественное или доброкачественное образование:
Каждый опухолевый очаг на бесконтрастной томограмме имеет особенности. К примеру, перифокальный отек при невриноме выражен незначительно. При менингиомах ширина отечности – около 2 см. Отсутствие перифокальной реакции наблюдаются при холестеатоме.
Опытный врач лучевой диагностики выявит новообразование после исследования без контраста путем правильного подбора нескольких факторов:
- Напряженности магнитного поля;
- Шаг между срезами;
- Использование дополнительных режимов (подавление жира, градиентное эхо).
Ответим заранее на вопрос, лучше с контрастом или без него диагностировать опухоль при МР-сканировании. Только комплексное обследование позволяет получить полную информацию о патологическом узле. Контрасное усиление – дополнительный метод, повышающий информативность и точность диагностики.
Высокопольная томография обладает высоким разрешением. Чем сильнее магнитное поле, тем более мелкие детали визуализируются на срезах. На практике для онкопоиска не применяется оборудование мощностью менее 1,5 Тесла.
Опухоли на МРТ без контраста
Усиленный сигнал на Т1, Т2 взвешенных томограммах формируют опухоли-астроцитомы (протоплазматические и фибриллярные). Сложно выявить при бесконтрастном сканировании пилоцитарные разновидности из-за схожести сигнала с веществом головного мозга. Только при отложении солей кальция внутри образования при нативном обследовании можно заподозрить опухоль.
Более плотная ткань, чем основное вещество мозга, прослеживается при микроаденомах гипофиза. Данные новообразования выявить не сложно из-за специфического расположения в области турецкого седла (анатомическая структура черепа).
Для обнаружения краниофарингиом требуется практический опыт. Образование на изображении сливается с мозговым веществом, но при контрастировании имеет пестрый вид и мелкокамерную структуру.
Отдельная тема – накапливают ли контраст подкожные метастазы. Очаги располагаются внутри жировой клетчатки. При бесконтрастном МР-исследовании в режимах с подавлением жира можно отследить усиление сигнала при очагах более 5 мм, но инъекция хелатов гадолиния выявляет метастатические очаги с высокой достоверностью.
Надеемся, приведенная информация подробно объясняет, зачем делать томографию с контрастным усилением.
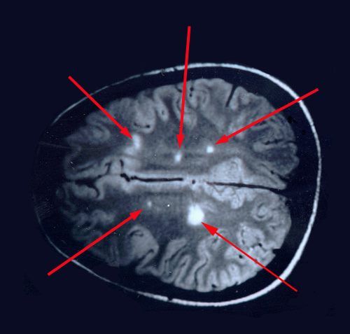
Особенности МРТ диагностики рассеянного склероза с контрастом и без него
Разрушение оболочки нервного волокна (демиелинизация) на начальной стадии размерами 1-5 мм не определяется при бесконтрастном сканировании.
Рассеянный склероз на МРТ без контраста – что показывает:
- Слияние очагов между собой приводит к увеличению демиелинизирующих зон. Такие дефекты можно отследить на томограммах;
- Паравентрикулярное расположение бляшек;
- Выраженность воспалительного процесса.
Преимущество МРТ перед иными методами обследования — возможность определить онкологию с самой ранней стадии заболевания и не только выявить метастазы, но и визуализировать их при локализации вне основного очага.
Послеоперационное сканирование позволяет уточнить влияние хирургического воздействия на основной очаг заболевания. Может ли МРТ показать рак еще до того, как малигнизированные атипичные клетки накопились в лимфоузлах? Какие перспективы в онко-диагностике открывает магнитно-резонансная томография?
МРТ в диагностике онкологических заболеваний
Можно ли на МРТ увидеть рак? Да — на самой ранней стадии, пока атипичные клетки еще не начали разрастаться. МРТ определяет рак в очагах, размеры которых еще не достигли 1 мм, то есть до появления новообразования. Если во время сканирования были визуализированы симптомы, указывающие на развитие опухоли, процедуру можно прервать и ввести контраст, чтобы уточнить топографию опухоли и стадию ее развития.
Отметим, что ответ на вопрос, видно ли опухоль на снимке, зависит от режима сканирования - чаще всего такие патологии диагностируются только при введении контрастного препарата в кровь пациента. Такое исследование позволяет дифференцировать на МРТ-снимках доброкачественную опухоль от злокачественной, оценить ее размеры, связь с другими тканями, полностью оценить объем предстоящего оперативного вмешательства.
При локализации злокачественных новообразований около важных жизненных структур может быть принято решение о консервативном лечении. Благодаря магнитно-резонансному сканированию возможно наблюдать за опухолью в динамике, отслеживать влияние терапевтического воздействия на пораженные ткани.
Диагностика рака при КТ также может показать развитие и стадии онкологического процесса, оценить прогресс лечения, но дополнительное воздействие рентгеновского излучения может оказаться дополнительной нагрузкой на изнуренный болезнью организм. Поэтому при отсутствии противопоказаний предпочтение отдают МРТ обследованию.
При возникновении злокачественного новообразования возможность успешного лечения напрямую зависит от того, насколько быстро оно замечено. Магнитно-резонансная томография на сегодняшний день – самый совершенный инструмент аппаратной онкодиагностики. Томограф помогает разглядеть в любой области организма патологические элементы размером в несколько миллиметров. При такой величине ещё не начинается формирование метастазов, атипичные клетки не успевают отсеяться в лимфоузлы и соседние органы. На этой стадии рак можно победить консервативным лечением. Поэтому вполне оправдано направление на МР-сканирование при подозрении на злокачественную опухоль.
Чтобы можно было лучше увидеть опухоль на МРТ применяется контрастирование. Это несколько усложняет процесс и требования к подготовке к нему, зато на выходе имеется более чёткая информация о состоянии исследуемого органа. В случае бесконтрастной диагностики чаще всего можно обнаружить опухолевые образования больших размеров.
Магнитно-резонансная томография может не выявить опухоль в случае, если исследование проводилось на аппарате с низкой индукцией магнитного поля. Качества снимков, выполненных на таком оборудовании, может оказаться недостаточным для распознавания патологического процесса. Вот почему при подозрении на опухолевые заболевания пациентам категорически рекомендуется проходить обследование на современных высокопольных аппаратах.
Метастазы хорошо видны на снимках при любой локализации, но для повышения достоверности результатов пациенту вводят контрастное вещество.
Это необходимо делать в случае развития метастаз:
- в забрюшинном пространстве и органов брюшной полости, малого таза;
- в центральной нервной системе — отделах головного и спинного мозга;
- при подозрении на метастазы в мягких тканях, внутриорганные метастазы.
При локализации очагов в костной системе усиление контрастом используется редко.

Вне зависимости от локализации злокачественного процесса, опухоль на снимках выглядит как затемненный очаг среди здоровых тканей. Границы его могут быть как четкими, так и нечеткими — это зависит от характера и стадии процесса.
Онкологический процесс в сосудистых образованиях можно визуализировать только при использовании контрастного вещества. Злокачественные новообразования накапливают больше контрастного вещества, поскольку характеризуются густой сетью сосудов и интенсивным кровоснабжением.
Однако и при МРТ не всегда можно получить максимально-достоверный результат по поводу злокачественного процесса. В этом случае пациенту рекомендуют дополнительно сделать биопсию.
С помощью магнито-резонансной томографии можно получить достаточно достоверный результат, но диагноз на основании расшифровки результатов не ставится. Поэтому не стоит начинать самолечение по предварительным данным после скрининга. Окончательный диагноз ставит лечащий врач, учитывая жалобы больного и результаты всех обследований.
МР томограмма – не просто фото, на котором видно, как выглядит опухоль. Специалисту она говорит о величине, конфигурации новообразования, его взаиморасположении с элементами нервной и сосудистой системы, соседними органами. На экране компьютера создаётся реконструкция поражённого раком участка организма. Бывает, что удалять опухоль очень опасно, тогда МРТ становится щадящим инструментом консервативного контроля состояния. Проводятся МРТ исследования и для отслеживания реакции на лучевую и химиотерапию, хирургическое вмешательство.
Статья была подготовлена Службой записи на МРТ и КТ.
Запись на диагностику в более 50 клиник по всем районам города.
Услуги совершенно бесплатны для пациентов.
Служба работает каждый день с 8 утра до 24 вечера.
Узнайте минимальную стоимость на Ваше исследование позвонив по телефону: (812) 313-26-79
МРТ спинного мозга — информативный и безопасный метод, который определяет причину появления неврологических симптомов.
На снимках визуализируются последствия травм, опухоли, метастазы, сдавливания грыжами и позвонками, наличие полостей и другие возможные патологии.
Ограничений к исследованию мало, его проводят даже детям и беременным во 2-3 триместре без опасения за состояние здоровья.
- Основы анатомии и физиологии спинного мозга для понимания МРТ
- Показания и противопоказания к МРТ
- Как подготовиться к обследованию
- Как проводится обследование
- МРТ спинного мозга с использованием контрастного вещества
- Советы пациентам при проведении МРТ
- Проведение МРТ у детей
- Что может показать МРТ
- Трактовка результатов
- Постановка диагноза по симптомам
- КТ или МРТ для сканирования спинного мозга
- Есть ли побочные эффекты
- Цены на МРТ спинного мозга
- Видео
Основы анатомии и физиологии спинного мозга для понимания МРТ
Спинной мозг окружён тремя оболочками и располагается в специальном костном канале. Образован множеством позвонков, между которыми находятся суставные диски и выходят нервные корешки. 
У спинного мозга две главные задачи:
- Рефлекторная — связь с внутренними органами, сухожилиями, слизистой, кожей и обеспечение автономной работы, выполнение защитной функции.
- Проводниковая — в составе спинного мозга проходят нервные волокна к коре полушарий.
При некоторых заболеваниях (грыжи, травмы) спинной мозг или его корешки сдавливаются.
Иногда в тканях образуются опухоли, полости или кисты, возникает воспаление. Эти состояния показывают снимки МРТ.
Показания и противопоказания к МРТ
Для прохождения МРТ потребуется направление от врача — невролога или ортопеда. Исследование назначается при подозрении на следующие состояния:
- травмы позвоночника;
- остеохондроз;
- артрит или артроз дугоотросчатых суставов, поражение связок позвоночника;
- межпозвоночные грыжи;
- полости, кисты в спинном мозге;
- воспаление в мягких тканях;
- онкология.

МРТ назначается для контроля пациентов после операции на позвоночнике и окружающих тканях — спинной мозг располагается в непосредственной близости, поэтому для исключения повреждения важно проводить своевременную диагностику.
Часто на обследование направляются больные по собственной инициативе при наличии болей и ограничении подвижности в позвоночнике.
Перечислим противопоказания к обследованию:
- кардиостимуляторы — в ходе процедуры выходят из строя;
- металлические имплантаты — создают помехи при проекции изображения, провоцируют болезненность;
- судороги, повышенная активность — при проведении обследования требуется полная неподвижность продолжительное время;
- сильное ожирение — для аппаратной капсулы существуют ограничения по весу и размерам.
Относительные противопоказания, при которых МРТ назначается с осторожностью и под наблюдением врача:
- клаустрофобия;
- 2-3 триместр беременности;
- расстройства психики;
- татуировки с краской на основе металла;
- наличие у пациента инсулинового насоса.

Как подготовиться к обследованию
Для проведения МРТ не требуется сложной подготовки, процедура простая и безболезненная. Пациенту требуется придерживаться нескольких правил:
- отказаться от алкоголя за 5-7 дней до исследования;
- посетить врача за пару дней до процедуры;
- не курить за двое суток.
Пациентам с клаустрофобией разрешается принимать успокаивающие средства, чтобы снизить страх и исключить возможную панику.
Как проводится обследование
После подготовки к исследованию пациент приходит в назначенный день в кабинет МРТ-диагностики. Процедура состоит из следующих этапов:
- обследуемый переодевается в специальную пижаму и обувь, снимает металлические украшения;
- проводится инструктаж, выдаётся специальная кнопка, которую используют в экстренной ситуации;
- туловище и конечности пристёгиваются ремнями, пациент одевает наушники, перемещается в тоннель аппарата;
- в течение 40-60 минут делаются снимки, процедура заканчивается.
Если назначено МРТ с контрастом — делают аллергическую пробу, она подразумевает введение вещества в минимальном количестве.
Если отсутствуют кожные высыпания и расстройства в работе сердца, самочувствие пациента не нарушено — тест считается пройденным.
Процедура проходит натощак, контрастное вещество вводится непосредственно перед обследованием внутривенно. Во время инъекции пациент чувствует холод или лёгкое тепло, что считается нормальным. 
Советы пациентам при проведении МРТ
Во время процедуры важно соблюдать следующие рекомендации врача:
Проведение МРТ у детей
У ребёнка провести процедуру сложнее, поскольку дети не могут длительное время сохранять неподвижность.
В таких случаях доктор назначает введение седативных препаратов, которые обладают снотворным эффектом. Лекарства безопасны и не вызывают серьёзных осложнений.
Что может показать МРТ
Магнитно-резонансная томография спинного мозга выявляет:
- сдавливание спинного мозга;
- наличие полостей;
- сужение позвоночного канала;
- патологии сосудов и их последствия;
- склероз;
- опухоли.
Это группа отклонений, которые увидит врач при анализе снимков.

МРТ с контрастом
Трактовка результатов
Отметим состояния, которые определяют по снимкам МРТ и их отличительные черты.
- Сдавливание спинного мозга — в эту группу входят грыжи и протрузии, заболевания суставов. В первом случае на снимках будет прослеживаться выбухание диска в сторону позвоночного канала. При артритах, артрозах и остеохондрозе отмечается искривление в соответствующем отделе, что и вызывает болевые повреждения в спинном мозге.
- Наличие полостей — в эту группу входят и кисты, определяющиеся как тёмные пятна с розовыми границами.
- Сужение позвоночного канала — в норме диаметр изменяется в зависимости от отделов, достигая максимума в пояснице, слепо заканчивается в области крестца. Уменьшение просвета будет между соответствующими позвонками.
- Патологии сосудов и их последствия — выявляются при введении контрастного вещества. Группу риска представляют инсульты и инфаркты, которые отображаются усилением сигнала в зоне поражения.
- Склероз — на снимках отмечаются округлые бляшки, характеризующиеся усилением сигнала, накапливанием контрастного вещества.
- Опухоли — выглядят как разрастания там, где их быть не должно. У доброкачественных образований ровные и чёткие границы, при злокачественных — очертания размыты.

Выше описаны признаки состояний на МРТ с ознакомительной целью. Помните, что пациент иногда ошибается — окончательное заключение выставляет врач.
Постановка диагноза по симптомам
МРТ назначается на основании симптоматики. Чаще делаются снимки грудного или поясничного отделов, иногда — шейного. После прохождения обследования выявляют следующие заболевания:
- инсульты и инфаркты;
- поражение оболочек спинного мозга;
- рассеянный склероз;
- сужение позвоночного канала;
- заболевания околопозвоночных мышц воспалительного характера;
- поражения нервных корешков;
- сочетанные патологии головного и спинного мозга.
КТ или МРТ для сканирования спинного мозга
Оба метода выявляют заболевания позвоночника, но отличаются принципом действия:
- КТ — даёт высокую дозу облучения, поэтому запрещён детям и беременным. Снимки не показывают изменения в мягких тканях, зато отчётливо отображают состояние костных структур, которые могли травмировать спинной мозг. Проводится быстро, процедура занимает несколько секунд.
- МРТ — безопасен, выявляет изменения в мягких тканях с высокой точностью. Незаменимое исследование при воспалении, опухолях, грыжах, наличии кист и полостей. Плохо выявляет переломы, для проведения процедуры требуется длительное нахождение в замкнутом пространстве.

Отличия КТ и МРТ
Есть ли побочные эффекты
Побочных эффектов, кроме клаустрофобии, не выявлено.
Остальные осложнения развиваются при игнорировании противопоказаний (утаивание наличия кардиостимуляторов, ранней беременности, металлических имплантатов и т. д.).
Цены на МРТ спинного мозга
Средняя стоимость процедур составляет: 6000-7000 рублей обследование одного отдела, 14000 рублей — комплексное МРТ позвоночника.
МРТ — безвредный и эффективный метод, не требующий тщательной подготовки. Перед исследованием важно придерживаться рекомендаций врача, во время процедуры сохранять неподвижность.
При выполнении правил получаются чёткие снимки, с помощью которых выявляют заболевания спинного мозга и условия, спровоцировавшие повреждение.
Видео
Здравствуйте, помогите, пожалуйста, расшифровать МРТ:
Предистория: моя бабушка 74 года, врач на пенсии, имеет следующие заболевания
1. Гепатит С
2. Сахарный диабет (не на инсулине, поэтому делает анализ крови почти каждый 1-2 месяца)
3. Остеопороз
4. Был перелом бедра в 2008 году (ходила до этого момента сама, даже бегала с палками)
5. Вырезали щитовидку (биопсия узлов показала отсутсвие онкологии) более 15 лет назад
В целом она живчик, другие бы слегли с этими заболеваниями. Но только не она.
Меньше месяца назад она вешала шторы и когда слезала потянула ногу и с этого дня состояние ухудшалось. Сначала просто болела левая нога, ближе к паху. Похоже на растяжение. Сейчас вообще больно ходить, передвигается на костылях, болит левая часть спины отдает в ногу (в районе паха). Лежать не больно совсем. Бабушка чувствует себя в целом хорошо, питается так же хорошо, не тошнит, иногда морозит. Но она живет в Иркутске, так что не удивительно.
Повезли на МРТ (результаты ниже), врач девушка которая и делала МРТ, сказала, что это три метастазы в позвоночнике и у нее соответсвенно рак. Однако анализ крови противоречит ее словам.
Пожалуйста, помогите разобраться!
Ф.И.О., возраст, пол Григоревская Л.А., 1943 г.р. (ж)
Дата исследования 3.07.2017 г.
Номер исследования 33520
Проведена МРТ пояснично-крестцового отдела позвоночника и спинного мозга в сагиттальной, аксиальной и фронтальной плоскостях, с шагом сканирования 1 мм, толщиной среза 3-4 мм, в нескольких режимах контрастирования тканей (Т1-, Т2-взвешенные методики, firm, Myelo).
Физиологический лордоз в положении лежа на спине сглажен. Имеется небольшое искривление поясничного отдела во фронтальной плоскости влево с вершиной дуги на уровне L4-
МР-сигнал от костного мозга от нижнегрудного и поясничного отделов позвоночника, крестца и подвздошных костей в зоне сканирования неоднородный за счет наличия на фоне жировой дегенерации костно мозга множественных очагов и зон, изо- и гипоинтенсивных в Т2, гиперинтенсивных в tirm, гипоинтенсивных в Т1, с нечеткими контурами, размерами от 4 до 36 х 50 мм, с замещением костного мозга мягкотканным компонентом. Наибольшее из образований расположено в латеральных массах крестца справа. Кортикальный слой в прилежащих отделах на отдельных участках не прослеживается, с признаками распространения мягкотканного компонента на прилежащие параоссальные мягкие ткани.
Форма и размеры позвонков обычные. Патологических изменений сигналов в телах позвонков, дужках и остистых отростках не отмечается. Определяются умеренные краевые костные разрастания вентральных апофизов тел позвонков. Суставные щели дугоотростчатых суставов неравномерно сужены, замыкательные пластинки склерозированы. Межпозвонковые отверстия не сужены, корешки в их просвете не сдавлены.
Позвоночный канал не сужен. Нарушений ликвородинамики не выявлено. Конус спинного мозга не изменен, очаговых, отечных изменений не выявлено. Спинномозговые корешки на всех уровнях прослеживаются отчетливо.
На уровнях L1-L2, L2-L3, L3-L4, L4-L5, L5-S1 определяется умеренное снижение высоты межпозвонковых дисков, неравномерное понижением интенсивности их сигнала в Т2 ВИ, за счёт дегидратации. На уровнях L1-L2, L2-L3, L3-L4, L4-L5, L5-S1 определяются диффузные дорзальные протрузии дисков с билатеральным фораминальным компонентом, вдающиеся в просвет позвоночного канала на глубину до 3-4 мм, умеренно деформирующие переднюю стенку дурального мешка.
В зоне сканирования селезенка увеличена в размерах, в почках с обеих сторон определяются гиперинтенсивные в Т2 и tirm образования, с четкими контурами, диаметром до 22 мм <МР чризнаки кист).
ЗАКЛЮЧЕНИЕ: МР-картина тотального mts-поражения нижнегрудного и поясничного отдело юзвоночника, крестца и подвздошных костей.
)стеохондроз пояснично-крестцового отдела позвоночника, с диффузными дорзальным!
[ротрузиями дисков L1-L2, L2-L3, L3-L4, L4-L5, L5-S1, спондилоартроз. ^
Рекомендовано: консультация онколога.
Данный аппарат в настоящее время является наиболее эффективным средством в контроле за состоянием различных новообразований в организме. Наиболее часто его используют при выявлении рака. Диагностика рака с помощью МРТ позволяет сделать делает четкие снимки, показывает характер опухоли, к тому же она практически безвредна. Томограф должен иметь определенную напряженность поля, чтобы результаты исследования можно было успешно интерпретировать.

МРТ- эффективный метод диагностики рака
В этой статье вы узнаете:
Какова роль МРТ в диагностике рака
МРТ является наиболее эффективной процедурой по выявлению ракового процесса в организме. Она позволяет выявить рак в теле человека на различных стадиях его формирования. Анализ результатов в совокупности с другими исследованиями позволяет увидеть полную картину заболевания и успешно провести операцию.
На этом аппарате можно проводить исследования практически любых органов за исключением легких и костной ткани. Онкология на МРТ хорошо определяется 90-95% случаев. С его помощью можно увидеть опухоли даже очень малых размеров. В отличие от компьютерной томографии (КТ), он является более безвредным, и его воздействие не оказывает отрицательного влияния на опухоль.
Какие преимущества у процедуры
Основными преимуществами диагностики на этом аппарате являются:
- высокое разрешение и четкость снимков;
- наблюдение динамики развития опухоли;
- возможность определения характера новообразования;
- отсутствие вредного воздействия.

МРТ подходят для людей разного возраста, так как совершенно безопасно
В отличие от таких методов исследования, как УЗИ, рентген, лучевая диагностика, МРТ дает более четкие и информативные снимки. Она незаменима для исследования спинного мозга, головы, сердечной мышцы и суставов.
Видны ли опухоли на МРТ
На томографе можно увидеть образования величиной всего 0,1 мм. Многое зависит от качества самого аппарата, квалификации специалиста, анализирующего снимки. Тонкие срезы – снимки больной области пациента позволяют создать трехмерную модель новообразования на компьютере. Врач может наглядно рассмотреть особенности ее расположения, структуру, динамику развития.
Однако точный результат можно получить только после исследования части материала с больной области (биопсии) на гистологию.
Томограф позволяет не только рассмотреть опухоль на ранней стадии, но и по состоянию жидкости в ней, понять это фиброма, липома или онкология.
Магнитно-резонансную томографию при онкологии применяют в следующих случаях:
- Предупреждение рака. При наличии образований, которые могут превратиться в рак в будущем, врач часто прописывает больному профилактический осмотр на МРТ раз в полгода. Это позволяет контролировать внутреннее состояние проблемных участков и вовремя выявлять начальные стадии рака.

МРТ точно показывает размер и расположение опухоли
- Выявление злокачественной опухоли в начальной стадии. На данном аппарате можно увидеть даже мелкие злокачественные опухоли (шванномы). Это позволяет купировать болезнь в самом начале, чтобы потом не применять лучевую и химиотерапию.
- Определение состояния опухоли. На МРТ покажет рак с высокой точностью. По снимку можно понять, доброкачественное новообразование или нет. Существует ряд признаков, которые позволяют это сделать.
- Перед оперативным вмешательством. Обычно исследования ракового процесса в теле на томографе проводят до и после оперативного вмешательства. Это позволяет не только успешно провести операцию, но и сделать период реабилитации более легким.
- Для наблюдения и контроля за состоянием опухоли. При наличии доброкачественной опухоли в организме пациента, врачи часто назначают регулярное прохождение такого исследования. Это позволяет держать развитие и состояние опухоли под контролем. В случае негативной динамики, регулярное наблюдение позволит вовремя начать лечение.

На основании полученных результатов врач примет решение о необходимости операции
Какие признаки указывают на рак
Можно выделить следующие признаки рака на МРТ:
Чтобы снимок новообразования получился более четким, врачи используют специальный контраст. Расхожее мнение, что МРТ с контрастом приводит к раку, является необоснованным. Он растекается по сосудам и подсвечивает опухоль, делая снимки более информативными.
Можно ли выявить метастазы
Посмотрев это видео, вы узнаете о том, как происходит диагностика рака на ранней стадии с помощью МРТ:
Особенности МРТ при раке крови
Диагностика рака крови на МРТ является одним из ведущих методов анализа состояния пациента с таким заболеванием. С помощью контрастного вещества доктор может увидеть состояние кровеносной системы больного. Понять степень развития патологии и возможные пути лечения. Основными симптомами лейкоза являются:
- слабость и упадок сил;
- появление гематом на коже;
- плохой сон;
- головокружение;
- проблемы с деснами.
При поведении данной процедуры не всегда возможно использование Гадолиния, поскольку пациенты с лейкемией плохо его переносят.
Какие могут быть ошибки при МРТ
Использование этого устройства может быть не всегда эффективными и имеет свои отрицательные моменты. К ним можно отнести:
- Низкокачественные снимки. Не следует использовать аппараты для исследования онкологии с напряженность поля меньше 1,5 тесла. Снимки получаются не совсем четкими, понять расположение и характер опухоли сложно. Подобные аппараты можно использовать для других исследований, которые требуют меньшей четкости.

При исследовании костей могут быть проблемы
- Низкая квалификация персонала. Важно не только сделать хороший снимок, но и правильно его интерпретировать. Врачебная ошибка может стоить пациенту не только здоровья, но и жизни.
- Ошибки при исследовании онкологии в костях и легких. Работа МРТ основана на сканировании состояний различных жидкостей и мягких тканей в организме. Легкие заполнены воздухом, а кости имеют плотную структуру и содержат мало жидкости, поэтому их исследования затруднено. При необходимости исследования данных органов используют КТ.

В таблице представлена частота выявления случаев ошибок при исследовании на томографе на 1000 пациентов.
| Ошибки на МРТ | |||
|---|---|---|---|
| Частота появления ошибок при исследованиях на 1000 пациентов | Некачественные снимки | Неквалифицированный персонал | Исследования в костях и легких |
| 6 | 3 | 1 | |
Читайте так же по теме
1 комментарий
![]()
Врач в онкоцентре утверждает, что МРТ с контрастом приводит к раку. При этом это один из ведущих специалистов. Стало интересно, а как же он проводит обследование, если он такой противник современных методов диагностики.
Читайте также:


