Диагностика диффузного аксонального повреждения по КТ, МРТ
Добавил пользователь Валентин П. Обновлено: 21.11.2025
В 1956 патолог Sabina Strich опубликовала результаты исследований макропрепаратов головного мозга пациентов, длительное время находившихся в посттравматичесом вегетативном статусе (до 1,5 лет).
Это были солдаты, пострадавшие в американо-корейской войне и находившиеся в стационаре с диагнозом «тяжёлая черепно-мозговая травма». Однако при аутопсии у 15 умерших не было обнаружено макроскопически определяемых признаков травмы ГМ. Были отмечены лишь признаки атрофических изменений ГМ, не характерных для людей в столь молодом возрасте. Гистологически выявлялась диффузная дегенерация миелина в белом веществе.
Обнаруженные изменения, по мнению S. Strich, можно было объяснить первичным разрывом аксонов непосредственно в момент травмы. Несмотря на то, что после появления этой публикации выводы Strich встретили скепсис со стороны многих её коллег, сегодня диффузное аксональное повреждение (ДАП) признано одной из ведущих причин смерти при черепно-мозговой травме: по данным National Institute of Health Traumatic Coma Data Bank (США), частота ДАП составляет 28‒55 % от всей тяжёлой ЧМТ. Летальность при различных степенях тяжести ДАП колеблется от 47 до 70 %. Диффузное аксональное повреждение является причиной смерти 35 % пострадавших с тяжёлой ЧМТ.
Дальнейшие исследования в этой области выявили механизмы возникновения ДАП, его типичные патофизиологические, клинические и лучевые проявления, о которых мы сегодня и поговорим.
Механизм повреждения
При ЧМТ сила воздействует на костные, мягкотканные, сосудистые структуры и собственно вещество ГМ. Из них именно вещество ГМ обладает самой низкой толерантностью к силам натяжения, из-за чего, во-первых, повреждение ткани мозга более выражено при воздействии сил натяжения, чем сдавливания, во-вторых, ДАП может произойти в отсутствии непосредственно удара — под действием сил инерции, и, в-третьих — может наблюдаться и без повреждения мягкотканых и костных структур. Примером может служить пристёгнутый пассажир при ДТП: даже если не было непосредственного удара головой, его голова подвергается сильному инерционному «удару» при резком торможении.
Что происходит в момент приложения силы? Мозг при ударах или инерционном воздействии совершает движения в сагиттальной, вертикальной и горизонтальной плоскостях. Особенно опасным считают ротационное воздействие.
При этом повреждаться в первую очередь будут волокна, более восприимчивые к натяжению и перекручиванию, а именно:
- на границе коры и белого вещества. Серое и белое вещества ГМ имеют разное содержание жидкости, и в момент удара более пластичное белое вещество смещается относительно более плотного серого;
- вокруг желудочков мозга. Ранее считалось, что спинномозговая жидкость и желудочки мозга должны амортизировать повреждение мозга, а не вызывать их. Однако использование более приближённых к реальному мозгу моделей ДАП позволило установить, что турбулентный ток жидкости в момент травмы приводит к появлению «волн» в пограничном слое белого вещества, что приводит к разрыву аксонов в перивентрикулярных зонах;
- области, в которых сконцентрированы длинные аксоны, связывающие кору большого мозга с подкорковыми структурами и мозговым стволом. В случае удара большой силы полушария мозга подвергаются ротации относительно фиксированных стволовых отделов, при этом даже незначительное смещение мозга может быть достаточным для разрыва нервных волокон, синапсов и кровеносных сосудов. Именно в этих участках и выявляются макроскопические изменения, характерные для тяжёлой степени ДАП — мелкоочаговые надрывы с геморрагиями в мозолистом теле и мелкоочаговые кровоизлияния в передних отделах ствола мозга.

Рисунок 1 | Типичная локализация аксональных повреждений (черные кружки) и очагов геморрагии (заштрихованные участки). К. Bostrom, C.G. Helander (1986).
На характерной локализации повреждений и основана классификация диффузного аксонального повреждения мозга (Adams J. Н., 1989), которая часто используется патологами и лучевыми диагностами:
I тип — аксональные повреждения в белом веществе обоих полушарий большого мозга, мозолистом теле, мозговом стволе и мозжечке;
II тип — дополнительно к описанным изменениям имеются локальные повреждения в мозолистом теле;
III тип — в дополнение к перечисленным изменениям имеются локальные повреждения в дорсолатеральных участках ростральных отделов мозгового ствола.
Нетрудно догадаться, что чем «выше» тип повреждения, тем скорее всего, тяжелее состояние больного и тем вероятно большая сила была приложена.
Классической причиной ДАП считаются ДТП, произошедшие на большой скорости. Однако описаны подобные повреждения и у спорстменов (футболисты, хоккеисты и игроки в сокер, сталкивающиеся друг с другом и с препятствиями) и даже в виде «симптома детского сотрясения» — как результат встряхивающих движений при попытке «укачать» ребёнка.
Лучевые проявления
Радиография
Классическая радиография неспособна выявить ДАП.
Компъютерная томография
Компьютерная томография без контраста часто выполняется пациентам с ЧМТ, однако, к сожалению, имеет низкую чувствительность к ДАП (59‒80 % пациентов будут иметь нормальную КТ-картину).
Проявления включают в себя:
- округлые/овальные очаги изменённой плотности, размещённые диффузно в зонах характерной локализации (мозжечок, ножки мозга, мозолистое тело, перивентрикулярно и в гемифсерах на границе белого и серого вещества);
- геморрагические очаги лучше проявляются на КТ - они будут выглядеть гиперденсными. Очаги без геморрагии - гиподенсными, последние выявляются крайне редко;
- очаги аксонального повреждения могут не обнаруживаться при исследовании, сделанном сразу после поступления пациента, но становиться видимыми через несколько суток после травмы;
- кроме собственно очагов повреждения, может наблюдаться отёк мозга в виде потери дифференциации серого и белого вещества, сужения желудочков, пролабирования миндалин мозжечка в большое затылочное отверстие (нужно дифференцировать с синдромом Арнольда-Киари - явления отёка временные);
также можно наблюдать другие изменения, хараткерные для ЧМТ: гематомы, в том числе субдуральные, нарушение целостности костей черепа и т.д.
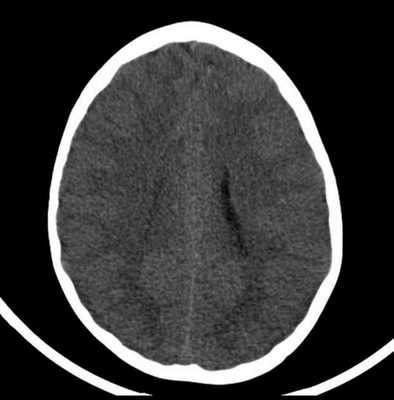
На русунках 2 и 3 показаны типичные изменения, обнаруживаемые при КТ.

Рисунок 2 | 9-тилетний мальчик, переживший ДТП. КТ, сделанная в день травмы, показала несколько гиперденсных фокусов в левой лобной доле.
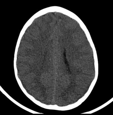
Рисунок 3 | КТ-сканы демонстрируют несколько гиперденсных очагов, наиболее крупный - в левой лобной доле. Признаки отека вещества мозга.
Магнитно-резонансная томография
МРТ является методом выбора для диагностики ДАП.
Очаги повреждения будут проявлять себя таким образом:
- множественные очаги повышенного на Т2-взвешенных изображениях (Т2ВИ) и FLAIR характерной локализации представляют негеморрагические очаги;
- геморрагические очаги выглядят гиперинтенсивными на Т1ВИ;
- одними из наиболее информативных считается SWI последовательность: полученные изображения чувствительны к продуктам распада гемоглобина, и зоны геморрагии будут характеризоваться «выпадением» сигнала. (рис. 5);
- DWI-взвешенные изображения показывают ограничение диффузии в этой зоне.
Рисунок 4 наглядно демонстрирует более высокую специфичность МРТ к ДАП по сравнению с КТ — сравните с рисунком 3 (тот же пациент).
Рисунок 5 | Геморрагические очаги хорошо выявляются в режиме SWI.
Источники:
Meythaler J. M. et al. Current concepts: diffuse axonal injury-associated traumatic brain injury //Archives of physical medicine and rehabilitation. - 2001. - Т. 82. - №. 10. - С. 1461-1471.
Лебедев В. В., Волков П. В. Диффузное аксональное повреждение головного мозга //Нейрохирургия. - 2005. - №. 3. - С. 10-15.
Ezaki Y. et al. Role of diffusion-weighted magnetic resonance imaging in diffuse axonal injury //Acta Radiologica. - 2006. - Т. 47. - №. 7. - С. 733-740.
Диффузное аксональное повреждение (ДАП)
Диффузное аксональное повреждение (ДАП) - это тяжелая форма травматического повреждения головного мозга возникающая за счет воздействия сдвигающих сил. Диффузное аксональное повреждение потенциально трудно диагностировать, поскольку проявления при компьютерной томографии могут быть едва различимы, однако оно может приводить к тяжелым неврологическим нарушениям.
В качестве диагностики лучшей модальностью является магнитно-резонансная томография при которой диффузное аксональное повреждение проявляется в виде нескольких небольших зон артефактов магнитной восприимчивости окруженных зоной гиперинтенсивного МР сигнала на FLAIR изображениях, локализующихся на границе серого и белого вещества, в мозолистом теле, а в тяжелых случаях в стволе мозга.
Патология
Диффузное аксональное повреждение является результатом воздействия сдвигающих сил возникающих при ротационном ускорении (реже торможении). Из-за разной плотности (относительная масса в единице объема) белого и серого вещества сдвиг происходит преимущественно в аксонах на границе серого и белого вещества, это и отражает название патологии. В большинстве случаев эти силы приводят и к повреждению клеток, что проявляется отеком. Но полный разрыв аксонов происходит только в тяжелых случаях.
Клиническая картина
Пациенты с диффузным аксональным повреждением в момент проишествия, как правило, теряют сознание. Посттравматическая кома может длится значительное время и часто является проявлением сопутствующих визуализируемых повреждений (напр. контузия головного мозга). Часто диагноз ДАП начинается рассматривается с момента когда, вопреки ожиданиям, у пациента не исчезают признаки неврологического дефицита.
Диагностика
Диффузное аксональное повреждение характеризуется множественными фокусами повреждения с типичным распределением, как правило на границе серого и белого вещества, в мозолистом теле, а в тяжелых случаях в стволе головного мозга.
Компьютерная томография
Бесконтрастная компьютерная томография головного мозга является рутинной процедурой у пациентов с черепно-мозговой травмой. К сожалению, КТ не чувствительна в диагностике скрытого диффузного аксонального повреждения, а пациенты с относительно нормальной КТ картиной могут иметь выраженный необъяснимый КТ картиной неврологический дефицит [4, 5].
КТ-картина зависит от того, является кровоизлияние видимым или нет. Геморрагическое повреждение будет гиперденсивным, варьируя в диаметре от нескольких миллиметров до нескольких сантиметров. Негеморрагичское повреждение становится более явно видимым за счет развивающегося вокруг отека через несколько дней. Оно может сочетаться со значительным и диспропорциональным отеком головного мозга.
Компьютерная томография практически нечувствительна к негеморрагическим повреждениям и позволяет выявить до 19% таких повреждений, в сравнении с 92% выявляемых повреждений на Т2 взвешенных изображениях [4].
Магнитно-резонансная томография
МРТ при подозрении на диффузное аксональное повреждение является модальностью выбора, даже при наличии абсолютно нормальной КТ картины 5. МРТ, особенно при SWI или GRE последовательностях, чрезвычайно чувствительна к продуктам распада гемоглобина и позволяет выявить небольшие области артефактов магнитной восприимчивости на границе серого и белого вещества, в мозолистом теле или стволе головного мозга.
Некоторые поражения могут быть негеморрагическими (даже при использовании SWI последовательностеф с высокой силой поля).
Степень окружающего отека обычно увеличивается через несколько дней, хотя посттравматические изменения ан FLAIR черерз 3 месяца в основном разрешаются [7]. В отличии от этого, изменения на SWI разрешаются значительно дольше, хотя через 12 месяцев после травмы так же наблюдается значительное разрешение [7]. Как правило, отек при ДАП разрешается быстрее чем отек при кровоизлиянии.
Важно отметить что даже при использовании современных высокопольных сканеров отсутствие изменений не может с высокой точностью использоваться для исключения диффузного аксонального повреждения.
МР спектроскопия
МР-спектроскопия может обладать преимуществами в выявлении пациентов с I степень повреждения, которая может протекать бессимптомно на других последовательностях. Признаками является повышение пика холина и снижение пика N-ацетиласпартата [3].
Диффузное аксональное повреждение головного мозга
Диффузное аксональное повреждение головного мозга — вариант тяжелой черепно-мозговой травмы, основным субстратом которого выступают диффузные разрывы или надрывы аксонов. Клинически с первых минут травмы наблюдается кома с симптомами стволового поражения, которая может перейти в вегетативное состояние. Диагностика осуществляется по травматическому анамнезу, особенностям клиники и томографическим данным. Лечение комы заключается в проведении ИВЛ и интенсивной терапии, после выхода из комы применяют сосудистые, ноотропные, метаболические препараты, лечебную физкультуру, психостимуляцию, логопедическую коррекцию.
МКБ-10

Общие сведения
Диффузное аксональное повреждение мозга как отдельный вид тяжелой ЧМТ было описано в 1956 г., термин предложен в 1982 г. Диффузное аксональное повреждение (ДАП) характеризуется продолжительным коматозным состоянием, возникающим с момента ЧМТ. Его морфологическим субстратом выступают обусловленные травмой диффузно распространенные по церебральным структурам разрывы аксонов и мелкоочаговые кровоизлияния. Наиболее типичными зонами повреждения являются мозговой ствол, белое вещество полушарий, мозолистое тело и перивентрикулярные области. ДАП распространено преимущественно среди лиц молодого возраста и детей. В детском возрасте сопровождается более грубыми неврологическими нарушениями и более глубокой комой.
Отдельные авторы предлагают разделение ДАП по степени тяжести. Легкой степени соответствует длительность комы 6-24 ч, умеренной — кома дольше суток, но без грубых стволовых проявлений. Тяжелое диффузное аксональное повреждение характеризуется продолжительной комой с симптомами декортикации и децеребрации. В любом случае ДАП — это серьезное состояние с высоким риском перехода в вегетативное состояние и летального исхода. В связи с этим его эффективное лечение остается актуальной проблематикой практической травматологии и неврологии.
Причины и морфология диффузного аксонального повреждения
ДАП возникает вследствие травм, обусловленных угловым ускорением головы. При этом может не быть прямого контакта головы с твердым предметом. Поэтому у ряда пациентов с ДАП отсутствуют переломы черепа и другие визуальные повреждения. Наблюдения показали, что ускорение в сагиттальной плоскости вызывает в основном сосудистые повреждения с образованием кровоизлияний в веществе мозга, а ускорения в косой и боковой плоскостях — травмирование аксонов.
Причинами ДАП выступают преимущественно автомобильные травмы, падения с высоты (кататравмы) и баротравмы. Именно при таких травмах происходит угловое ускорение головы. При этом более подвижные полушария мозга подвергаются ротации, а более фиксированные стволовые отделы — перекручиванию. Кроме того, возможно взаимное смещение отдельных слоев или частей головного мозга. Даже небольшое смещение церебральных структур способно привести к частичному или полному разрыву аксонов, а также мелких сосудов.
Морфологически для ДАП патогномоничны 3 признака: очаг повреждения в мозолистом теле, очаг в стволе мозга и диффузные аксональные разрывы. Первые 2 признака являются макроскопическими и вначале имеют вид обычного кровоизлияния (гематомы) размером до 5 мм. Иногда они выглядят как надрыв ткани, края которого пропитаны кровью. Спустя несколько дней после ЧМТ очаги повреждения трансформируются в пигментированные в цвет ржавчины участки, а затем на их месте формируются рубцы. Очаги повреждения в мозолистом теле могут разрешаться с образованием небольших кист.
Выявление аксональных повреждений возможно только путем специальных микроскопических исследований тканей мозга (иммуно-гистохимическим методом и путем импрегнации серебром), которые дают возможность увидеть множественные аксональные шары, расположенные в местах разрывов нервных волокон. Дальнейшие изменения характеризуются макрофагальной реакцией с появлением реактивных микроглиоцитов и астроцитов. Отсутствие сегментоядерных элементов резко отличает картину ДАП от изменений, происходящих при ушибе головного мозга. Спустя 2-3 недели наблюдается фрагментация и демиелинизация поврежденных аксонов. Причем процесс демиелинизации имеет тенденцию к распространению по проводящим путям, и чем более длительно протекает кома и вегетативное состояние, тем он более распространен.
Симптомы диффузного аксонального повреждения
Отличительной особенностью ДАП, в сравнении с клиникой других ЧМТ, выступает длительная умеренная или глубокая кома, возникающая сразу после получения травмы. У взрослых соотношение случаев умеренной комы к глубокой составляет 63% к 37%, у детей — 43% к 57%. Средняя длительность комы варьирует от 3 до 13 суток.
Типичными для комы при ДАП являются позно-тонические реакции диффузного характера, провоцируемые различными раздражителями, периодическое моторное возбуждение на фоне адинамии. Характерна стволовая симптоматика: снижение или полное выпадение фотореакции и корнеальных рефлексов, анизокория, различное расположение зрачков по горизонтали, расстройство дыхательного ритма и частоты дыхания. Кроме этого, в неврологическом статусе зачастую выявляется вариабельный спонтанный нистагм, ригидность мышц затылка и симптом Кернига, вегетативные симптомы (гипергидроз, артериальная гипертензия, гиперсаливация и пр.).
Двигательные расстройства обычно представлены грубым пирамидно-экстрапирамидным тетрасиндромом. У большинства пострадавших руки со свисающими кистями приведены к туловищу и согнуты в локтях (т. н. «лапки кенгуру»). Сухожильные рефлексы вначале повышены, затем снижаются или полностью выпадают. Зачастую имеют место патологические стопные знаки. Нарушения мышечного тонуса варьируют от генерализованной гипотонии до горметонии, склонны изменяться, часто имеют асимметричный или диссоциативный характер.
Варианты исходов диффузного аксонального повреждения
У выживших пациентов дальнейшее течение ДАП может идти в 2-х направлениях: выход из комы и переход в вегетативное состояние. В первом случае начинает происходить открывание глаз, сопровождающееся слежением и фиксацией взора. Оно может быть как спонтанным, так и спровоцированным различными раздражителями (звуковыми, болевыми). Постепенно происходит восстановление сознания, становится возможным исполнение простых инструкций, расширяется словесный контакт. Этот процесс сопровождается медленным регрессом неврологических проявлений.
Длительная кома в большинстве случаев приводит к переходу в вегетативное состояние, которое может иметь стойкий или транзиторный характер и продолжаться от 1-2 дней до нескольких месяцев. О наступлении вегетативного состояния говорит открывание глаз, не сопровождающееся фиксацией взора и слежением. Появляются признаки разобщения полушарных и стволовых структур — вариабельные, необычные, изменяющиеся очаговые симптомы. При стойких вегетативных состояниях развиваются нейротрофические расстройства (в т. ч. пролежни) и вегето-висцеральные нарушения (тахикардия, гипертермия, гиперемия лица, тахипноэ и др.). Существенную роль в возникновении последних играет появляющееся как осложнение поражение соматических органов (полиорганная недостаточность) и интеркуррентные инфекции (пневмония, пиелонефрит, сепсис).
Диагностика диффузного аксонального повреждения
В пользу ДАП свидетельствует механизм полученной ЧМТ с угловым ускорением головы, наступление комы сразу после травмы и характерные особенности ее клиники. Отличительным признаком является также отсутствие застойных изменений дисков зрительных нервов при офтальмоскопии пациентов с ДАП даже в случае продолжительной комы. Однако диагностировать ДАП клинически неврологу и травматологу достаточно сложно.
Достоверно выставить диагноз «Диффузное аксональное повреждение» позволяет наличие на МРТ или КТ головного мозга патогномоничных макроскопических признаков. На КТ и МРТ головного мозга в остром периоде определяется отек головного мозга с уменьшением желудочков и субарахноидальных пространств; зачастую над лобными долями визуализируется скопление жидкости. Более трудной является диагностика легких и средних степеней ДАП, при которых макроскопические признаки обычно отсутствуют, отек мозга и геморрагии выражены незначительно, а в некоторых случаях томографическая картина существенно не отличается от нормы. В такой ситуации опираются на типичную томографическую динамику — регресс геморрагий и отека с тенденцией к расширению желудочков, последующая вентрикуломегалия и нарастание диффузной атрофии церебральных структур.
Лечение диффузного аксонального повреждения
Пациентам с ДАП в состоянии комы необходимы длительная ИВЛ, парентеральное питание и интенсивная терапия, направленная на поддержание гомеостаза и основных систем организма, купирование отека мозга, предупреждение инфекционных осложнений. В случае эпизода выраженного моторного возбуждения иногда приходится прибегать к лечебному использованию наркоза. После выхода из комы целесообразно раннее начало психостимулотерапии для скорейшего регресса психоэмоциональных расстройств, ЛФК для восстановления двигательной активности и профилактики контрактур суставов, логопедической коррекции нарушений речи. С целью улучшения функционирования ЦНС назначают ноотропные (ницерголин, пирацетам, кортексин, гамма-аминомасляная к-та) и сосудистые (винпоцетин, циннаризин) препараты. При наличии показаний в схему лечения включают антихолинэстеразные (неостигмин, галантамин) средства и нейромедиаторы (левадопу, пирибедил).
Хирургическое лечение не показано. Оно проводится только при наличии сопутствующих внутричерепных повреждений (субдуральных или внутримозговых гематом, очагов размозжения, вдавленных переломов черепа и т. п.), опасных развитием сдавления головного мозга.
Прогноз диффузного аксонального повреждения
Исход ДАП зависит от степени его тяжести. Последнее время высказано предположение о возможной регенерации аксонов у детей и пострадавших молодого возраста, в пользу чего свидетельствует происходящее со временем частичное восстановление неврологических и психических функций у перенесших ДАП. Однако, чем более длительно протекает кома и чем более грубой неврологической симптоматикой она сопровождается, тем больше вероятность выраженной инвалидизации в случае выживания пострадавшего. Диффузное аксональное повреждение с комой длительностью не более 7 суток заканчивается хорошим восстановлением или умеренной инвалидизацией. ДАП с комой дольше 8 суток, как правило, приводит к грубой инвалидизации или переходу в вегетативное состояние.
Резидуальными остаточными явлениями после перенесенного ДАП выступают парезы и параличи, мнестические нарушения, психические расстройства, нарушения речи, бульбарный синдром, экстрапирамидные расстройства. У пациентов, вышедших из вегетативного состояния, преобладает экстрапирамидная симптоматика: вторичный паркинсонизм и мелкие гиперкинезы, сопровождающаяся выраженными нарушениями психики (деменцией, аффективными расстройствами, амнестической спутанностью, аспонтанностью). Стойкое вегетативное состояние приводит к летальному исходу вследствие истощения нейромедиаторных реакций и возникновения осложнений соматического характера.
Черепно-мозговая травма (ЧМТ)
Черепно-мозговая травма — это повреждение костей черепа и/или мягких тканей (мозговые оболочки, ткани мозга, нервы, сосуды). По характеру травмы различают закрытую и открытую, проникающую и непроникающую ЧМТ, а также сотрясение или ушиб головного мозга. Клиническая картина черепно-мозговой травмы зависит от ее характера и тяжести. Основными симптомами являются головная боль, головокружение, тошнота и рвота, потеря сознания, нарушение памяти. Ушиб головного мозга и внутримозговая гематома сопровождаются очаговыми симптомами. Диагностика черепно-мозговой травмы включает анамнестические данные, неврологический осмотр, рентгенографию черепа, КТ или МРТ головного мозга.

Причины
По генезу и механизму возникновения ЧМТ бывает первичная (воздействию на мозг травмирующей механической энергии не предшествует какая-либо церебральная или внецеребральная катастрофой) и вторичная (воздействию травмирующей механической энергии на мозг предшествует церебральная или внецеребральная катастрофа). ЧМТ у одного и того же пациента может происходить впервые или повторно (дважды, трижды).
- Первичные поражения - это очаговые ушибы и размозжения мозга, диффузные аксональные повреждения, внутричерепные гематомы, разрывы ствола, множественные внутримозговые геморрагии, возникшие вследствие механической травмы головы.
- Вторичные поражения возникают в результате действия вторичных внутричерепных факторов (отсроченных гематом, нарушений ликворо- и гемоциркуляции вследствие внутрижелудочкового или субарахноидального кровоизлияния, отека мозга, гиперемии и др.) или вторичных внечерепных факторов (артериальная гипертензия, гиперкапния, гипоксемия, анемия и др.)
Классификация
Классификация ЧМТ основывается на ее биомеханике, виде, типе, характере, форме, тяжести повреждений, клинической фазе, периоде лечения, а также исходе травмы.
По биомеханике различают следующие виды ЧМТ:
- ударно-противоударная (ударная волна распространяется от места полученного удара и проходит через мозг к противоположной стороне с быстрыми перепадами давления);
- ускорения-замедления (перемещение и ротация больших полушарий по отношению к более фиксированному стволу мозга);
- сочетанная (одновременное воздействие обоих механизмов).
По виду повреждения:
- очаговые (характеризуются локальными макроструктурными повреждениями мозгового вещества за исключением участков разрушений, мелко- и крупноочаговых кровоизлияний в области удара, противоудара и ударной волны);
- диффузные (натяжение и распространение первичными и вторичными разрывами аксонов в семиовальном центре, мозолистом теле, подкорковых образованиях, стволе мозга);
- сочетанные (сочетание очаговых и диффузных повреждений головного мозга).
По своему типу ЧМТ классифицируются на:
- закрытую — повреждения, не нарушившие целостность кожных покровов головы; переломы костей свода черепа без повреждения прилежащих мягких тканей или перелом основания черепа с развившейся ликвореей и кровотечением (из уха или носа);
- открытую непроникающую ЧМТ — без повреждения твердой мозговой оболочки и открытую проникающую ЧМТ — с повреждением твердой мозговой оболочки.
Кроме этого выделяют изолированную (отсутствие каких-либо внечерепных повреждений), сочетанную (внечерепные повреждения в результате механической энергии) и комбинированную (одновременное воздействие различных энергий: механической и термической/лучевой/химической) черепно-мозговую травму.
По тяжести ЧМТ делят на 3 степени: легкую, средней тяжести и тяжелую. При соотнесении этой рубрикации со шкалой комы Глазго легкую черепно-мозговую травм оценивают в 13-15, среднетяжелую - в 9-12, тяжелую - в 8 баллов и менее. Легкая черепно-мозговая травма соответствует сотрясению и ушибу мозга легкой степени, среднетяжелая — ушибу мозга средней степени, тяжелая — ушибу мозга тяжелой степени, диффузному аксональному повреждению и острому сдавлению мозга.
Течение ЧМТ разделяется на 3 базисных периода: острый, промежуточный и отдаленный. Временная протяженность периодов течения черепно-мозговой травмы варьирует в зависимости от клинической формы ЧМТ: острый - 2-10 недель, промежуточный - 2-6 месяцев, отдаленный при клиническом выздоровлении - до 2 лет.
Сотрясение головного мозга
Симптомы
Угнетение сознания (до уровня сопора) при сотрясении мозга может продолжаться от нескольких секунд до нескольких минут, но может и отсутствовать вовсе. На непродолжительный период времени развивается ретроградная, конградная и антероградная амнезия. Непосредственно после черепно-мозговой травмы возникает однократная рвота, дыхание учащается, но вскоре приходит в норму. Также приходит в норму и артериальное давление, за исключением тех случаев, когда анамнез отягощен гипертензией. Температура тела при сотрясении мозга сохраняется в норме.
Когда пострадавший приходит в сознание, возникают жалобы на головокружение, головную боль, общую слабость, появление холодного пота, приливы крови к лицу, шум в ушах. Неврологический статус на данной стадии характеризуется мягкой асимметрией кожных и сухожильных рефлексов, мелким горизонтальным нистагмом в крайних отведениях глаз, легкими менингиальными симптомами, которые исчезают в течение первой недели. При сотрясении головного мозга в результате черепно-мозговой травмы через 1,5 - 2 недели отмечается улучшение общего состояния пациента. Возможно сохранение некоторых астенических явлений.
Диагноз
Распознавание сотрясения головного мозга — непростая задача для невролога или травматолога, так как основными критериями его диагностирования являются составляющие субъективной симптоматики в отсутствие каких-либо объективных данных. Необходимо ознакомиться с обстоятельствами травмы, используя для этого информацию, имеющуюся у свидетелей происшедшего. Большое значение имеет обследование у отоневролога, с помощью которого определяют наличие симптомов раздражения вестибулярного анализатора в отсутствие признаков выпадения.
По причине мягкой семиотики сотрясения головного мозга и возможности возникновения подобной картины в результате одной из многих дотравматических патологий, особое значение в диагностике придается динамике клинических симптомов. Обоснованием диагноза «сотрясение мозга» является исчезновение таких симптомов через 3-6 суток после получения черепно-мозговой травмы. При сотрясении мозга отсутствуют переломы костей черепа. Состав ликвора и его давление сохраняются в норме. На КТ головного мозга не определяются внутричерепные пространства.
Лечение
Если пострадавший с черепно-мозговой травмой пришел в себя, в первую очередь ему необходимо придать удобное горизонтальное положение, голова должна быть чуть приподнята. Пострадавшему с черепно-мозговой травмой, находящемуся в бессознательном состоянии, необходимо придать т. н. «спасительное» положение — уложить его на правый бок, лицо должно быть повернуто к земле, левые руку и ногу согнуть под прямым углом в локтевом и коленном суставах (если исключены переломы позвоночника и конечностей). Такое положение способствует свободному прохождению воздуха в легкие, предотвращая западение языка, попадание рвотных масс, слюны и крови в дыхательные пути. На кровоточащие раны на голове, если таковые имеются, наложить асептическую повязку.
Всех пострадавших с черепно-мозговой травмой в обязательном порядке транспортируют в стационар, где после подтверждения диагноза устанавливают им постельным режим на срок, который зависит от клинических особенностей течения заболевания. Отсутствие признаков очаговых поражений головного мозга на КТ и МРТ головного мозга, а также состояние пациента, позволяющее воздержаться от активного медикаментозного лечения, позволяют решить вопрос в пользу выписки пациента на амбулаторное лечение.
При сотрясении головного мозга не применяют чрезмерно активного медикаментозного лечения. Его основные цели — нормализация функционального состояние головного мозга, купирование головной боли, нормализация сна. Для этого используют анальгетики, седативные средства (как правило, таблетированных форм).
Ушиб головного мозга
Для ушиба мозга легкой степени характерна утрата сознания после травмы до нескольких десятков минут. После восстановления сознания появляются жалобы на головную боль, головокружение, тошноту. Отмечают ретроградную, конградную, антероградную амнезию. Возможна рвота, иногда с повторами. Жизненно важные функции, как правило, сохраняются. Наблюдается умеренная тахикардия или брадикардия, иногда повышение артериального давления. Температура тела и дыхание без существенных отклонений. Мягко выраженные неврологические симптомы регрессируют через 2-3 недели.
Утрата сознания при ушибе мозга средней степени может длиться от 10-30 минут до 5-7 часов. Сильно выражена ретроградная, конградная и антероградная амнезия. Возможна многократная рвота и сильная головная боль. Нарушены некоторые жизненно важные функции. Определяется брадикардия или тахикардия, повышение АД, тахипноэ без нарушения дыхания, повышение температуры тела до субфебрильной. Возможно проявление оболочечных признаков, а также стволовых симптомов: двусторонние пирамидные признаки, нистагм, диссоциация менингеальных симптомов по оси тела. Выраженные очаговые признаки: глазодвигательные и зрачковые нарушения, парезы конечностей, расстройства речи и чувствительности. Они регрессируют через 4-5 недель.
Ушиб мозга тяжелой степени сопровождается потерей сознания от нескольких часов до 1-2 недель. Нередко он сочетается с переломами костей основания и свода черепа, обильным субарахноидальным кровоизлиянием. Отмечаются расстройства жизненно важных функций: нарушение дыхательного ритма, резко повышенное (иногда пониженное) давление, тахи- или брадиаритмия. Возможна блокировка проходимости дыхательных путей, интенсивная гипертермия.
Очаговые симптомы поражения полушарий зачастую маскируются за выходящей на первый план стволовой симптоматикой (нистагм, парез взора, дисфагия, птоз, мидриаз, децеребрационная ригидность, изменение сухожильных рефлексов, появление патологических стопных рефлексов). Могут определяться симптомы орального автоматизма, парезы, фокальные или генерализованные эпиприступы. Восстановление утраченных функций идет тяжело. В большинстве случаев сохраняются грубые остаточные двигательные нарушения и расстройства психической сферы.
Методом выбора при диагностике ушиба головного мозга является КТ головного мозга. На КТ определяют ограниченную зону пониженной плотности, возможны переломы костей свода черепа, субарахноидальное кровоизлияние. При ушибе мозга средней степени тяжести на КТ или спиральной КТ в большинстве случаев выявляют очаговые изменения (некомпактно расположенные зоны пониженной плотности с небольшими участками повышенной плотности).
При ушибе тяжелой степени на КТ определяются зоны неоднородного повышения плотности (чередование участков повышенной и пониженной плотности). Перифокальный отек головного мозга сильно выражен. Формируется гиподенсивная дорожка в область ближайшего отдела бокового желудочка. Через нее происходит сброс жидкости с продуктами распада крови и мозговой ткани.
Для диффузного аксонального повреждения головного мозга типично длительное коматозное состояние после черепно-мозговой травмы, а также ярко выраженные стволовые симптомы. Коме сопутствует симметричная либо асимметричная децеребрация или декортикация как спонтанными, так и легко провоцируемыми раздражениями (например, болевыми). Изменения мышечного тонуса весьма вариабельны (горметония или диффузная гипотония). Типично проявление пирамидно-экстрапирамидных парезов конечностей, в том числе асимметричные тетрапарезы.
Кроме грубых нарушений ритма и частоты дыхания проявляются и вегетативные расстройства: повышение температуры тела и артериального давления, гипергидроз и др. Характерной особенностью клинического течения диффузного аксонального повреждения мозга является трансформация состояния пациента из продолжительной комы в транзиторное вегетативное состояние. О наступлении такого состояния свидетельствует спонтанное открывание глаз (при этом отсутствуют признаки слежения и фиксации взора).
КТ-картина диффузного аксонального поражения мозга характеризуется увеличением объема мозга, в результате которого под сдавлением находятся боковые и III желудочки, субарахноидальные конвекситальные пространства, а также цистерны основания мозга. Нередко выявляют наличие мелкоочаговых геморрагий в белом веществе полушарий мозга, мозолистом теле, подкорковых и стволовых структурах.
Сдавление головного мозга
Сдавление головного мозга развивается более чем в 55% случаев черепно-мозговой травмы. Чаще всего причиной сдавления головного мозга становится внутричерепная гематома (внутримозговая, эпи- или субдуральная). Опасность для жизни пострадавшего представляют стремительно нарастающие очаговые, стволовые и общемозговые симптомы. Наличие и продолжительность т. н. «светлого промежутка» — развернутого или стертого — зависит от степени тяжести состояния пострадавшего.
На КТ определяют двояковыпуклую, реже плоско-выпуклую ограниченною зону повышенной плотности, которая примыкает к своду черепа и локализируется в пределах одной или двух долей. Однако, если источников кровотечения несколько, зона повышенной плотности может быть значительного размера и иметь серповидной форму.
Диагностика
При поступлении в реанимационное отделение пациента с черепно-мозговой травмой необходимо провести следующие мероприятия:
- Осмотр тела пострадавшего, во время которого обнаруживают либо исключают ссадины, кровоподтеки, деформации суставов, изменения формы живота и грудной клетки, крово- и/или ликворотечение из ушей и носа, кровотечение из прямой кишки и/или уретры, специфический запах изо рта.
- Всестороннее рентгеновское исследование: череп в 2-х проекциях, шейный, грудной и поясничный отдел позвоночника, грудная клетка, кости таза, верхних и нижних конечностей.
- УЗИ грудной клетки, УЗИ брюшной полости и забрюшинного пространства.
- Лабораторные исследования: общий клинический анализ крови и мочи, биохимический анализ крови (креатинин, мочевина, билирубин и т. д.), сахар крови, электролиты. Данные лабораторные исследования необходимо проводить и в дальнейшем, ежедневно.
- ЭКГ (три стандартных и шесть грудных отведений).
- Исследование мочи и крови на содержание алкоголя. В случае необходимости проводят консультацию токсиколога.
- Консультации нейрохирурга, хирурга, травматолога.
Обязательным методом обследования пострадавших с черепно-мозговой травмой является компьютерная томография. Относительными противопоказаниями к ее проведению могут служить геморрагический или травматический шок, а также нестабильная гемодинамика. С помощью КТ определяют патологический очаг и его расположение, количество и объем гипер- и гиподенсивных зон, положение и степень смещения срединных структур головного мозга, состояние и степень повреждения головного мозга и черепа.
При подозрении на менингит показано проведение люмбальной пункции и динамического исследования ликвора, которое позволяет контролировать изменения воспалительного характера его составе.
Неврологический осмотр пациента с черепно-мозговой травмой следует проводить каждые 4 часа. Для определения степени нарушения сознания используют шкалу комы Глазго (состояние речи, реакция на боль и способность открывать/закрывать глаза). Кроме того, определяют уровень очаговых, глазодвигательных, зрачковых и бульбарных расстройств.
Лечение черепно-мозговой травмы
Консервативная терапия
Пострадавшему с нарушением сознания 8 баллов и менее по шкале Глазго показана интубация трахеи, благодаря которой поддерживается нормальная оксигенация. Угнетение сознания до уровня сопора или комы — показание к проведению вспомогательной или контролируемой ИВЛ (не менее 50% кислорода). С ее помощью поддерживается оптимальная церебральная оксигенация.
Пациенты с тяжелой черепно-мозговой травмой (выявленные на КТ гематомы, отек мозга и т. д.) нуждаются в мониторинге внутричерепного давления, которое необходимо поддерживать на уровне ниже 20 мм рт.ст. Для этого назначают маннитол, гипервентиляцию, иногда — барбитураты.
Для профилактики септических осложнений применяют эскалационную или деэскалационную антибактериальную терапию. Для лечения посттравматических менингитов используют современные противомикробные препараты, разрешенные для эндолюмбального введения (ванкомицин).
Питание пациентов начинают не позже 3 трех суток после ЧМТ. Его объем увеличивают постепенно и в конце первой недели, прошедшей со дня получения черепно-мозговой травмы, он должен обеспечивать 100% калорическую потребность пациента. Способ питания может быть энтеральным или парентеральным. Для купирования эпилептических приступов назначают противосудорожные препараты с минимальным титрованием дозы (леветирацетам, вальпроаты).
Хирургическое лечение
Показанием к операции служит эпидуральная гематома объемом свыше 30 см³. Доказано, что метод, обеспечивающий максимально полную эвакуацию гематомы — транскраниальное удаление. Острая субдуральная гематома толщиной свыше 10 мм также подлежит хирургическому лечению. Пациентам в коме удаляют острую субдуральную гематому с помощью краниотомии, сохраняя или удаляя костный лоскут. Эпидуральная гематома объемом более 25 см³ также подлежит обязательному хирургическому лечению.
Прогноз
Сотрясение головного мозга — преимущественно обратимая клиническая форма черепно-мозговой травмы. Поэтому более чем в 90% случаев сотрясения головного мозга исходом заболевания становится выздоровление пострадавшего с полным восстановлением трудоспособности. У части пациентов по прошествии острого периода сотрясения головного мозга отмечают те или иные проявления посткоммоционного синдрома: нарушения когнитивных функций, настроения, физического благополучия и поведения. Через 5-12 месяцев после черепно-мозговой травмы эти симптомы исчезают или существенно сглаживаются.
Прогностическую оценку при тяжелой черепно-мозговой травме проводят при помощи шкалы исходов Глазго. Уменьшение общего кол-ва баллов по шкале Глазго повышает вероятность неблагоприятного исхода заболевания. Анализируя прогностическую значимость возрастного фактора, можно сделать вывод о его существенном влиянии как на инвалидизацию, так и на летальность. Сочетание гипоксии и артериальной гипертензии является неблагоприятным фактором прогноза.
Диффузное аксональное повреждение

В 1956 патолог Sabina Strich опубликовала результаты исследований макропрепаратов головного мозга пациентов, длительное время находившихся в посттравматичесом вегетативном статусе (до 1,5 лет). Это были солдаты, пострадавшие в американо-корейской войне и находившиеся в стационаре с диагнозом «тяжёлая черепно-мозговая травма». Однако при аутопсии у 15 умерших не было обнаружено макроскопически определяемых признаков травмы ГМ. Были отмечены лишь признаки атрофических изменений ГМ, не характерных для людей в столь молодом возрасте. Гистологически выявлялась диффузная дегенерация миелина в белом веществе. Обнаруженные изменения, по мнению S. Strich, можно было объяснить первичным разрывом аксонов непосредственно в момент травмы.
Несмотря на то, что после появления этой публикации выводы Strich встретили скепсис со стороны многих её коллег, сегодня диффузное аксональное повреждение (ДАП) признано одной из ведущих причин смерти при черепно-мозговой травме: по данным National Institute of Health Traumatic Coma Data Bank (США), частота ДАП составляет 28‒55 % от всей тяжёлой ЧМТ. Летальность при различных степенях тяжести ДАП колеблется от 47 до 70 %. Диффузное аксональное повреждение является причиной смерти 35 % пострадавших с тяжёлой ЧМТ.
Что происходит в момент приложения силы? Мозг при ударах или инерционном воздействии совершает движения в сагиттальной вертикальной и горизонтальной плоскостях. Особенно опасным считают ротационное воздействие.
При этом повреждаться в первую очередь будут волокна, более восприимчивые к натяжению и перекручиванию, а именно:
- на границе коры и белого вещества. Серое и белое вещества ГМ имеют разное содержание жидкости, и в момент удара более пластичное белое вещество смещается относительно более плотного серого;
- вокруг желудочков мозга. Ранее считалось, что спинномозговая жидкость и желудочки мозга должны амортизировать повреждение мозга, а не вызывать их. Однако использование более приближённых к реальному мозгу моделей ДАП позволило установить, что турбулентный ток жидкости в момент травмы приводит к появлению «волн» в пограничном слое белого вещества, что приводит к разрыву аксонов в перивентрикулярных зонах;
- области, в которых сконцентрированы длинные аксоны, связывающие кору большого мозга с подкорковыми структурами и мозговым стволом. В случае удара большой силы полушария мозга подвергаются ротации относительно фиксированных стволовых отделов, при этом даже незначительное смещение мозга может быть достаточным для разрыва нервных волокон, синапсов и кровеносных сосудов. Именно в этих участках и выявляются макроскопические изменения, характерные для тяжёлой степени ДАП — мелкоочаговые надрывы с геморрагиями в мозолистом теле и мелкоочаговые кровоизлияния в передних отделах ствола мозга.

Рисунок 1 | Типичная локализация аксональных повреждений (чёрные кружки) и очагов геморрагии (заштрихованные участки) (К. Bostrom, C.G. Helander, 1986).
- тип — аксональные повреждения в белом веществе обоих полушарий большого мозга, мозолистом теле, мозговом стволе и мозжечке;
- тип — дополнительно к описанным изменениям имеются локальные повреждения в мозолистом теле;
- тип — в дополнение к перечисленным изменениям имеются локальные повреждения в дорсолатеральных участках ростральных отделов мозгового ствола.
Нетрудно догадаться, что чем «выше» тип повреждения, тем скорее всего, тяжелее состояние больного и тем вероятно большая сила была приложена.
Классической причиной ДАП считаются ДТП, произошедшие на большой скорости. Однако описаны подобные повреждения и у спорстменов (футболисты, хоккеисты и игроки в сокер, сталкивающиеся друг с другом и с препятствиями) и даже в виде «симптома детского сотрясения» — как результат встряхивающих движений при попытке «укачать» ребёнка.
- округлые/овальные очаги изменённой плотности, размещённые диффузно в зонах характерной локализации (мозжечок, ножки мозга, мозолистое тело, перивентрикулярно и в гемифсерах на границе белого и серого вещества);
- геморрагические очаги лучше проявляются на КТ - они будут выглядеть гиперденсными. Очаги без геморрагии - гиподенсными, последние выявляются крайне редко;
- очаги аксонального повреждения могут не обнаруживаться при исследовании, сделанном сразу после поступления пациента, но становиться видимыми через несколько суток после травмы;
- кроме собственно очагов повреждения, может наблюдаться отёк мозга в виде потери дифференциации серого и белого вещества, сужения желудочков, пролабирования миндалин мозжечка в большое затылочное отверстие (нужно дифференцировать с синдромом Арнольда-Киари - явления отёка временные); также можно наблюдать другие изменения, хараткерные для ЧМТ: гематомы, в том числе субдуральные, нарушение целостности костей черепа и т.д.
Рис. 2 и 3 демонстрируют типичные изменения, обнаруживаемые при КТ.

Рисунок 2.

Рисунок 3.
Рис. 4 наглядно демонстрирует более высокую специфичность МРТ к ДАП по сравнению с КТ — сравните с рис.3 (тот же пациент).
Читайте также:
