Нециклическое фосфорилирование. Циклическое фотофосфорилирование.
Добавил пользователь Владимир З. Обновлено: 13.12.2025
По фотофосфорилированию у растений выполнено огромное число научных работ [1707, 1870]. Сравнительная роль нециклического и циклического фотофосфорилирования была установлена исследователями школы Арнона [1338]. Было показано, что в противоположность бактериям, у которых преобладает циклический процесс, «у растений в фотосинтезе доминирующим фотохимическим процессом, по-видимому, является нециклическое фотофосфорилирование, поскольку, кроме того что оно поставляет АТФ, оно также представляет собой единственный механизм, выполняющий перенос водорода (через от воды к Таким образом, циклическое фотофосфорилирование у растений, вероятно, удовлетворяет потребность в АТФ для ассимилирования углерода, которая не удовлетворяется полностью нециклическим фотофосфорилированием». Гест [685, 686], не соглашающийся с мнением о роли циклических процессов у бактерий, считает нециклический поток электронов и фотофосфорилирование высокоусовершенствованным и уникальным процессом — фотофитотрофией. Первый сравнительно устойчивый акцептор электронов в нециклическом потоке у растений — ферредоксин [76—78, 81, 82, 88], но поиск первичного акцептора
электронов, имеющего даже более низкий отрицательный потенциал все еще продолжается [179, 966].
При нециклическом потоке электронов синтез АТФ, сопряженный с темновыми реакциями, происходит при переносе электрона между фотосистемами I и II, но, возможно, также и в системе II. Сейчас широко распространено мнение, что в этом участвуют несколько точек фосфорилирования [235, 779, 730, 731, 883, 914, 1527, 1965]. На каждую пару электронов, перенесенных к ферредоксину и, следовательно, к может синтезироваться 1—2 молекулы АТФ [815, 1871]. В рамках химио-осмотической гипотезы (8, Д, 14, Б), которая предусматривает нестехиометрическое сопряжение, возможны нецелые значения продукции АТФ на пару перенесенных электронов.
Как растениям, так и бактериям только для ассимиляции углерода в цикле Кальвина требуется больше АТФ, чем а именно 3 молекулы АТФ и 2 молекулы на 1 молекулу Если на 1 молекулу (на пару электронов) производится только 1 молекула АТФ, то недостающее количество АТФ должно восполняться каким-то другим образом, по-видимому в основном за счет циклического фотофосфорилирования. Акцептором электрона в циклическом потоке электронов у растений может опять-таки быть ферредоксин [76, 82, 430, 1836]. В циклическом процессе электроны могут течь от ферредоксина к одному из членов «мостика» между фотосистемой I и фотосистемой II. Однако, каков вклад каждого из этих процессов (нециклического и циклического) в поставку АТФ для ассимилирования углерода, еще не ясно [1007, 1519, 1842, 1871].
О большой роли циклического процесса свидетельствует значительное подавление выхода фотосинтетической ассимиляции после избирательного ингибирования циклического процесса в хлоропластах антимицином А и значительное изменение состава получающихся продуктов Циклическое фотофосфорилирование важно также и для других функций, кроме ассимиляции [1707]. После ингибирования нециклического процесса (дихлорфенилдиметилмоче-вина) циклический процесс продолжает поддерживать многочисленные разнообразные функции клетки, для которых требуется АТФ, но не требуется восстановительной силы [1512, 1667], например синтез белка из аминокислот. Ассимиляция при этом, разумеется, невозможна.
В «псевдоциклическом» потоке электронов, обнаруженном Арноиом [82, 87] на основе наблюдений Мелера [1242], используются механизмы нециклического потока, но в конечном
счете синтезируется только АТФ. Суть этого процесса в том, что восстановитель, образованный фотохимическим способом, снова окисляется за счет свободного кислорода. В итоге перемещения электрона в этом процессе не происходит. Циклическое фосфорилирование можно отличить от нециклического в эксперименте с применением специфических ингибиторов.
Рис. 12.4. Три световые реакции у растений (по Аряону). Нециклический и циклический пути независимы. На рисунке не учитывается тот факт, что в световой реакции ферредокскну может предшествовать первичный акцептор электрона (см. рис. 12.1). Окислительно-восстановительные потенциалы приведены также на фиг. 12.1. Фосфорилирование не показано.
Предполагают, что в присутствии воздуха не циклический, а псевдоциклический процесс дает в случае необходимости дополнительный АТФ [821].
В самой фотосистеме I обычно происходит только циклическое фосфорилирование. Однако возможно искусственным путем вводить в фотосистему I электроны извне от достаточно сильного восстановителя, так что эта система будет производить в конечном результате восстановительную силу. Подобный процесс у растений назван «нециклическим фотофосфорилированием бактериального типа» [89, 1174]. Для него пригодна, например, аскорбиновая кислота в присутствии катализатора (медиатора) дихлорфенолиндофенола (ДФИФ) (см., однако, [235]).
Большинство авторов полагает, что поток электронов через фотосистему I и в нециклическом, и в циклическом процессах идет, как показано на -схеме. Но Арнон считает, что фотосистема I служит только для циклического процесса [79, 80, 89, 1240]. Согласно Арнону, нециклический процесс происходит только в системе II. Таким образом, по его мнению, механизмы циклического и нециклического процессов
работают параллельно и не связаны между собой ни в одном из звеньев. Усиление интенсивности фотосинтеза в этом случае интерпретируется как синергизм нециклического и циклического потоков электронов (фотосистемы II и I), причем до разной степени используются свет II и свет Нециклический поток через систему I, по мнению Арнона, нефизиологичен.
Но в последних работах Арнона и др. [83, 85, 1017, 1196, 1199] сохраняется одна важная черта -схемы: два кванта световой энергии используются последовательно для нециклического процесса («фотосистемы ). Таким образом, уже предполагается существование трех различных световых реакций (рис. 12.4).
Циклическое и нециклическое фотосинтетическое фосфорилирование
Фотосинтетическое фосфорилирование - образование АТФ в ходе реакций, активируемых светом в хлоропластах, может осуществляться циклическим и нециклическим путями.

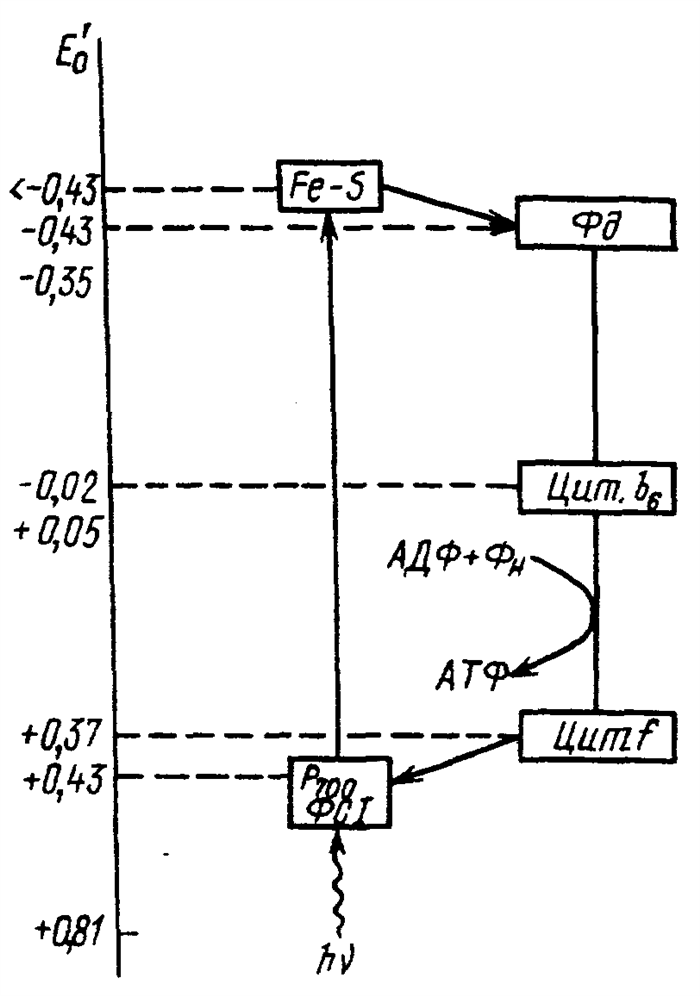
Циклическое фотофосфорилирование (ЦФФ) является более простым и эволюционно более древним. При циклическом фотофосфорилировании функционирует только ФС1 и ее единственным продуктом является АТФ. Циклическое фотофосфорилирование было открыто в 1954 г. Аргоном, Алленом и Френкелем на изолированных хлоропластах шпината. Сущность циклического фотофосфорилирования заключается в следующем (рис.).
Рис. Схема циклического транспорта электронов.
При поглощении кванта света один их электронов пигмента РЦ (P700) переходит на более высокий энергетический уровень. В этом состоянии он захватывается белком, содержащим Fe и S (Fe-S-центр), а затем передается на Fe-содержащий белок ферридоксин. Дальнейший путь электрона - поэтапный, его транспорт обратно к P700 через ряд промежуточных переносчиков, среди которых имеются флавопротеиды и цитохромы. По мере транспорта электрона его энергия высвобождается и используется на присоединение Фн к АДФ с образованием АТФ.
Т.о., при циклическом фотофосфорилировании энергия света расходуется на перенос электрона на высоковосстановленное соединение, т. е. против градиента ОВ-потенциала, а затем электрон «скатывается с горки», образованной переносчиками с убывающим уровнем восстановленности, и, обедненный энергией, возвращается на ФС1. Механизмы сопряжения (АТФ-азный комплекс) обеспечивают на этом отрезке пути запасание энергии в виде АТФ. У простейших автотрофов - бактерий - это единственный путь фотофосфорилирования.
Нециклическое фотофосфорилирование (НЦФФ). У высших растений в процессе эволюции появился более сложный путь, который осуществляется при участии двух ФС и обеспечивает восстановление НАДФ за счет фотоокисления воды. Причем восстановление НАДФ осуществляет ФС 1, а фотоокисление воды - ФС 2. Эти две системы функционируют одновременно и взаимосвязанно. Р. Хиллом и Ф. Бендаллом (1960) разработана схема последовательности реакций, которая получила название схемы нециклического транспорта электронов, или Z-схемы (рис.).
При возбуждении P700 в РЦ ФС1 электрон захватывается мономерной формой хлорофилла а и затем последовательно передается через железосерные белки, ферридоксин, флавопротеиды на восстановление НАДФ. P700, не получив электрона обратно, как в случае ЦФФ, приобретает положительный заряд, который компенсируется электроном ФС2.
В ФС2 P680, возбужденный квантом света, передает электрон феофитину. От феофитина электрон, теряя энергию, последовательно передается на пластохиноны, железосерный белок, цитохром f, пластоцианин и, наконец, на P700 ФС1. Энергия, освобождающаяся при транспорте электрона от возбужденной ФС2 на ФС1, используется для синтеза АТФ из АДФ и Фн.
P680, оставшись без электрона, приобретает способность получать электрон от воды. Несмотря на активное исследование, детально механизм процесса фотоокисления воды не установлен. Показано участие белкового комплекса и переносчика электронов Z для функционирования которых необходимы Mn, Cl и Са.
Т.о., при НЦФФ происходит линейный или открытый (не замкнутый по циклу) транспорт электронов. Донором электронов является вода, конечным акцептором - НАДФ. Причем происходит одновременно двухэлектронный транспорт. Передача электронов осуществляется при участии двух ФС, поэтому для переноса каждого электрона расходуются два кванта света. На участке между ФС2 и ФС1 транспорт электрона идет по убывающему градиенту ОВП с высвобождением энергии и запасанием ее в АТФ.
Наряду с нециклическим в мембранах хлоропластов высших растений функционирует циклический транспорта электронов. Причем ферридоксин выполняет роль регулятора потока электронов. При возрастании потребности в АТФ часть электронов от ферридоксина через систему цитохромов возвращается к P700 с образованием АТФ. Восстановление НАДФ в этом случае не идет, и фотоокисления воды при участии ФС2 нетребуется.
Белковые комплексы, участвующие в фотохимических реакциях фотосинтеза, в мембранах хлоропластов распределены неравномерно. Наибольшие различия наблюдаются между теми мембранами, которые плотно состыкованы друг с другом в гранах и теми участками мембран, которые контактируют со стромой, - закругленные участки тилакоидов гран и мембраны тилакоидов стремы (рис.).
ФС2 и ССК находятся в основном в плотносостыкованных мембранах гран. ФС1 со своим ССК и АТФ-азный комплекс находятся на несостыкованных участках мембран. Взаимодействие между ними осуществляется с помощью легкоподвижного в липидной фазе пластохинона, а также благодаря перемещению водорастворимого пластоцианина вдоль внутренних поверхностей ламелл и водорастворимого ферридоксина вдаль наружных поверхностей.
К латеральным перемещениям способны пигментбелковые комплексы. Например, восстановление в избыточных количествах пластохинона ФС2 способствует перемещению ССК в стромальную область мембраны и возрастанию миграции поглощенной энергии света с ФС1. Возросшая фотохимическая активность ФС1 усиливает окисление пластохинона, что приводит к обратному перемещению ССК. Таким образом, система взаимной регуляции активности ФС1 и ФС2 включает латеральный транспорт белковых комплексов в мембранах хлоропластов.
Разница между циклическим и нециклическим фотофосфорилированием
Основное отличие - циклическое и нециклическое фотофосфорилирование
Во время световой реакции фотосинтеза высокоэнергетические электроны создаются захватом световой энергии фотосистемами. Эти электроны высокой энергии удаляются из фотосистем и проходят через серию молекулярных комплексов, известных как электронно-транспортная система (ETS), синтезирующая АТФ. Этот процесс называется фотофосфорилированием. Двумя типами фотофосфорилирования являются циклическое и нециклическое фосфорилирование. Циклическое фотофосфорилирование происходит во время аноксигенного фотосинтеза, в то время как нециклическое фотофосфорилирование происходит во время оксигенного фотосинтеза. главное отличие между циклическим и нециклическим фотофосфорилированием является то, что при циклическом фотофосфорилировании электроны движутся по круговой схеме, тогда как при нециклическом фотофосфорилировании электроны движутся по линейной схеме.
Ключевые области покрыты
1. Что такое циклическое фотофосфорилирование
- Определение, Механизм, Значение
2. Что такое нециклическое фотофосфорилирование
- Определение, Механизм, Значение
3. Каковы сходства между циклическим и нециклическим фотофосфорилированием
- Краткое описание общих черт
4. В чем разница между циклическим и нециклическим фотофосфорилированием
- Сравнение основных различий
Ключевые термины: циклическое фотофосфорилирование, электронно-транспортная система (ETS), NADP, нециклическое фотофосфорилирование, кислород, PS I, PS II
Что такое циклическое фотофосфорилирование
Циклическое фотофосфорилирование относится к синтезу АТФ во время световой реакции фотосинтеза, связанной с циклическим прохождением электронов в и из фотосистемы I (P700). Таким образом, в циклическом фотофосфорилировании участвует только один тип фотосистемы. Изгнанные электроны высокой энергии проходят через ETS и возвращаются обратно к P700. Отсюда НАДП + не используется в качестве конечного акцептора электронов. Поскольку фотосистема II не используется во время циклического фотофосфорилирования, при циклическом фотофосфорилировании кислород не образуется. Циклическое фотофосфорилирование показано на Рисунок 1.
Рисунок 1: Циклическое фотофосфорилирование
Как правило, циклическое фотофосфорилирование происходит в фотосинтезирующих бактериях, таких как зеленые серные и несульфурные бактерии, пурпурные бактерии, гелиобактерии и ацидобактерии. Когда запас АТФ падает и при высоких концентрациях НАДФН, хлоропласты также переходят в циклическое фотофосфорилирование.
Что такое нециклическое фотофосфорилирование
Нециклическое фотофосфорилирование относится к синтезу АТФ во время световой реакции фотосинтеза, когда требуется донор электронов и кислород образуется в качестве побочного продукта. Фотосистема I (P700) и фотосистема II (P680) используются в нециклическом фотофосфорилировании. Излученные из P680 электроны высокой энергии проходят через ETS и возвращаются в P700. На P700 эти электроны поглощаются NADP + , производящий НАДФ. В P680 происходит фотолиз, расщепляющий воду, чтобы заменить высвобожденные электроны P680. Во время этого процесса кислород вырабатывается как побочный продукт. Нециклическое фотофосфорилирование показано на фигура 2.
Рисунок 2: Нециклическое фотофосфорилирование
Как правило, нециклическое фотофосфорилирование происходит у растений, водорослей и цианобактерий. Во время нециклического фотофосфорилирования образуются как АТФ, так и НАДФН.
Сходства между циклическим и нециклическим фотофосфорилированием
- Во время световой реакции фотосинтеза происходит как циклическое, так и нециклическое фотофосфорилирование.
- Циклическое и нециклическое фотофосфорилирование являются двумя типами ETS.
- И циклическое, и нециклическое фотофосфорилирование зависят от света.
- Как циклическое, так и нециклическое фотофосфорилирование генерируют АТФ.
Разница между циклическим и нециклическим фотофосфорилированием
Определение
Циклическое фотофосфорилирование: Циклическое фотофосфорилирование относится к синтезу АТФ во время световой реакции фотосинтеза, связанного с циклическим прохождением электронов к и от P700.
Нециклическое фотофосфорилирование: Нециклическое фотофосфорилирование относится к синтезу АТФ во время световой реакции фотосинтеза, при которой требуется донор электронов, а кислород вырабатывается в качестве побочного продукта.
Вхождение
Циклическое фотофосфорилирование: Циклическое фотофосфорилирование происходит в изолированных хлоропластах и фотосинтезирующих бактериях.
Нециклическое фотофосфорилирование: Нециклическое фотофосфорилирование встречается у растений, водорослей и цианобактерий.
Тип фотосинтеза
Циклическое фотофосфорилирование: Циклическое фотофосфорилирование происходит при аноксигенном фотосинтезе.
Нециклическое фотофосфорилирование: Нециклическое фотофосфорилирование происходит при кислородном фотосинтезе.
Электронное движение
Циклическое фотофосфорилирование: Электроны движутся по циклической схеме при циклическом фотофосфорилировании.
Нециклическое фотофосфорилирование: Электроны движутся по линейной схеме при нециклическом фотофосфорилировании.
фотосистемы
Циклическое фотофосфорилирование: Только фотосистема I участвует в циклическом фотофосфорилировании.
Нециклическое фотофосфорилирование: Обе фотосистемы I и II участвуют в нециклическом фотофосфорилировании.
Электроны, впервые изгнанные из
Циклическое фотофосфорилирование: Электроны первыми удаляются из реакционного центра PS I при циклическом фотофосфорилировании.
Нециклическое фотофосфорилирование: Электроны сначала удаляются из реакционного центра PS II при нециклическом фотофосфорилировании.
Судьба Электронов
Циклическое фотофосфорилирование: Электроны возвращаются к P700 после прохождения ETS в циклическом фотофосфорилировании.
Нециклическое фотофосфорилирование: Электроны возвращаются в реакционный центр P680, и они принимаются НАДП + в нециклическом фотофосфорилировании.
Конечный электронный акцептор
Циклическое фотофосфорилирование: Конечный акцептор электронов циклического фотофосфорилирования представляет собой P700.
Нециклическое фотофосфорилирование: Конечный акцептор электронов нециклического фотофосфорилирования - НАДФ + .
фотолиз
Циклическое фотофосфорилирование: Фотолиз не происходит при циклическом фотофосфорилировании.
Нециклическое фотофосфорилирование: Фотолиз происходит при нециклическом фотофосфорилировании.
кислород
Циклическое фотофосфорилирование: Кислород не образуется при циклическом фотофосфорилировании.
Нециклическое фотофосфорилирование: Кислород образуется при нециклическом фотофосфорилировании.
Результат
Циклическое фотофосфорилирование: Только АТФ продуцируется при циклическом фотофосфорилировании.
Нециклическое фотофосфорилирование: Как АТФ, так и восстановленные коферменты образуются при нециклическом фотофосфорилировании.
Эффект света
Циклическое фотофосфорилирование: Циклическое фотофосфорилирование происходит при низкой интенсивности света.
Нециклическое фотофосфорилирование: Нециклическое фотофосфорилирование происходит при более высокой интенсивности света.
Анаэробные / Аэробные
Циклическое фотофосфорилирование: Циклическое фотофосфорилирование происходит в основном в анаэробных условиях.
Нециклическое фотофосфорилирование: Нециклическое фотофосфорилирование происходит в основном в аэробных условиях.
ингибирование
Циклическое фотофосфорилирование: Диурон не может ингибировать циклическое фотофосфорилирование.
Нециклическое фотофосфорилирование: Нециклическое фотофосфорилирование ингибируется Диуроном.
Заключение
Циклическое и нециклическое фотофосфорилирование являются двумя механизмами фотофосфорилирования, которые происходят во время световой реакции фотосинтеза. Циклическое фотофосфорилирование происходит в фотосинтезирующих бактериях во время аноксигенного фотосинтеза. Нециклическое фотофосфорилирование происходит у растений, водорослей и цианобактерий во время кислородного фотосинтеза. Электроны движутся в цикле во время циклического фотофосфорилирования, в то время как они не рециркулируются при нециклическом фотофосфорилировании. Основное различие между циклическим и нециклическим фотофосфорилированием заключается в их движении электронов.
Ссылка:
1. «Циклический и нециклический поток электронов».Мандевильская средняя школа,
Разница между циклическим и нециклическим фотофосфорилированием

Ключевое отличие - циклическое и нециклическое фотофосфорилирование
Фотофосфорилирование или фотосинтетическое фосфорилирование - это процесс, при котором АТФ продуцируется во время светозависимых реакций фотосинтеза. Фосфатная группа добавляется к АДФ с образованием АТФ, используя движущую силу протонов, генерируемую во время циклических и нециклических цепей переноса электронов при фотосинтезе. Энергия поступает от солнечного света, чтобы инициировать процессы, и синтез АТФ происходит на комплексах АТФазы, расположенных в тилакоидных мембранах хлоропластов.. Синтез АТФ во время циклического электронного потока аноксигенного фотосинтеза известен как циклическое фотофосфорилирование. Производство АТФ во время нециклического электронного потока кислородного фотосинтеза известно как нециклическое фотофосфорилирование. Это ключевое различие между циклическим и нециклическим фотофосфорилированием.
СОДЕРЖАНИЕ
1. Обзор и основные отличия
2. Что такое циклическое фотофосфорилирование
3. Что такое нециклическое фотофосфорилирование
4. Сравнение бок о бок - циклическое и нециклическое фотофосфорилирование
5. Резюме
Что такое циклическое фотофосфорилирование?
Циклическое фосфорилирование представляет собой процесс, который продуцирует АТФ из АДФ во время светозависимой циклической цепи переноса электронов фотосинтеза. Фотосистема I участвует в этом процессе. Когда хлорофиллы PS I поглощают световую энергию, электроны высокой энергии высвобождаются из реакционного центра P700. Эти электроны принимаются первичным акцептором электронов, а затем проходят через несколько акцепторов электронов, таких как ферредоксин (Fd), пластохинон (PQ), комплекс цитохрома и пластоцианин (PC). Наконец, эти электроны возвращаются к P700 после прохождения циклического движения. Когда электроны движутся вниз через электронные носители, они высвобождают потенциальную энергию. Эта энергия используется для производства АТФ из АДФ ферментом АТФ-синтазы. Следовательно, этот процесс известен как циклическое фотофосфорилирование.
PS II не участвует в циклическом фотофосфорилировании. Следовательно, вода не участвует в этом процессе; в результате циклическое фотофосфорилирование не генерирует молекулярный кислород как побочный продукт. Поскольку электроны возвращаются в PS I, во время циклического фотофосфорилирования не генерируется восстановительная мощность (без NADPH)..

Рисунок 01: Циклическое фотофосфорилирование
Что такое нециклическое фотофосфорилирование?
Нециклическое фотофосфорилирование - это процесс синтеза АТФ с использованием световой энергии посредством нециклической электронно-транспортной цепи фотосинтеза. В этом процессе задействованы два типа фотосистем: PS I и PS II. Нециклическое фотофосфорилирование инициируется PS II. Он поглощает энергию света и высвобождает электроны высокой энергии. Молекулы воды расщепляются вблизи PS II, выделяя протоны (ионы H +) и молекулярный кислород за счет поглощенной энергии. Электроны высокой энергии принимаются первичным акцептором электронов и проходят через пластохинон (PQ), комплекс цитохрома и пластоцианин (PC). Затем эти электроны поглощаются PS I. Принятые электроны PS I снова проходят через акцепторы электронов и достигают НАДФ. + . Эти электроны соединяются с Н + и НАДП + сформировать НАДФН и разорвать цепь переноса электронов. Во время цепи переноса электронов высвобождаемая энергия используется для производства АТФ из АДФ. Поскольку электроны не возвращаются в PS II, этот процесс известен как нециклическое фотофосфорилирование.
По сравнению с циклическим фотофосфорилированием нециклическое фотофосфорилирование является обычным явлением и широко наблюдается у всех зеленых растений, водорослей и цианобактерий. Это вирусный процесс для живых организмов, так как это единственный процесс, который выделяет молекулярный кислород в окружающую среду..

Рисунок 02: Нециклическое фотофосфорилирование
В чем разница между циклическим и нециклическим фотофосфорилированием?
Циклическое и нециклическое фотофосфорилирование
Резюме - Циклическое и нециклическое фотофосфорилирование
АТФ производится за счет энергии света, поглощенной в процессе фотосинтеза. Этот процесс известен как фотофосфорилирование. Фотофосфорилирование может происходить двумя путями, известными как циклическое и нециклическое фотофосфорилирование. Во время циклического фотофосфорилирования электроны высокой энергии проходят через акцепторы электронов в циклических движениях и выделяют энергию для производства АТФ. Во время нециклического фотофосфорилирования электроны высокой энергии проходят через акцепторы электронов в Z-образных нециклических движениях. Высвобожденные электроны не возвращаются в те же фотосистемы при нециклическом фотофосфорилировании. Однако в обоих процессах АТФ продуцируется одинаково с использованием потенциальной энергии, выделяемой цепью переноса электронов. Нециклическое фотофосфорилирование дает АТФ, О2, и NADPH, тогда как циклическое фотофосфорилирование продуцирует только АТФ. Обе фотосистемы участвуют в нециклическом фотофосфорилировании, тогда как только одна фотосистема (PS I) участвует в циклическом фотофосфорилировании. В этом разница между циклическим и нециклическим фотофосфорилированием.
Изображение предоставлено:
1. «Циклическое фотофосфорилирование» Дэвид Берард - собственная работа (CC0) через Commons Wikimedia
2. «Тилакоидная мембрана 3» By Somepics - собственная работа (CC BY-SA 4.0) через Commons Wikimedia
Циклическое фотофосфорилирование
При этом используется обходной путь переноса электронов от возбужденного реакционного центра – а именно та же цепь переноса электронов, которая ведет из фотосистемы 2. Электроны проходят по ней возвращаются обратно к реакционному центру фотосистемы 1 – Р700. Т.о. электроны возвращаются обратно к Р700 по другой цепи переноса электронов. Как и при нециклическом фосфорилировании энергия возбуждения электронов, перемещающихся вдоль этой цепи, направляется на получение АТФ.
Оно может идти параллельно с нециклическим. Кроме того, оно используется некоторыми фотосинтетическими бактериями, которые в процессе фотосинтеза не выделяют кислорода.
Сравнение циклического и нециклического фотофосфорилирования
Таким образом, в световую фазу происходит фотолиз воды, который сопровождается тремя важнейшими процессами:
2) образованием НАДФ·Н2;
3) образованием кислорода. Кислород диффундирует в атмосферу, АТФ и НАДФ·Н2 транспортируются в строму хлоропласта и участвуют в процессах темновой фазы.
количество АТФ, синтезируемое АТФ-синтетазой, не связано жесткой зависимостью от количества электронов, пропущенных по цепочке белков в фотосистеме II.
Темновая фаза
Протекает в строме хлоропласта.
Для ее реакций не нужна энергия света, поэтому они происходят не только на свету, но и в темноте.
Реакции темновой фазы представляют цепочку последовательных преобразований углекислого газа (поступает из воздуха), приводящую к образованию глюкозы и других органических веществ.
В настоящее время различают два типа фотосинтеза: С3- и С4-фотосинтез. Это тип фотосинтеза, при котором первым продуктом являются трехуглеродные (С3) соединения. С3-фотосинтез был открыт раньше С4-фотосинтеза (М. Кальвин).
Характерные особенности С3-фотосинтеза:
1) Первая реакция в этой цепочке - фиксация углекислого газа. Акцептором углекислого газа является рибулозодифосфат,
2) реакцию карбоксилирования рибулозодифосфата катализирует рибулозодифосфат-карбоксилаза,
3) в результате карбоксилирования рибулозодифосфат образуется шестиуглеродное соединение, которое распадается на две фосфоглицериновой кислоты.
фосфоглицериновая кислота восстанавливается до триозофосфатов (ТФ). Часть ТФ идет на регенерацию рибулозодифосфата, часть превращается в глюкозу. В этих реакциях используются энергии АТФ и НАДФ·Н2, образованных в световую фазу;
цикл этих реакций получил название цикл Кальвина:
Кроме глюкозы, в процессе фотосинтеза образуются другие мономеры сложных органических соединений — аминокислоты, глицерин и жирные кислоты, нуклеотиды.
С3-фотосинтез
Читайте также:
