Систолическая перегрузка правого желудочка. Объемная перегрузка желудочков сердца
Добавил пользователь Владимир З. Обновлено: 28.01.2026
Что такое легочная гипертензия и значение эхокардиографии?
- Эхокардиография показывает, что у пациентов с легочной гипертензией (ЛГ) и легочным сердцем отмечается высокая заболеваемость и смертность.
- На легочное сердце приходится 20% госпитализаций по поводу сердечной недостаточности и 40 000 смертей в год в России.
- Симптомы и физические данные, связанные с легочной гипертензией и легочным сердцем, недостаточно специфичны.
- История болезни и физикальное обследование ограничены в определении этиологии, тяжести и прогноза ЛГ и легочного сердца.
ОПРЕДЕЛЕНИЕ: Легочное сердце - это дилатация правого желудочка, гипертрофия или диастолическая или систолическая дисфункция из-за ЛГ в отсутствии болезни левого сердца.
ОБЩИЕ ЭТИОЛОГИЧЕСКИЕ ФАКТОРЫ ЛЕГОЧНОЙ ГИПЕРТОНИИ
- Облитерирующая: хроническая обструктивная болезнь легких, характеризующаяся разрушением легочных капиллярных пластов.
- Сосудосуживающее: обструктивное апноэ во сне и гиповентиляция от ожирения.
- Обструктивная: острая или хроническая легочная эмболия, на которую приходится более 300 000 случаев легочной гипертонии в России каждый год; также включает первичную легочную (ПЛГ) с частотой двух случаев на миллион и соотношением женщин и мужчин 1,7: 1,0.
- Гиперкинетический: шунтирование слева направо от дефекта межпредсердной или желудочковой перегородки, открытого артериального протока или аномального легочного венозного оттока, приводящего к объему правого желудочка, а затем к перегрузке правого желудочкового давления.
ЭХОКАРДИОГРАФИЯ (ПОКАЗАНИЯ ПРИ ЛГ)
Показания класса I для проведения эхокардиографии
- Трансторакальная эхокардиография ( TT Э) может установить диагноз, степень тяжести и прогноз у пациентов с ЛГ с легочным сердцем или без него.
- TT Э может дифференцировать острое от хронического легочного сердца и правое заболевание сердца, вторичное по отношению к заболеванию левого сердца.
- Эхокардиография может определить степень дилатации правого желудочка, гипертрофию и его дисфункцию.
- Чреспищеводная эхокардиография (ЧПЭхоКГ) может выявлять крупные проксимальные тромбоэмболии легочной артерии у пациентов с гемодинамически нарушенной функцией правого желудочка.
- ЧПЭхоКГ превосходит ТТЭ в обнаружении и характеристике тромбов в правом предсердии и правом желудочке, что может иметь дополнительное диагностическое значение при внутрисердечных шунтах.
- Внутрисосудистое ультразвуковое исследование обеспечивает гистологическую и функциональную оценку легочной сосудистой системы и помогает дифференцировать первичную легочную гипертензию от хронической тромбоэмболии легочной артерии.
Показания класса I для эхокардиографии при легочной гипертонии и легочном сердце
- Подозревается легочная гипертензия.
- Для различия сердечной и некардиальной этиологии одышки у пациентов, у которых клинические и лабораторные признаки неоднозначны.
- Оценка и наблюдение давления в легочной артерии у пациентов с легочной гипертензией для оценки ответа на лечение.
- Заболевание легких с клиническим подозрением на поражение сердца (подозрение на легочное сердце).
- Отеки с клиническими признаками повышенного центрального венозного давления, когда подозревается потенциальная этиология болезней сердца или когда центральное венозное давление не может быть достоверно оценено, и клиническое подозрение на патологию сердца является высоким.
- Одышка с клиническими признаками порока сердца.
- Пациент с необъяснимой гипотонией, особенно в отделении интенсивной терапии.
- Диагностика и оценка тяжести гемодинамики правосторонней клапанной регургитации.
- Оценка размера, функции и / или гемодинамики правого желудочка у пациента с правосторонней клапанной регургитацией.
- Тромбоэмболия легочной артерии и подозреваемые тромботические сгустки в правом предсердии или желудочке или ветвях основной легочной артерии.

М-режим и двумерная эхокардиография: морфология правого сердца. Лучшие подходы для изучения правых отделов
- Парастернальная позиция ЭхоКГ по длинной и короткой осям, а также апикальные и подреберные четырехкамерные изображения.
- ЧПЭхоКГ из трансгастральной позиции с видом на длинную ось и короткую ось правого желудочка (ПЖ) и средне-пищеводный четырехкамерный вид.
Ключевые диагностические особенности специфических отклонений на эхокардиографии
- Диастолический диаметр правого желудочка> 3,5 см с парастернальной и подреберной проекций> 4 см и с апикальной четырехкамерной проекции указывает на расширение правого желудочка.
- При легкой дилатации правого желудочка его площадь остается меньше, чем область левого желудочка.
- Соотношение конечного диастолического отдела правого желудочка и левого желудочка 1,0 указывает на выраженную дилатацию правого желудочка.
- Верхушка правого желудочка обычно расположена ниже верхушки левого желудочка на одну треть расстояния от основания до вершины. Любое изменение этого признака предполагает расширение правого желудочка.
Гипертрофия правого желудочка на эхокардиографии
- Нормальная свободная стенка ПЖ имеет размеры от 0,2 до 0,5 см в конце диастолы. Гипертрофия правого желудочка (ГПЖ) присутствует, если утолщение свободной стенки правого желудочка превышает 0,5 см.
- ГПЖ является предиктором высокого систолического давления в правом желудочке.
Правожелудочковая систолическая дисфункция
- С помощью контрастных методов установлено, что нормальная фракция выброса правого желудочка составляет ≥40%.
- Систолическая функция правого желудочка на эхокардиографии обычно оценивается визуально.
- Систолическое отклонение кольца трехстворчатого клапана вниз зависит от систолической функции правого желудочка.
- Функция правого желудочка в норме, если отклонение фиброзного кольца к верхушке> 2 см.
- Кольцевая систолическая экскурсия правого желудочка
Систолическое давление в правом желудочке и объемная перегрузка на эхокардиографии
Высокое систолическое давление в правом желудочке приводит к удлинению фазы выброса, и в результате давление в правом желудочке превышает давление в левом желудочке во время поздней систолы и ранней диастолы. Таким образом, перегрузка правого желудочка приводит к уплощенной или изогнутой перегородке в направлении левого желудочка (ЛЖ) во время поздней систолы и ранней диастолы (« D -образный ЛЖ»), которая восстанавливает свою обычную форму во время средней и поздней диастолы. Эта картина движения перегородки наблюдается у пациентов с легочной гипертензией (давление> 45 мм рт. ст.), но может отсутствовать у пациентов с повышенным конечным диастолическим давлением в левом желудочке. При перегрузке объемом правого желудочка смещение перегородки к ЛЖ наблюдается в середине диастолы, так как диастолическое давление превышает таковое в левом желудочке на этой фазе. Во время систолы перепад давления меняется на противоположный, и перегородка восстанавливает свой нормальный контур. Эта картина движения перегородки менее заметна, если сосуществуют перегрузка давлением и объемом. Парадоксальное движение перегородки редко встречается при легкой перегрузке объема и наблюдается у ≤50% пациентов с умеренной перегрузкой объемом. Хроническая перегрузка давлением приводит к дилатации и дисфункции правого желудочка, что ведет к умеренной или тяжелой трикуспидальной регургитации (ТР) и, следовательно, к парадоксальным перегородочным движениям от давления и перегрузки объемом.
Хроническая ЛГ приводит к расширению оттока правого желудочка и легочной артерии (ЛА) (> 3 см). При хронической ЛГ средней тяжести М-режим клапана легочной артерии показывает срединно-систолическое закрытие и потерю нормальной волны А в 30-60% случаев. При стенозе легочного клапана волна А увеличивается, а срединно-систолическое закрытие клапана отсутствует. При остром легочном сердце из-за эмболии в легочные сосуды правый желудочек и толщина его свободной стенки обычно нормальны, но наблюдается общее снижение сократимости. В этом случае могут быть видны правожелудочковые или правые предсердные тромбы.

Тромбы в правых отделах сердца на эхокардиографии
При венозной тромбоэмболии в правом предсердии, ПЖ или ЛА может наблюдаться транзитный тромб. Эти тромбы представляют собой подвижные, нерегулярные и свободно плавающие линейные образования (часто выпадающие через трикуспидальный клапан). Тромб может быть фиксирован к сети Киари или визуализирован через открытое овальное отверстие, ведущее к парадоксальной эмболии. Повреждение эндокарда, связанное с размещением правых катетеров и кардиостимуляторов или автоматических имплантируемых электродов сердечного дефибриллятора, может привести к образованию тромба in situ. На эхокардиографии эти тромбы неподвижны, имеют четкие края и широкое основание и прикреплены к стенке предсердия или катетеру, или к обоим структурам.
Гипертрофия правого желудочка на ЭКГ

Увеличение объема простых мышц, которые человек задействует в процессе жизнедеятельности, является положительной динамикой физиологических изменений, в то время как гипертрофия мышц миокарда всегда влечет за собой различные патологические состояния. Недуг развивается на фоне гиперфункции сердечно-сосудистой системы, может быть врожденным или приобретенным. Увеличение размера и массы одного из желудочков сердца приводит к дисфункции и смещению органа в полости грудной клетки. Данное нарушение также влечет за собой дистрофические процессы в мышечных волокнах с их последующим склерозированием.
Информацию из данного раздела нельзя использовать для самодиагностики и самолечения. В случае боли или иного обострения заболевания диагностические исследования должен назначать только лечащий врач. Для постановки диагноза и правильного назначения лечения следует обратиться к профильному специалисту.

Симптомы заболевания
Изменение объема и массы отдела миокарда само по себе не дает никаких клинических проявлений. Человек может долгое время жить с данным расстройством, не подозревая о нем. Первые неприятные симптомы появляются тогда, когда гипертрофия правого желудочка вызывает осложнения, например, сердечную недостаточность. В этом случае у больного будут наблюдаться:
- чувство тяжести в правом подреберье;
- отечность ног, передней брюшной стенки;
- расширенные вены на коже живота.
Увеличение правого отдела сердца является не самостоятельной болезнью, а симптомом или последствием некоторых нарушений в организме. Приводит к нему чаще всего легочная гипертензия. В активной фазе данная патология проявляется следующими признаками:
- отдышка;
- сухой кашель;
- головокружения, обмороки;
- нарушение сердечного ритма;
- давящая боль за грудиной;
- общая слабость, апатия;
- холодный пот.
Чем больше увеличивается мышечная масса отдела сердца, тем ниже его сократимость. В связи с этим наблюдается прогрессирование неприятных и жизненно опасных симптомов в случае отсутствия лечения патологии. При оказании своевременной помощи удается купировать признаки, и значительно улучшить качество жизни человека.

Причины гипертрофии правого желудочка
Одним из главных факторов, приводящих к развитию недуга, является чрезмерная нагрузка на сердце или гиперфункция. Она возникает из-за увеличения давления в малом круге кровообращения и некоторых видов врожденных пороков. При наступлении такого состояния сердечные клетки кардиомиоциты начинают свой стремительный рост, что и приводит к гипертрофии. Таким образом, основными причинами развития болезни у взрослых являются три группы патологических состояний:
- заболевания легких;
- проблемы строения грудной клетки;
- нарушения легочных сосудов.
К первой относится бронхиальная астма, хронических бронхит, туберкулез, эмфизема легких и др. Болезни подобного рода часто приводят к увеличению давления в системе легочных артерий и как следствие — гипертрофии правого отдела сердца. Среди врожденных пороков в качестве приводящих причин выделяются:
- аномалия межжелудочковой перегородки;
- дефект межпредсердной перегородки;
- недостаточность клапана легочной артерии.
В отдельных случаях данная патология может возникать в результате сненоза митрального и недостаточности трехстворчатого клапанов. Состояния приводят к тому, что правый желудочек вынужден перекачивать больший объем крови, нежели левый, что вызывает его неизбежное увеличение.
К какому врачу обратиться?
Если у вас появились какие-либо неприятные симптомы, описанные выше, стоит как можно раньше прийти на консультацию к врачу. Они могут указывать на развитие такой опасной патологии, как гипертрофия правого желудочка. Квалифицированную помощь в данном вопросе окажет:
Гипертрофия правого предсердия на ЭКГ

Увеличение любого из отделов миокарда ведет к негативным последствиям для всей сердечно-сосудистой системы. При значительном утолщении мышц правого предсердия диагностируют его гипертрофию. Патология встречается довольно редко, поскольку основные функциональные нагрузки берет на себя левое предсердие. Тем не менее данное нарушение является опасным для здоровья. Если не принимать никаких мер по лечению, нарушается циркуляция крови в организме, появляется так называемое легочное сердце, венозный застой, сильные отеки и дисфункция в работе других органов. Диагностировать недуг можно с помощью электрокардиограммы.
Увеличенное предсердие никак не дает о себе знать, пока не появляются признаки основного заболевания или приводящей причины. Так, на начальном этапе развития патологии человека может беспокоить отдышка при физических нагрузках и в состоянии покоя, кашель в ночное время. При развитии легочного сердца хронической формы гипертрофия правого предсердия имеет более выраженную клиническую картину ввиду повышенной нагрузки на орган и недостаточности кровообращения. У человека наблюдаются следующие симптомы:
- тяжесть в правом подреберье;
- увеличенная брюшина;
- отечность нижних конечностей;
- расширенные вены на коже живота;
- боли в области сердца;
- нарушение сердечного ритма;
- кровохаркание.
Признаки недуга могут появляться поочередно, а их интенсивность зависит от общего состояния здоровья и степени поражения миокарда. Если тянуть с лечением, объем необратимых процессов может оказаться настолько большим, что вернуть полноценное функционирование сердечно-сосудистой системы не удастся. В такой ситуации возможно лишь максимальное купирование симптомов.

Причины гипертрофии правого предсердия
Повышенное давление в системе легочной артерии чаще всего становится причиной патологии. Это может происходить вследствие многих факторов. Нередко увеличению предсердия предшествует стеноз трехстворчатого клапана. Врожденные и приобретенные пороки также оказывают негативное воздействие на нормальную работу сердца и процесс кровотока в целом. Иными причинами развития недуга могут быть:
- заболевания легких;
- патологии легочных сосудов;
- видоизменение грудной клетки;
- нарушения магистральных сосудов;
- эндокардит.
Иногда симптоматика патологического состояния проявляется резко и выраженно. Этому предшествует бронхиальная астма, инфаркт миокарда, пневмония, тромбоэмболия легочной артерии и др. Данные состояния вместе с дисфункцией предсердия могут создавать угрозу не только для здоровья, но и для жизни человека.
При возникновении каких-либо из вышеперечисленных симптомов следует как можно раньше обратиться за консультацией в медицинское учреждение. Квалифицированную помощь окажет врач:
Гипертрофия миокарда левого желудочка

Заболевания сердечно-сосудистой системы чрезвычайно широко распространены по всему земному шару, независимо от условий проживания людей. В большинстве случаев они обусловливаются двумя основными причинами — врожденными патологиями и приобретенными дисфункциями. Одним из наиболее распространенных недугов является гипертрофия миокарда левого желудочка. Эта болезнь представляет собой утолщение сердечной мышцы, что влечет за собой нарушение работы органа. Патология имеет длительный период развития.
Симптомы болезни
Степень выраженности признаков нарушения зависит от того, на какой стадии оно находится. Болезнь может прогрессировать в течение десятков лет, и если на первых этапах человек ощущает лишь незначительный дискомфорт, то запущенные случаи могут стать угрозой для жизни. Помимо этого, гипертрофия проявляется по-разному в зависимости от того, на фоне каких патологий она развилась. Эта болезнь в подавляющем большинстве случаев имеет вторичный характер, поэтому ее симптомы выражены неспецифично. Для гипертрофии миокарда левого желудочка характерными являются такие признаки:
- перманентное повышение артериального давления;
- стенокардия;
- аритмия;
- боль в области грудной клетки, отдающая в спину и левую руку;
- появление одышки;
- общее ухудшение состояния — головокружение, слабость, нарушения сна, на поздних стадиях возможны обмороки;
- непереносимость высоких физических нагрузок.
Общее ухудшение самочувствия объясняется тем, что увеличенному в размерах органу требуется большее количество кислорода, чем органы дыхания и сосуды способны передать. Из-за этого возникает боль, одышка и приступы слабости.

Причины гипертрофии миокарда
Крайне редко болезнь развивается сама по себе. В большинстве случаев она становится результатом других расстройств работы сердечно-сосудистой системы. Обычно для ее появления необходима совокупность двух факторов — врожденных аномалий развития органа и хронической гипертонии. Гипертрофия миокарда будет развиваться быстрее, если у человека есть такие проблемы со здоровьем:
- ;
- хроническое повышенное артериальное давление; клапана сердца;
- аритмия;
- врожденный порок сердца;
- склонность к тромообразованию;
- сердечная недостаточность.
Помимо этого заболевание может получить развитие при дополнительном негативном воздействии внешних факторов. В этом случае патология будет прогрессировать быстрее, а риск появления осложнений значительно возрастет. В перспективе это приводит к сокращению длительности жизни и появлению сопутствующих патологий. К таким факторам относятся:
- проживание в экологически неблагоприятном районе;
- неправильный режим питания;
- недостаточные или чрезмерные физические нагрузки;
- курение;
- злоупотребление алкогольными напитками;
- частые стрессовые ситуации.
Риск развития заболевания увеличивается также при генетической предрасположенности по прямой линии. Кроме того, на возможность его появления влияют такие показатели, как состояние органов дыхания и функционирование кровеносной системы. При повышенном уровне холестерина и гемоглобина сердцу сложнее справляться с нагрузками.
Коронарные фистулы и шунты с точки зрения локальной гемодинамики. Анатомические и диагностические особенности
1 «1409 Военно-морской клинический госпиталь» МО РФ, Калининград.
2 ФГБУ «Государственный научно-исследовательский испытательный институт военной медицины» МО РФ, Москва.

УЗИ сканер HS70
Точная и уверенная диагностика. Многофункциональная ультразвуковая система для проведения исследований с экспертной диагностической точностью.
Информация о коронарных фистулах (КФ), имеющаяся в доступной литературе, носит несистемный характер, без уточнения причин разброса максимальных скоростей (Vmax) и, соответственно, максимальных градиентов давления (Gmax), регистрируемых при подобной патологии. Характеристика КФ чаще ограничивается их локализацией и фазой сердечного цикла, в которую регистрируются патологические потоки.
Даже с учетом немногочисленных данных по данной проблеме, в настоящее время можно однозначно говорить о том, что появление КФ чаще обусловлено нарушением эмбриогенеза с формированием «синусоидов» - расширенных терминалей коронарных артерий (КА), открывающихся в камеры сердца, часто на фоне сохранившегося губчатого строения миокарда. За счет деления КА на ветви 1-2-3 порядка происходит снижение давления в дистальных сегментах коронарного русла с 60-90 до 18-28 мм рт.ст. и еще большее снижение давления в «синусоидах», между дистальными отделами КА и камерами сердца, часто до 4-6 мм рт.ст. Высокие же показатели Gmax, на уровне 44-51 мм рт.ст., чаще обусловлены ангиографическими либо оперативными вмешательствами и могут быть отнесены к послеоперационным (чаще - проксимальным) КФ.
Разделение КФ по гемодинамическим характеристикам целесообразно проводить как в целях прогнозирования возможных осложнений, так и в связи с необходимостью выработки тактики дальнейшего ведения таких пациентов, формирования рекомендаций по уровню их дальнейшей физической активности. Однако следует помнить о том, что это возможно только при четком понимании патофизиологических основ данной патологи.
Единичные случаи КФ, описываемые в литературе, кардинально разнятся по фазности потоков и по показателям пикового градиента давления на уровне КФ. Объяснений ни одному из подобных феноменов нигде не приводится. В большинстве руководств чаще дается лишь краткая характеристика подобной патологии, как это, к примеру, изложено в руководстве У. Вилкенсхоф и И. Круг (2008) [6, 7].
Нами была предпринята попытка систематизировать имеющуюся в доступной литературе информацию по КФ и шунтам в форме обзора, частично дополнив его собственными данными.
В глобальном аспекте ультразвуковая диагностика патологических потоков сводится, главным образом, к трем основным составляющим:
- Локация потока относительно основных структур сердца.
- Оценка фазы сердечного цикла, в который регистрируется патологический поток.
- Определение скоростных характеристик потока и его направленности.
Описываемые в специальной литературе данные о частоте выявления КФ [8] сводятся чаще всего к результатам, полученным в ходе проведения кардиохирургических вмешательств, либо к результатам патологоанатомических исследований лиц с сердечно-сосудистой патологией. В популяции в целом частота регистрации коронарных артериальных фистул составляет 0,002%, т.е. близка к нулевым значениям, а при коронароангиографии (КАГ) КФ встречаются в 0,1-0,2% случаев [11]. По данным J. McNamara и R. Gross (1969) [12] и C. Gillebert и соавт. (1986) [13], частота КФ среди больных с врожденными пороками сердца (ВПС) составляет 0,13-0,4%. Несколько чаще с полостями сердца сообщается правая, чем левая, КА; при этом фистулы КА в правых отделах обнаруживаются во много раз чаще, чем в левых отделах сердца. H. Bankl [14] выделяет следующие варианты коронарных фистул (данные коронароангиографии):
- Анастомоз коронарных артерий с правыми отделами сердца (артериовенозные фистулы, около 90%):
а) с правым желудочком (ПЖ), б) с правым предсердием (ПП), в) с коронарным синусом, г) с легочной артерией (ЛА). - Анастомоз коронарных артерий с левыми отделами (артерио-артериальная фистула, около 10%):
а) с левым предсердием (ЛП), б) с левым желудочком (ЛЖ).
Информация же по КФ, полученная на основании результатов ЭхоКГ-исследований, до настоящего времени представляется крайне обрывочной и несистематизированной. Это касается как отечественных данных, так и данных европейских и американских исследователей [6, 7, 9].
Таблица 1. Характеристика внутрисердечных патологических и функциональных потоков, значения максимального давления и ожидаемых (расчетных) градиентов давления/скорости между полостями и структурами сердца.
Примечание.
* - показатели скоростей и градиентов давления приведены с учетом нормальных значений системного АД и давлений в камерах сердца (S - систолическое давление; D - диастолическое давление).
+ - в систолу отверстие фистулы частично или полностью закрывается. II - при уровне давления в дистальных сегментах КА 59,7 ± 2,9 мм рт.ст. [21] (в проксимальных отделах КА давление может достигать значений 94 ± 2,3 мм рт.ст., данные для лиц в возрасте 65 ± 10 лет с сохранной ФВ).
¶ - поскольку кровоток в коронарных артериях осуществляется только в диастолическую фазу, максимальные значения давления в проксимальных сегментах КА у взрослых пациентов (при нормальном АД) не должны превышать 90 мм рт.ст. и поэтому находятся в пределах 60-90 мм рт.ст. [21].
Ао - аорта, ДМПП - дефект межпредсердной перегородки, ДМЖП - дефект межжелудочковой перегородки, ТН - трикуспидальная недостаточность, ЛН - легочная недостаточность, АН - аортальная недостаточность, МН - митральная недостаточность.

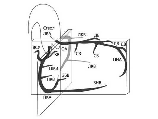
ВСУ - ветвь синусового узла,
ЛКА - левая коронарная артерия,
ДВ - диагональные ветви,
ОА - огибающая артерия,
ПНА - передняя нисходящая артерия (передняя межжелудочковая артерия),
СВ - септальные ветви,
ПКА - правая коронарная артерия,
КВ - конусная ветвь (ветвь артериального конуса),
ПЖВ - правожелудочковая ветвь,
ПКВ - правая краевая ветвь (ветвь острого края),
ЗБВ - задняя боковая ветвь,
ЗНВ - задняя нисходящая ветвь,
ЛКВ - левая краевая ветвь (ветвь острого края).
| Показатель | Коронарная фистула | Парапротезная фистула | Открытый артериальный (боталлов) проток |
|---|---|---|---|
| Локализация | По ходу основных стволов и ветвей КА | В проекции клапанного кольца | Ствол ЛА (чаще основание левой ЛА, ближе к бифуркации ствола ЛА) [35] |
| Скорость потока, Vmax | До 3-5,5 м/с [15, 17] | До 4,4-5,77 м/с | До 5,2-4,3 м/с [36] |
| Фаза сердечного цикла | Диастолический поток (основной), диастолосистолический - диастолический шум нарастает к I тону, систолический убывает ко II тону. При открытии в правое предсердие/желудочек или легочную артерию регистрируется непрерывный систолодиастолический поток. При открытии в левый желудочек - только диастолический поток [35] | Систолический на МК/ТК (в полости ЛП/ПП); диастолический на АК/КЛА (в полости ЛЖ/ПЖ) | Непрерывный систолодиастолический, высокочастотный, высокоамплитудный, усиливающийся при задержке дыхания на вдохе, ослабевающий при натуживании. Систолический шум усиливающийся ко II тону, диастолический шум убывающий к I тону. У детей первых месяцев жизни поток только систолический [35] |
Примечание. ТК - трикуспидальный клапан, МК - митральный клапан, АК - аортальный клапан, КЛА - клапан легочной артерии.
Приводимые К. Ananthasubramaniam [15] значения скорости в проекции КФ могут достигать 5,5 м/с, тогда как по данным Н. Karapinar и соавт. [16] не превышают 1,5 м/с, по данным же F. Triki и соавт. [17] и того меньше - 0,5 м/с и до 2 м/с по данным М.Ю. Чернова [1] и P. Unger и соавт. [18]. При этом все представленные случаи относятся к КФ только лишь в области ЛЖ! Для КФ в стволе ЛА измеренные скорости уже приводятся на уровнях 0,9 м/с [11], 1,2 м/с [19] и т.п. Отличаются также и характеристики описываемых потоков. В большей степени это касается КФ в дистальных отделах коронарного русла.
Таких причин может быть четыре.
Во-первых, регистрируемая скорость на уровне КФ зависит от того, в какую камеру/полость сердца происходит шунтирование из КА (от разницы давления в коронарном русле и камере сердца, см. табл. 1).
Во-вторых, от удаленности КФ от проксимального участка той или иной ветви КА, т.е. от порядка деления КА на ветви - 1-2-3 порядка.
В-третьих, от величины системного артериального давления (АД, систолического и диастолического), который в том числе зависит от возраста [20] и, соответственно, от величины давления в камерах сердца у детей и взрослых пациентов.
И, наконец, четвертая, не менее значимая, а в ряде случаев и наиболее важная причина выявляемых расхождений между реальными и расчетными значениями максимальных скоростей и градиентов давления в проекции КФ скрывается в самой допплеровской методике измерения этих показателей. Поскольку допплерография является уголзависимой методикой, именно этот фактор может оказывать наибольшее влияние на конечные результаты.
Поскольку кровоток в КА осуществляется преимущественно в фазу диастолы, максимальные значения давления в проксимальных сегментах КА у взрослых пациентов (при нормальном АД) не должны превышать 90 мм рт.ст. и находиться в пределах 60-90 мм рт.ст. [21]. Для детей данный показатель будет намного ниже, если учитывать тот факт, что нормальное систолическое АД не должно превышать значение «2 · возраст + 70». При этом давление, рассчитанное на разном удалении от устья КА (в соответствии с уравнением Бернулли), будет еще ниже, находясь на уровне 29 мм рт.ст. для правой нисходящей артерии (ПНА) и диагональной ветви левой КА (ДВ ЛКА) и 18 мм рт.ст. для задней нисходящей артерии (ЗНА) и задней боковой ветви правой КА (ЗБВ ПКА, при уровне системного диастолического АД порядка 60 мм рт.ст.; для 90 мм рт.ст. расчетное давление составит 45 мм рт.ст. в ПНА и 28 мм рт.ст. в ДВ ЛКА соответственно).
Подобный расчет ожидаемого внутрисосудистого давления на любом участке коронарного русла может быть выполнен самостоятельно на основании формулы Бернулли: P2=(P1·S1)/S2, где Р - давление, в мм рт.ст., S - площадь поперечного сечения сосудов, данных о величине среднего диаметра основных КА 1-2-3 порядка на исследуемом уровне и данных об уровне системного диастолического АД.
Но даже эти механизмы во многих, но не во всех случаях объясняют низкие скорости и градиенты давления на уровне КФ.
Наиболее вероятной причиной низких значений скоростей и градиентов давления, регистрируемых на практике в проекции КФ, является аномалия развития артериовенозной системы сердца на этапе эмбриогенеза, механизм которого достаточно подробно изложен В.И. Бураковским и Л.А. Бокерия [10].
Механизм формирования венечно-артериальной системы, по мнению В.И. Бураковского и Л.А. Бокерия, не имеет однозначного толкования, поскольку в экспериментальной эмбриологии до сих пор не разработана приемлемая модель животных, на которой можно было бы проследить весь процесс закладки и развития системы венечных сосудов, и многие моменты и механизмы формирования этой системы все еще остаются непонятными. Известно, что рост и развитие сосудов сердца в ходе эмбриогенеза происходит в трех направлениях: со стороны эндокарда растут первичные синусоиды, которые образуют в основном субэндокардиальную синусоидальную сеть; субэпикардиально к верхушке сердца растут стволы и ветви венечных артерий; в области перикарда по магистральным сосудам сердца к миокарду подрастают экстракардиальные артерии и вены. Венечно-артериальные свищи при этом представляют собой прямое соединение венечных артерий с камерами сердца, без промежуточного капиллярного русла между ними. В этом случае фистулы венечных артерий (венечно-артериально-камерные фистулы) - пример сохранения эмбрионального кровообращения в виде синусоидной циркуляции, чаще наблюдаемый совместно с сохранившимся губчатым строением миокарда. На окончательном этапе васкуляризации сердца формируется терминальное сосудистое русло. В ходе слияния мышечных трабекул, т.е. по мере формирования компактного миокарда, большая часть синусоид подвергается редукции. Их эндотелиальная выстилка превращается в эндотелиальные тяжи с исчезнувшим просветом, чего в случае с КФ по тем или иным причинам не происходит вовсе либо осуществляется частично.
Наибольшие трудности в дифференциальной диагностике могут возникнуть в случае наличия патологических потоков в стволе ЛА (рис. 2-5), а также при дефекте межжелудочковой перегородки (ДМЖП, в этом случае должна проводиться дифференциальная диагностика с КФ в правом желудочке). При этом следует помнить об ЭхоКГ-характеристиках потоков при открытых артериальных протоках (ОАП) и легочной регургитации (см. рис. 2). «Злую шутку» при этом может сыграть исследование в CW-режиме. В таких ситуациях целесообразно пользоваться режимом цветового допплеровского картирования (ЦДК) и PW-допплеровского исследования, главным образом в тех случаях, когда имеет место наложение на ось сканирования нескольких цветовых, равнонаправленных и к тому схожих по фазе сердечного цикла потоков. Не стоит забывать об анатомических особенностях и наиболее частой локализации той или иной патологии.
Наибольшие скорости в проекции КФ регистрируются при их выявлении в проксимальных отделах КА, ближе к устью ЛКА и ПКА. В этих случаях характеристики регистрируемых потоков оказываются схожими с таковыми в проекции парапротезных фистул и лево-правых шунтов, когда скорости потоков достигают 4-5 м/с (рис. 4, 6).
Какие же дальнейшие действия предполагает постановка диагноза «коронарной фистулы»? Бесспорно, врачу-диагносту, равно как и любому лечащему врачу, следует четко уяснить возможные патофизиологические механизмы, лежащие в основе аномального формирования КА в варианте КФ (табл. 3), и уже после этого обратиться к руководящим документам по данной патологии [22, 23].
Что касается прогноза, то, по данным Н. Шиллера и М.А. Осипова [24], в список «редкой патологии, при которой вероятность дожить до взрослого состояния ВЕЛИКА», отнесены коронарные артериовенозные фистулы. ЭхоКГ-признаком фистулы КА являются: дилатация проксимальных отделов КА и патологический кровоток в тех отделах сердца, куда поступает кровь из коронарного русла [16].
Таблица 3. Патофизиологические механизмы и аномалии коронарных артерий (функциональная клас- сификация) [23, 37].
Читайте также:
- Как использовать гиалуроновую кислоту? Советы косметолога
- Советская хирургия туберкулеза легких. Перевязка легочной артерии при туберкулезе легкого
- Варианты нормы строения краниовертебрального сочленения
- Операция при остром панкреатите. Техника операции при остром панкреатите.
- Синдром Лермуайе (Lermoyez)
