Глюкагон и глюконеогенез. Регуляция секреции глюкагона
Добавил пользователь Евгений Кузнецов Обновлено: 03.11.2025
Еще до открытия инсулина в островках поджелудочной железы были обнаружены разные группы клеток. Сам глюкагон был открыт Мерлином и Кимбаллом в 1923 г., менее чем через 2 года после инсулина. Однако если открытие инсулина вызвало ажиотаж, то глюкагоном мало кто заинтересовался. Только по прошествии более 40 лет стало ясно, какую важную физиологическую роль играет этот гормон в регуляции обмена глюкозы и кетоновых тел, но его роль как лекарственного средства и на сегодняшний день невелика. Глюкагон используют лишь для быстрого купирования гипогликемии, а также в лучевой диагностике в качестве препарата, подавляющего моторику кишечника.
Глюкагон представляет собой одноцепочечный полипептид, состоящий из 29 аминокислотных остатков (рис. 61.6). Между глюкагоном и другими полипептидными гормонами, в том числе секретином, ВИП и гастроингибирующим пептидом, имеется значительная гомология. Аминокислотная последовательность глюкагона у млекопитающих высококонсервативна; она одинакова у человека, коровы, свиньи и крысы.
Глюкагон образуется из препроглюкагона — пептида-предшественника, состоящего из 180 аминокислот и пяти доменов которые подвергаются раздельному процессингу (Bell et al., 1983). За N-концевым сигнальным пептидом в молекуле препроглюкагона следует глицентиноподобный панкреатический пептид затем идут аминокислотные последовательности глюкагона и глюкагоноподобных пептидов типов 1 и 2. Процессинг препроглюкагона осуществляется в несколько этапов и зависит от ткани, в которой он происходит. В результате из одного и того же препрогормона в а-клетках островков поджелудочной железы и в нейроэндокринных клетках кишечника (L-клетках) образуются разные пептиды (Mojsov et al., 1986). Глицентин, важнейший промежуточный продукт процессинга, состоит из N-концевого глицентиноподобного панкреатического пептида и С-концево-го глюкагона, разделенных между собой двумя остатками аргинина. Оксинтомодулин состоит из глюкагона и С-концевого гексапептида, тоже разделенных между собой двумя остатками аргинина.
Физиологическая роль пептидов — предшественников глюкагона не ясна, однако сложная регуляция процессинга препроглюкагона предполагает, что всем им должны быть присущи особые функции. В секреторных гранулах а-клеток островков поджелудочной железы различимы центральное ядро из глюкагона и периферический ободок из глицентина. В L-клетках кишечника секреторные гранулы содержат только глицентин; по-видимому, эти клетки лишены фермента, который превращает глицентин в глюкагон. Оксинтомодулин связывается с рецепторами глюкагона на гепатоцитах и стимулирует аденилатциклазу; активность этого пептида составляет 10—20% активности глюкагона. Глюкагоноподобный пептид типа 1 — чрезвычайно сильный стимулятор секреции инсулина, но он не оказывает почти никакого действия на гепатоциты. Глицентин, оксинтомодулин и глюкагоноподобные пептиды обнаруживаются преимущественно в кишечнике. Их секреция продолжается и после панкреатэктомии.
Секреция глюкагона регулируется глюкозой, поступающей с пищей, инсулином, аминокислотами и жирными кислотами. Глюкоза — мощный ингибитор секреции глюкагона. При приеме внутрь она оказывает гораздо более сильное действие на секрецию глюкагона, чем при в/в введении (как, впрочем, и на секрецию инсулина). Вероятно, эффект глюкозы опосредуется какими-то пищеварительными гормонами. Он утрачивается при нелеченном или декомпенсированном инсулинозависимом сахарном диабете, отсутствует и в культуре a-кпеток. Следовательно, действие глюкозы на а-клетки, по крайней мере отчасти, зависит от стимуляции ею секреции инсулина. Соматостатин, свободные жирные кислоты и кетоновые тела тоже тормозят секрецию глюкагона.
Большинство аминокислот стимулируют секрецию и глюкагона, и инсулина. Это объясняет, почему после приема чисто белковой пищи у человека не возникает опосредованная инсулином гипогликемия. Подобно глюкозе, аминокислоты более эффективны при приеме внутрь, чем при в/в введении. Следовательно, их эффект также может быть отчасти опосредован пищеварительными гормонами. Кроме того, секреция глюкагона находится под контролем вегетативной нервной системы. Раздражение симпатических нервных волокон, иннервирующих островки поджелудочной железы, а также введение адреностимуляторов и симпатомиметиков усиливают секрецию этого гормона. Ацетилхолин обладает аналогичным действием. Глюкагон при сахарном диабете. У больных с декомпенсированным сахарным диабетом концентрация глюкагона в плазме повышена. Благодаря своей способности усиливать глюконеогенез и гликогенолиз глюкагон усугубляет гипергликемию. Однако нарушения секреции глюкагона при сахарном диабете, по-ви-димому, носят вторичный характер и исчезают при нормализации уровня глюкозы в крови (Unger, 1985). Роль гиперглюкагонемии при сахарном диабете прояснили эксперименты с введением соматостатина (Gerich et al., 1975). Соматостатин, хотя и не нормализует полностью метаболизм глюкозы, существенно замедляет скорость развития гипергликемии и кетонемии у больных инсулинозависимым сахарным диабетом после внезапной отмены инсулина. У здоровых людей в ответ на гипогликемию секреция глюкагона увеличивается, а при инсулинозависимом сахарном диабете этот важный защитный механизм утрачивается еще в самом начале болезни.
Глюкагон быстро разрушается в печени, почках и плазме, а также в тканях-мишенях (Peterson etal., 1982). EroT1/2 в плазме составляет всего 3—6 мин. Отщепление протеазами N-концевого остатка гистидина приводит к потере глюкагоном биологической активности.
Глюкагон связывается с рецептором на мембране клеток-мишеней; этот рецептор представляет собой гликопротеид с молекулярной массой 60 ООО (Sheetz and Tager, 1988). Структура рецептора полностью не расшифрована, однако известно, что он сопряжен с Gj-белком, который активирует аденилатциклазу (гл. 2). Главный эффект глюкагона на гепатоциты опосредуется цАМФ. Модификация N-концевого участка молекулы глюкагона превращает его в частичный агонист: сродство к рецептору в той или иной степени сохраняется, а способность активировать аденилатциклазу в значительной степени утрачивается (Unson et al., 1989). Так ведут себя, в частности, [Фен’]-глюкагон и дез-Гис'-[Глу9]-глюкагонамид.
Посредством цАМФ-зависимого фосфорилирования глюкагон активирует фосфорилазу — фермент, который катализирует лимитирующую реакцию гликогенолиза. Одновременно происходит фосфорилирование гликогенсинтетазы, и ее активность снижается. В результате гликогенолиз усиливается, а гликогенез тормозится. цАМФ стимулирует также транскрипцию гена фосфоенолпируваткарбоксикиназы — фермента, который катализирует лимитирующую реакцию глюконеогенеза (Granner et al., 1986). В норме инсулин вызывает противоположные эффекты, и когда концентрации обоих гормонов максимальны, действие инсулина преобладает.
цАМФ опосредует фосфорилирование еще одного бифункционального фермента — 6-фосфофрукто-2-киназы/фрукто-зо-2,6-дифосфатазы (Pilkis et al., 1981; Foster, 1984). От этого фермента зависит внутриклеточная концентрация фруктозо-2,6-дифосфата, который, в свою очередь, регулирует глюконеогенез и гликогенолиз. Когда концентрация глюкагона высока, а инсулина низка, 6-фосфофрукто-2-киназа/фрукго-зо-2,6-дифосфатаза фосфорилируется и работает как фосфата-за, снижая содержание фруктозо-2,6-дифосфата в печени. Когда концентрация инсулина высока, а глюкагона низка, фермент дефосфорилируется и работает как киназа, увеличивая содержание фрукгозо-2,6-дифосфата. Фруктозо-2,6-дифосфат является аллостерическим активатором фосфофруктокиназы — фермента, который катализирует лимитирующую реакцию гликолиза. Таким образом, когда концентрация глюкагона высока, гликолиз тормозится, а глюконеогенез усиливается. Это приводит к увеличению уровня малонил-КоА, ускорению окисления жирных кислот и кетогенезу. Напротив, когда высока концентрация инсулина, гликолиз усиливается, а глюконеогенез и ке-тогенез подавляются (Foster, 1984).
Глюкагон, особенно в высоких концентрациях, действует не только на печень, но и на другие ткани. В жировой ткани он активирует аденилатциклазу и усиливает липолиз, в миокарде — увеличивает силу сердечных сокращений. Глюкагон расслабляет гладкие мышцы ЖКТ; такой же эффект оказывают аналоги гормона, не активирующие аденилатциклазу. В некоторых тканях (в том числе в печени) имеется еще один тип рецепторов глюкагона; связывание гормона с ними приводит к образованию ИФ3, ДАГ и увеличению внутриклеточной концентрации кальция (Murphy et al., 1987). Роль этого рецептора глюкагона в регуляции метаболизма остается неизвестной.
Глюкагон используют для лечения тяжелых эпизодов гипогликемии, обычно у больных сахарным диабетом, когда невозможно организовать в/в инфузию глюкозы. Кроме того, глюкагон применяют в лучевой диагностике как средство, подавляющее моторику ЖКТ.
Глюкагон, применяемый в лечебных целях, получают из бычьей и свиной поджелудочных желез. Аминокислотные последовательности человеческого, бычьего и свиного глюкагона идентичны. При гипогликемии 1 мг глюкагона вводят в/в, в/м или п/к. В экстренных ситуациях первые два пути введения предпочтительны. Улучшение наступает в течение 10 мин, что позволяет свести к минимуму риск поражения ЦНС. Гипергликемизирующий эффект глюкагона кратковременен и может вообще не проявиться, если запасы гликогена в печени истощены. После улучшения, наступившего под действием глюкагона, больному вводят глюкозу либо заставляют его что-нибудь съесть, чтобы предотвратить рецидив гипогликемии. Самые частые побочные эффекты глюкагона — тошнота и рвота.
Глюкагон назначают перед рентгеноконтрастными исследованиями верхних и нижних отделов ЖКТ, перед ретроградной идеографией (Monsein et al., 1986) и перед MPT (Goldberg and Thoeni, 1989) для того, чтобы расслабить гладкие мышцы желудка и кишечника. Его используют также для снятия спазма при остром дивертикулите, патологии желчных путей и сфинктера Одди, как вспомогательное средство при удалении желчных камней с помощью петли Дормиа, а также при обструкции пищевода и инвагинации кишечника (Friedland, 1983; Mortens-sonetal., 1984; Kadir and Gadacz, 1987). Введение глюкагона облегчает дифференциальную диагностику механической и паренхиматозной желтухи (Berstock et al., 1982).
Глюкагон стимулирует выброс катехоламинов клетками феохромоцитомы и используется как экспериментальное диагностическое средство при этой опухоли. Кроме того, глюкагоном пытались лечить шок, используя его инотропное действие на сердце. Препарат оказался полезным для тех больных, которые принимали β-адреноблокаторы, потому что β-адреностимуляторы у них неэффективны.
Глюкагон и глюконеогенез. Регуляция секреции глюкагона
Глюкагон и глюконеогенез. Регуляция секреции глюкагона
а) Глюкагон увеличивает глюконеогенез. После опустошения глюкагоном депо гликогена в печени на фоне дальнейшего введения глюкагона можно наблюдать параллельно развивающуюся гипергликемию. Это является результатом повышения поступления аминокислот в клетки печени под влиянием глюкагона с последующим превращением их в глюкозу в результате глюконеогенеза. Этот эффект достигается активацией множества ферментов, необходимых для транспорта аминокислот и глюконеогенеза, в особенности ферментных систем, превращающих пируват в фосфоенолпируват, что является лимитирующим скорость этапом глюконеогенеза.
б) Прочие влияния глюкагона. Большинство других влияний глюкагона обнаруживается, когда его концентрация в крови превысит максимальную величину. Возможно, одним из наиболее важных влияний глюкагона является активация липазы в жировых клетках, обеспечивающая повышение количества свободных жирных кислот, которые могут быть использованы в процессах энергообеспечения организма. Глюкагон также препятствует запасанию триглицеридов в печени, что предупреждает изъятие жирных кислот гепатоцитами из крови. Это делает их более доступными для других тканей организма.
Глюкагон в очень высокой концентрации также:
(1) повышает теплообразование;
(2) увеличивает кровоток в некоторых тканях, особенно в почках;
(3) увеличивает секрецию желчи;
(4) тормозит секрецию соляной кислоты в желудке. Возможно, что все эти влияния не имеют существенного значения в условиях нормального функционирования организма.

Приблизительная концентрация глюкагона при различных уровнях глюкозы в крови
Регуляция секреции глюкагона
а) Концентрация глюкозы в крови является наиболее значимым фактором, контролирующим продукцию глюкагона. Однако специально подчеркнем характер влияний концентрации глюкозы в крови на продукцию глюкагона прямо противоположен влияниям этого фактора на секрецию инсулина.
На рисунке выше показано, что снижение концентрации глюкозы в крови от уровня, сопутствующего состоянию натощак, т.е. 90 мг/дл крови, до уровня, характеризующего гипогликемию, может способствовать увеличению концентрации глюкагона в плазме в несколько раз. Напротив, увеличение концентрации глюкозы в крови до гипергликемических значений сопровождается снижением концентрации глюкагона в плазме. Таким образом, при гипогликемии глюкагон секретируется в большем количестве, что в дальнейшем вызывает повышение выхода глюкозы из печени и поэтому является важным средством компенсации гипогликемии.
б) Увеличение аминокислот в крови стимулирует продукцию глюкагона. Высокая концентрация аминокислот в крови, которая возникает после приема белковой пищи (особенно аминокислот аланина и аргинина), стимулирует секрецию глюкагона. Это влияние аналогично тому, которое оказывали аминокислоты на продукцию инсулина. Таким образом, возникающие в этом случае изменения секреции глюкагона и инсулина не носят разнона правленного характера. Важность стимуляции аминокислотами продукции глюкагона заключается в том, что глюкагон обеспечивает быстрое превращение аминокислот в глюкозу, повышая количество глюкозы, доступной для тканей.
в) Физические нагрузки стимулируют секрецию глюкагона. На фоне истощающих физических нагрузок концентрация глюкагона в крови увеличивается в 4-5 раз. Непонятно, чем это провоцируется, т.к. концентрация глюкозы в крови при этом может не снижаться. Благотворность влияния глюкагона в этой ситуации заключается в том, что он препятствует снижению уровня глюкозы в крови.
Одним из факторов, который может увеличить продукцию глюкагона в этих условиях, является увеличение циркулирующих в крови аминокислот. Наряду с этим, возможно, вносит свою лепту адренергическая стимуляция островков Лангерганса.
Видео физиология гормонов поджелудочной железы и регуляции уровня глюкозы - профессор, д.м.н. П.Е. Умрюхин
Редактор: Искандер Милевски. Дата обновления публикации: 18.3.2021
Глюкагон и глюконеогенез. Регуляция секреции глюкагона
Регуляция углеводного обмена 

 А. Регуляция углеводного обмена 
У высших организмов обмен углеводов подвержен сложным механизмам регуляции, в которых участвуют гормоны, метаболиты и коферменты . Представленная здесь схема относится к печени , которая занимает в углеводном метаболизме центральное место (см. с. 302). Некоторые из представленных механизмов не действуют в других тканях.
Одной из важнейших функций клеток печени является накопление избыточной глюкозы в виде гликогена и ее быстрое высвобождение по мере метаболической необходимости (буферная функция) . После полной мобилизации запасов гликогена печень может поставлять глюкозу за счет синтеза de novo ( глюконеогенез , см. сс. 156, 232). Кроме того, как и все ткани, она потребляет глюкозу путем гликолиза. Функции накопления (синтеза) глюкозы в виде гликогена и его распада должны быть взаимосогласованы. Таким образом, совершенно невозможно одновременное протекание гликолиза и глюконеогенеза, как и синтеза и деградации гликогена. Согласование процессов обеспечивается тем, что синтез (анаболизм) и распад (катаболизм) катализируются двумя различными ферментами и контролируются независимо. На схеме показаны только эти ключевые ферменты . 
Гормоны. К гормонам, которые влияют на углеводный обмен, принадлежат пептиды инсулин и глюкагон , глюкокортикоид кортизол и катехоламин адреналин (см. сс. 362, 368). Инсулин индуцирует (см. с. 120) синтез de novo гликоген-синтазы [ 1 ], а также некоторых ферментов гликолиза [ 3, 5, 7 ]. Одновременно инсулин подавляет синтез ключевых ферментов глюконеогенеза ( репрессия, [ 4, 6, 8, 9 ]). Глюкагон как антагонист инсулина действует в противоположном направлении: индуцирует ферменты глюконеогенеза [ 4, 6, 8, 9 ] и репрессирует пируваткиназу [ 7 ], ключевой фермент гликолиза. Другие аффекты глюкагона основаны на взаимопревращении ферментов и опосредованы вторичным мессенджером цАМФ (сАМР, см. с. 114). По этому механизму тормозится синтез гликогена [ 1 ] и активируется расщепление гликогена [ 2 ]. Подобным образом действует и адреналин. Торможение пируваткиназы [ 7 ] глюкагоном также обусловлено взаимопревращением ферментов. 
Глюкокортикоиды, прежде всего кортизол (см. с. 362), индуцируют все ключевые ферменты глюконеогенеза [ 4, 6, 8, 9 ]. Одновременно они индуцируют ферменты деградации аминокислот и обеспечивают тем самым глюконеогенез исходными соединениями. 
Метаболиты. Высокие концентрации АТФ (АТР) и цитрата тормозят гликолиз путем аллостерической регуляции фосфо фруктокиназы. Кроме того, АТФ тормозит пируваткиназу . Ингибитором пируваткиназы является ацетил-КоА. Все эти метаболиты образуются при распаде глюкозы ( торможение конечным продуктом ). АМФ (AMP), сигнал дефицита АТФ, активирует расщепление гликогена и тормозит глюконеогенез.
Важную роль в обмене веществ в печени играет фруктозо-2,6-дифосфат . Это сигнальное вещество образуется в незначительных количествах из фруктозо-6-фосфата и выполняет чисто регуляторную функцию: стимулирует гликолиз путем активации фосфофруктокиназы и подавляет глюконеогенез с помощью торможения фруктозо-1,5-дифосфатазы. 
Образование и распад фруктозо-2,6-дифосфата катализируются одним и тем же белком [ 10а и б ]. В нефосфорилированной форме этот белок вызывает образование фруктозо-2,6-дифосфата [ 10а ]. После фосфорилирования цАМФ-зависимой киназой он действует как фосфатаза [ 10б ] и катализирует превращение фруктозо-2,6-дифосфата в фруктозо-6-фосфат. В присутствии адреналина и глюкагона в клетках печени повышается уровень цАМФ (см. с. 122), т.е. оба гормона воздействуют как на гликолиз, так и на глюконеогенез. Суммарным результатом является быстрое повышение уровня глюкозы в крови. 
3.2. Глюкагон: химическая природа, регуляция секреции, механизм действия, роль в обмене.
Глюкагон представляет собой гормон полипептидной природы, выделяемый a-клетками поджелудочной железы. Основной функцией этого гормона является поддержание энергетического гомеостаза организма за счет мобилизации эндогенных энергетических ресурсов, этим объясняется его суммарный катаболический эффект.
В состав полипептидной цепи глюкагона входит 29 аминокислотных остатков, его молекулярная масса 4200, в его составе отсутствует цистеин. Глюкагон был синтезирован химическим путем, чем была окончательно подтверждена его химическая структура.
Глюкагон образуется из препроглюкагона — пептида-предшественника, состоящего из 180 аминокислоти пяти доменов которые подвергаются раздельному процессингу (Bell et al., 1983). За N-концевым сигнальным пептидом в молекуле препроглюкагона следует глицентиноподобный панкреатический пептид затем идут аминокислотные последовательности глюкагона и глюкагоноподобных пептидов типов 1 и 2. Процессинг препроглюкагона осуществляется в несколько этапов и зависит от ткани, в которой он происходит. В результате из одного и того же препрогормона в а-клетках островков поджелудочной железы и в нейроэндокринных клетках кишечника (L-клетках) образуются разные пептиды. Глицентин, важнейший промежуточный продукт процессинга, состоит из N-концевого глицентиноподобного панкреатического пептида и С-концево-го глюкагона, разделенных между собой двумя остатками аргинина. Оксинтомодулин состоит из глюкагона и С-концевого гексапептида, тоже разделенных между собой двумя остатками аргинина.
Физиологическая роль пептидов — предшественников глюкагона не ясна, однако сложная регуляция процессинга препроглюкагона предполагает, что всем им должны быть присущи особые функции. В секреторных гранулах а-клеток островков поджелудочной железы различимы центральное ядро из глюкагона и периферический ободок из глицентина. В L-клетках кишечника секреторные гранулы содержат только глицентин; по-видимому, эти клетки лишены фермента, который превращает глицентин в глюкагон. Оксинтомодулин связывается с рецепторами глюкагона на гепатоцитах и стимулирует аденилатциклазу; активность этого пептида составляет 10—20% активности глюкагона. Глюкагоноподобный пептид типа 1 — чрезвычайно сильный стимулятор секреции инсулина, но он не оказывает почти никакого действия на гепатоциты. Глицентин, оксинтомодулин и глюкагоноподобные пептиды обнаруживаются преимущественно в кишечнике. Их секреция продолжается и после панкреатэктомии.
Регулируемым параметром в контуре регуляции секреции глюкагона является концентрация глюкозы. Уменьшение ее в крови стимулирует альфа-клетки, которые увеличивают секрецию гормона, что приводит к росту концентрации глюкозы, которая путем отрицательной обратной связи уменьшает секрецию глюкагона.
Увеличение секреции глюкагона вызывает повышение концентрации аминокислот в крови (особенно аргинина) холецистокинина, катехоламинов, ацетилхолина. Уменьшение секреции глюкагона возникает при увеличении: концентрации глюкозы в крови, инсулина, соматостатина, жирных кислот и кетонов.
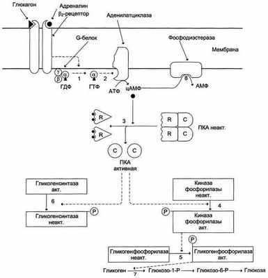
Глюкагон для гепатоцитов служит внешним сигналом о необходимости выделения в кровь глюкозы за счёт распада гликогена (гликогенолиза) или синтеза глюкозы из других веществ - глюконеогенеза (этот процесс будет изложен позднее). Гормон связывается с рецептором на плазматической мембране и активирует при посредничестве G-белка аденилатциклазу, которая катализирует образование цАМФ из АТФ (см. раздел 5). Далее следует каскад реакций, приводящий в печени к активации гликогенфосфорилазы и ингибированию гликогенсинтазы (рис. 7-29). Этот механизм приводит к высвобождению из гликогена глюкозо-1-фосфата, который превращается в глюкозо-6-фосфат. Затем под влиянием глюкозо-6-фосфатазы образуется свободная глюкоза, способная выйти из клетки в кровь. Таким образом, глюкагон в печени, стимулируя распад гликогена, способствует поддержанию глюкозы в крови на постоянном уровне.

1 - глюкагон и адреналин взаимодействуют со специфическими мембранными рецепторами. Комплекс гормон-рецептор влияет на конформацию G-белка, вызывая диссоциацию его на протомеры и замену в α-субъединице ГДФ на ГТФ; 2 - α-субъединица, связанная с ГТФ, активирует аденилатциклазу, катализирующую синтез цАМФ из АТФ; 3 - в присутствии цАМФ протеинкиназа А (цАМФ-зависимая) обратимо диссоциирует, освобождая обладающие каталитической активностью субъединицы С; 4 - протеинкиназа А фосфорилирует и активирует киназу фосфорилазы; 5 - киназа фосфорилазы фосфорилирует гликогенфосфорилазу, переводя её в активную форму; 6-протеинкиназа А фосфорилирует также гликогенсинтазу, переводя её в неактивное состояние; 7 - в результате ингибирования гликогенсинтазы и активации гликогенфосфорилазы гликоген включается в процесс распада; 8 - фосфодиэсте-раза катализирует распад цАМФ и тем самым прерывает действие гормонального сигнала. Комплекс ос-субъединица-ГТФ затем распадается, α-, β- и γ-субъединицы G-белка реассоциируются.
Глюкагон увеличивает содержание глюкозы (способствует гипергликемии) в плазме крови. Этот эффект реализуется несколькими путями.
 Стимуляция гликогенолиза. Глюкагон, активируя гликоген фосфорилазу и ингибируя гликоген синтазу в гепатоцитах, приводит к быстрому и выраженному распаду гликогена и освобождению глюкозы в кровь.
 Подавление гликолиза. Глюкагон ингибирует ключевые ферменты гликолиза (фосфофруктокиназа, пируваткиназа) в печени, что приводит к  содержания глюкозо-6-фосфата в гепатоцитах, его дефосфорилированию и освобождению глюкозы в кровь.
 Стимуляция глюконеогенеза. Глюкагон усиливает транспорт АК из крови в гепатоциты и одновременно активирует ключевые ферменты глюконеогенеза (пируваткарбоксилаза. Фруктозо01,6-дифосфатаза), что приводи к  содержания глюкозы в цитоплазме клеток и её поступлению в кровь.
 Глюкагон способствует образованию кетоновых тел путем стимуляции окисления жирных кислот: ингибирование активности ацетил-КоА-карбоксилазы приводит к ↓ содержания ингибитора карнитин ацилтрансферазы – малонил-КоА, что приводит к усиленному поступлению жирных кислот из цитоплазмы в митохондрии для их β-окисления и превращения в кетокислоты. Другими словами, в отличие от инсулина, глюкагон оказывает кетогенный эффект.
Глюкагон и его роль
Глюкагон является полипептидом, который секретируется альфа-клетками островков Лангерганса и клетками проксимального отдела пищеварительного тракта.
Основным фактором, влияющим на секрецию гормона, является концентрация глюкозы в крови. Уменьшение концентрации глюкозы в крови стимулирует секрецию глюкагона, увеличение - удручает.
РИС. 6.33. Контур регуляции секреции глюкагона. С - концентрация
Активируют секрецию глюкагона, кроме глюкозы, аминокислоты (аргинин, аланин) снижение уровня жирных кислот в крови и гормоны пищеварительного тракта: гастрин, холецистокинин (ХЦК), секретин, желудочный ингибирующий пептид (ШИП) физическая нагрузка.
Регуляция секреции глюкагона
Регулируемым параметром в контуре регуляции секреции глюкагона является концентрация глюкозы. Уменьшение ее в крови стимулирует альфа-клетки, которые увеличивают секрецию гормона, что приводит к росту концентрации глюкозы, которая путем отрицательной обратной связи уменьшает секрецию глюкагона (рис. 6.33).
Увеличение секреции глюкагона вызывает повышение концентрации аминокислот в крови (особенно аргинина) холецистокинина, катехоламинов, ацетилхолина.
Уменьшение секреции глюкагона возникает при увеличении: концентрации глюкозы в крови, инсулина, соматостатина, жирных кислот и кетонов.
Механизм действия глюкагона на клетки-мишени
Глюкагон в основном влияет на клетки-мишени печени, в мембранах которых расположены серпентином рецепторы. Комплекс "гормон - рецептор" через стимулирующий G5-протеин активирует аденилатциклазу, что приводит к образованию внутриклеточного посредника цАМФ, которая активирует протеинкиназу А. Последняя потенцирует фосфорилазу, что приводит к увеличению распада гликогена в печени и рост концентрации глюкозы в крови.
Глюкагон действует также через другие рецепторы в гепатоцитах, связывание с которыми приводит к активации фосфолипазы С, следствием чего является увеличение в цитоплазме концентрации ионов Са 2+, стимулирующих гликогенолиз.
Физиологические влияния глюкагона
Регуляция углеводного обмена Глюкагон увеличивает концентрацию глюкозы в крови благодаря стимуляции гликогенолиза в печени и предотвращает образование гликогена. Однако гипергликемическая действие глюкагона не приводит к уменьшению утилизации глюкозы периферическими клетками.
Глюкагон увеличивает глюконеогенез в печени. Он уменьшает образование фруктозо-2,6-дифосфата, тормозит активность фосфофруктокиназы, что приводит к выходу глюкозы из печени.
Регуляция жирового метаболизма Глюкагон увеличивает концентрацию жирных кислот и кетонов в крови благодаря следующим механизмам :
1 увеличивает липолиз , подавляет синтез жирных кислот, направляя субстраты в направлении глюконеогенеза;
2 образует кетоны (β-гидроксибутират и ацетоацетат) с малонил-коэнзимом. А при деградации жирных кислот, в случае отсутствия инсулина, глюкагон может ускорять кетогенез, что приведет к метаболического ацидоза.
Регуляция белкового метаболизма Глюкагон стимулирует ферменты глюконеогенеза (пируваткарбоксилазу и фруктозо-1,6-дифосфатазы), которые превращают белки в глюкозу. Кроме катаболической действия, гормон имеет антианаболичну действие - подавляет синтез белков.
Читайте также:
