Методика фиксации гастростомической трубки
Добавил пользователь Евгений Кузнецов Обновлено: 08.01.2026
Аполлонова И.А. Особенности конструкции медицинской гастростомической трубки для энтериального питания / Колоколов А.В. // Международный журнал гуманитарных и естественных наук. – 2017. – №5. – С. 42-46
ОСОБЕННОСТИ КОНСТРУКЦИИ МЕДИЦИНСКОЙ ГАСТРОСТОМИЧЕСКОЙ ТРУБКИ ДЛЯ ЭНТЕРИАЛЬНОГО ПИТАНИЯ
И.А. Аполлонова , канд. техн . наук, доцент
А.В. Колоколов , магистр ант
Московский государственный тех нический университет им. Н.Э. Баумана
( Россия, г . Москва)
Аннотация . В данной статье рассмотрены основные требования к конструкции м е дицинских гастростомических трубок для энтериального питания . П редставлены ра з мерные ряды медицинских гастростомических трубок в зависимости от их типа и ко н струкции . П оказана экономическая эффективность от внедрения новой конструкции и возможность её производства в отечественных условиях .
Ключевые слова: гастростомическая трубка, энтериальное питание, конструкцмя , гастростома , производство, размерные ряды .
Существующие аналоги гастростом о б ладают различными недостатками, связа н ными как с конструкцией, так и с матери а лом из которого они изготовлены. Выя в ленные « проблемные места » у сущес т вующих аналогов показали низкую эффе к тивность от использования. Это негативно влияет на срок службы, удобство пост а новки как для пациента, так и для специ а листа, и периодичность повторных хиру р гических вмешательств. Исходя из сущ е ствующих данных , б ыли разработаны м е дико- технические требования ( МТТ ) , к о торые позволят избежать вышеперечи с ленных проблем и осложнений, путем и з менения конструкции, материалов, а так же способов изготовления . Разрабатыва е мый аналог должен иметь другую конс т рукцию фиксасации , материалы и конс т руктивные элементы , которые будут до с тупны на нашем рынке, что в свое время решит ряд проблем , связанных с эконом и ческими показателями . Прототип гастр о стомы долж е н иметь следующие конс т руктивные и технологические особенн о сти:
1. Измененный тип внутренней и вне ш ней фиксации.
2. Материал, удовлетворяющий услов и ям МТТ.
3. Облегченный технологический пр о цесс изготовления.
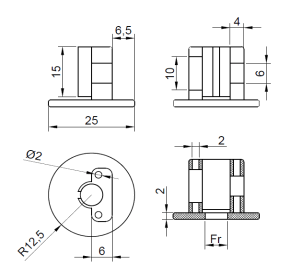
Исходя из всех недостатков и преим у ществ аналогов, была предложена новая конструкция. Ниже на рисунках 1 — 3 пре д ставлены эскизы новой конструкции гас т ростомической трубки . П о своим конс т руктивным особенностям позволяют и з бежать недостатков имеющихся на рынке аналогов.
Предполагаемая конструкция предста в ляет собой вывод питательной трубки и ее фиксацию под углом 90*. Именно такое расположение трубки относительно би о логической ткани позволит беспрепятс т венно проходить жидкости.

Рис. 1. Эскиз наружного фиксатора
Данный тип внешней фиксации позв о лит плотно и надежно удерживать гастр о стомическую трубку без возможности о с лабления, тем самым уменьшая вероя т ность подтекания желудочного содерж и мого. Оптимальная фиксация обеспечив а ется за счет плотного прилегания к ко ж ному покрову. Соскальзывание самой г а стростомической трубки нив е лируется за счет адгезии между трубкой и внутренней (захватывающей) поверхностью , удерж и вающего фиксатора. Дополнительно был разработан замок, надежно закрепля ю щий трубку в необходимом положении.

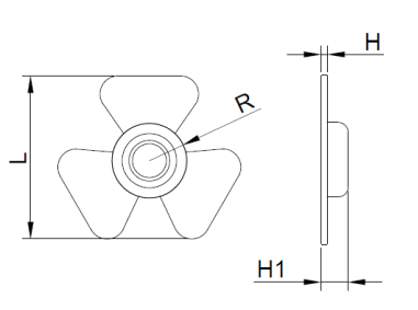
Рис. 2. Эскиз внутреннего фиксатора
Проторипом конструкции выступала г а стростомическая трубка компании Ки м берли Кларк, имеющая внутренний фикс а тор в виде кольца. Трехлепесковая форма фиксат о ра позволит надежно удерживать гастростомическую трубку в полости ж е лудка, не давая возможности на выпад е ние, либо прорыв в полость пункционного отверстия. За счет особой формы и во з можности временного ослабления внешн е го фиксатора , внутренний фи к сатор имеет возможность прокручиваться совместно со всей гастростомической трубкой, что п о зволяет за счет поворота освободить часть воспаленной поверхности желудка для п о следующего восстановления. Этот метод позволит уменьшить количество повто р ных хирургических вмешательств.

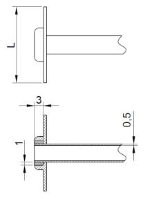
Рис. 3. Эскиз гастростомической трубки, с прикрепленным внутренним фиксат о ром
При изготовлении аналогов и спольз у ются два основных материала . Ниже пре д ставлены основные их свойства и характ е ристики.
Поливинилхлорид (ПВХ или PVC), я в ляется наиболее широко применяемым м а териалом для производства медицинских трубок. ТПМ-Х Поливинилхлорид – си н тетич е ский термопластичный полимер, твердое вещество белого цвета, ПВХ в чистом виде пр и меняется редко, так как он достаточно труден в переработке. Поэтому его, как правило , смешивают с пластиф и каторами, от количества и качества кот о рых зависят свойства к о нечного продукта. Используемые в производстве композиции фталатные пластификаторы, в частности диэтилгексилфталат (ДЭТФ или ДОФ), обладают высокой склонностью к выпот е ванию на поверхность и миграции в окр у жающие жидкие среды, что приводит к снижению эластичности изделий, ухудш е нию морозостойкости.
Термопластичные полиуретаны (ТПМ-У) обладают высокой прозрачностью, у с тойчивостью к химическому воздействию, износостойкостью, хорошими прочнос т ными свойствами . Т ак же обладают выс о кой устойчивость ю к маслам, жирам, ал и фатическим углеродам, кислотам и озону. Растворимы в кетонах. Устойчивы к де й ствию микроорганизмов и гидролизу. Плотность 1,11..1,2 г/см. Трубки ТПМ-У стерилизуются оксидом этилена. Темпер а туре эксплуатации от — 40 до +80 °С , кра т ковременно выдерживает темп е ратуру до 120°С. ТЭП совместимы с рентгеноко н трастными добавками, что позволяет о п ределять их положение при рентгеногр а фической идентификации. Высокая гем о совместимость трубок ТПМ-У, позволит использовать их в изделиях медицинского назначения, контактирующих с кровью в течение длительного времени Твердость от 60 ед . по Ш о ру А , до 74 ед . по Шору Д.
Исходя из вышеперечисленных хара к теристик, наилучшими свойствами, нео б ходимыми для изготовления гастростом и ческих трубок, контактирующих с вну т ренними тканями человека, обладает те р мопластичные полиуретаны (ТПМ-У). Д анный материал и меет довольно шир о кое распространенное применение в мед и цине, а именно в изгото в лении различных трубок, контейнеров и т . д.
Каждый производи тель, представле н ный в табл. 1, имеет свой размерный ряд для своего продукта. Размерные ряды, весьма обширны и имеют множество м о дификаций. Например , для детей и взро с лых существуют отдельные трубки своего размера.
В таблице 1 рассмотрены основные размеры аналогов гастростомических тр у бок и применение для различных возра с тных категорий.
Методика фиксации гастростомической трубки
Фиксация гастростомической трубки к брюшной стенке является важной для поддержания правильного формирования гастростомы и предотвращения случайного удаления или возникновения раздражения в этом месте.
Гастростомическая трубка должна находиться в строго перпендикулярном положении к брюшной стенке для поддержания наименее возможного просвета и минимизации подтекания. Повязки, которые поддерживают гастростомическую трубку в этом положении в течение 5-7 дней после операции, важны.
Как только повязку убирают, а рана заживает, гастростомическую трубку можно фиксировать к брюшной стенке тесьмой из пористого материала во избежание мацерации кожи.
Питание можно начинать в первый послеоперационный день и увеличивать в зависимости от переносимости. Избегают наложения зажимов на гастростомическую трубку при первоначальном кормлении.
Используют тяжелые суспензии для предотвращения потерь желудочного содержимого и обеспечения декомпрессии желудка во время капельного питания. Обычно болюсное кормление начинают после того, как будет достигнут целевой объем энтерального питания путем постоянного капельного поступления ну-триентов.

а - Латексный мостик у гастростомы, стабилизирующий трубку перпендикулярно к коже, поддерживающий стому узкой во избежание подтекания.
Поворот мостика вокруг трубки позволяет менять точки контакта с кожей. Видно, как расширяющийся конец грибовидного катетера удерживает желудок у брюшной стенки.
б - Модифицированная соска.
Эллиптическое отверстие в основании позволяет воздуху циркулировать и регулярно очищать кожу, поскольку это важные факторы, позволяющие избежать мацерации кожи в области гастростомы.
Фиксация гастростомической трубки к брюшной стенке
1. Катетерный «мостик»:
а. Можно использовать либо латексные, либо нелатексные катетеры.
б. Обрезают крупный твердый катетер по его широкому концу до длины 3-4 см.
в. Вырезают отверстия на противоположных сторонах посередине катетерного мостика чуть шире, чем нужно, чтобы не сдавить гастростомическую трубку.
г. Протягивают гастростомическую трубку через сформированные отверстия так, чтобы не сдавить просвет трубки.
д. Вставляют дистальный конец катетера в гастростому, как описано выше. Если используют катетер Фолея, вводят 2-4 мл физиологического раствора в баллон.
е. Плотно прижимают катетерный мостик к коже брюшной стенки.
Притягивают баллон катетера Фолея или выступ грибовидного катетера к желудку и брюшной стенке.
2. Повязка с марлевым валиком:
а. Складывают марлевый тампон в валик и используют материал «Steri-Strips» или пластырь для прикрепления валика к брюшной стенке рядом с гастростомической трубкой.
б. Укладывают петлю гастростомической трубки на валик, поддерживая гастростомическую трубку перпендикулярно к брюшной стенке.
в. Фиксируют гастростомическую трубку к валику и брюшной стенке.
3. Модифицированная мягкая соска:
а. Поскольку важно содержать место выхода гастростомической трубки как можно более сухим, существует модифицированная соска с хорошей циркуляцией воздуха.
б. Вырезают эллиптическое отверстие в основании резиновой соски по окружности 1-1,5 см длиной.
в. Делают поперечный срез 1 см на кончике соски.
г. Надевают соску на гастростомическуют трубку до контакта с брюшной стенкой.
д. Подтягивают гастростомическую трубку так, чтобы баллон или кромка трубки уперлась в брюшную стенку.
е. Фиксируют пластырем или швами кромку соски к коже. Очищают кожу вокруг гастростомы с помощью ватных аппликаторов и держат ее под соской сухой во избежание мацерации.
Учебное видео ухода за гастростомой в домашних условиях
Редактор: Искандер Милевски. Дата обновления публикации: 18.3.2021
Уход за гастростомой и гастростомической трубкой
Уход за гастростомой:
1. Осмотр:
а. Медицинские работники должны знать, подвергался ли пациент фундопликации по Ниссену или другому антирефлюксному вмешательству при проведении гастростомии.
б. Переносимость кормлений.
в. Тип и размер трубки.
г. Место введения.
д. Состояние кожи вокруг стомы.
2. Специального ухода требуют пациенты, которым проводилась операция Ниссена или другое антирефлюксное вмешательство:
а. У пациента невозможна рвота или отрыжка.
б. Следует открывать трубку после плача и при первых признаках рвотных движений, дискомфорта или боли.
3. Уход за местом установки трубки и кожей:
а. Моют место установки трубки два-три раза в день в послеоперационном периоде и раз в день после заживания стомы. Используют физиологический раствор натрия хлорида и стерильные ватные палочки в раннем послеоперационном периоде. Применяют мягкое мыло и воду после заживания стомы. Разведенную перекись водорода (50% перекиси водорода и 50% воды) не рекомендуют, кроме случаев, когда место покрыто засохшей кровью.
б. Следует убедиться, что приспособление, препятствующее миграции трубки, расположено у кожи, а гастростомическая трубка не мигрирует.
в. Положение трубки под углом 90° к коже.
г. Бутылочную соску, расположенную на трубке с основанием, прилегающим к брюшной стенке, также можно использовать для поддержания трубки под углом 90°; фиксируют пластырем.
д. Стабилизируют гастростомическую трубку для предотвращения ее избыточного движения, снижения риска язв стомы, инфицирования, кровотечения и развития грануляционной ткани.
е. Используют фиксирующее приспособление (например, фиксирующее приспособление для дренажных трубок Холлистера, Hollister Inc., Libertyville, IL, USA), если у пациента аллергия на компоненты пластыря или как традиционный способ фиксации трубки к коже.
ж. Вращают валик, фланец соски или крылья застежки каждые 4-8 ч для предотвращения некроза кожи от давления. Не располагают марлю между кожей и валиком. Можно сформировать петлю напряжения путем наклеивания пластыря на трубку и привязывания ее к пеленке. Чтобы прикрыть трубку, также можно использовать трубчатый бинт или цельную рубашечку с закрытой застежкой,
з. Осматривают место и кожу вокруг стомы на предмет подтекания, раздражения, покраснения, сыпи или повреждения. Эритема и минимальное количество чистого отделяемого могут появиться в первую неделю после операции.
Типы гастростомических трубок
| Типы гастростомической трубки | Описание | Примеры |
| Временная/традиционная | Наиболее часто используется как первая трубка после операции Штамма; длинные самоудерживающиеся катетеры из латекса или силикона с самоудерживающими приспособлениями (то есть баллоном) | Малекотта (Bard, Covington, GA, USA) (складные крылья), Депеццера (грибовидный) |
| Для питания | Силиконовый катетер с противомиграционным приспособлением и колпачком | «MIC» (Ballard Medical, Draper, UT, USA), Корпака (Med Systems, Wheeling, IL, USA) |
| Поверхностные приспособления | Предназначаются для использования при сформированной гастростоме; имеют самоудерживающие приспособления, противомиграционные и антирефлюксные клапаны; двух типов — баллонный и Малекотта | «Bard Button» (Bard, Covington, GA, USA), «Mickey» |

Поддерживающий уход за гастростомой:
1. Поддерживают контакт между желудком и брюшной стенкой:
а. Препятствуют растяжению желудка.
б. Держат баллон или выступ гастростомиче-ской трубки плотно притянутым к стенке желудка.
в. Избегают некроза от давления брюшной стенки.
г. Избегают случайного смещения гастростомической трубки.
2. Держат трубку неподвижной в месте введения для поддержания у стомы как можно меньшего диаметра:
а. Используют тщательную фиксацию для поддержания перпендикулярного положения трубки.
Когда трубку подвешивают, ей дают немного провиснуть.
3. Препятствуют миграции трубки через привратник или пищевод следующими методами.
а. Соответствующей фиксацией.
б. Сравнивая длину наружной части трубки с послеоперационной.
в. Следя за признаками обструкции, например, следующими:
(1) Растяжение желудка, непереносимость питания.
(2) Увеличение количества отделяемого по орогастральному зонду или гастросто-мической трубке.
(3) Дренирование желчи.
(4) Вновь возникший или усилившийся желудочно-пищеводный рефлюкс.
4. Минимизируют подтекание из гастростомы при длительном ее сохранении:
а. Поддерживают плотное обхватывание трубки стомой.
б. Избегают местного инфицирования.
в. Проводят устранение подтекания из гастростомы:
(1) Удаляют трубку в течение 24 ч для частичного закрытия стомы.
(2) Заменяют грибовидный катетер катетером Фолея и притягивают баллон (заполненный 2-5 мл воды) к брюшной стенке, чтобы устранить подтекание. Используют катетерный мостик или фиксируют трубку пластырем.
(3) Накладывают материал «Stomahesive» вокруг катетера для уменьшения слущивания эпителия и ускорения эпителизации. Меняют его каждые 3-4 дня и применяют, пока есть необходимость.
(4) Поддерживают перпендикулярное положение гастростомической трубки.
(5) Держат трубку открытой.
(6) Следят за гигиеной кожи и стомы.
(а) Ежедневно моют с мылом и водой; засохший экссудат можно удалить с помощью полуразведенной перекиси водорода.
(б) Содержат участок кожи сухим. Меняют повязки после каждого мытья кожи и никогда не увлажняют.
г. Удаляют грануляционные ткани в области гастростомы:
(1) Нитрат серебра: наносят ежедневно в течение 3-5 дней.
(2) 0,5% триамсинолоновая мазь: наносят три раза в день в течение 5-7 дней.
(3) Каутеризация: может потребоваться местная или общая анестезия.
Гастростомические питательные трубки: развенчивая мифы

Гастростома используется только в конце жизни. Баллон стомы нельзя трогать. Пациента нельзя кормить сутки после установки стомы. Где здесь миф, а где правда?
Публикуем статью из 4-го выпуска журнала «Pallium: паллиативная и хосписная помощь» за 2020 год. В ней бельгийский врач и ученый Люк Ван Ауденхов развенчивает мифы о гастростомах, бытующие среди медиков.
Успех назначения питания через гастростомическую трубку у паллиативных пациентов зависит не только от типа и количества энтерального питания, но и от того, как осуществляется ежедневный уход за трубкой. Состав доступных к приобретению питательных смесей менялся с годами, также эволюционировал и уход за гастростомическими трубками.
Однако некоторые врачи и медсестры, в течение многих лет принимающие участие в уходе за находящимися на энтеральном питании больными, разработали собственную практику и следуют своим многолетним привычкам, подчас не задумываясь, соответствуют ли их подходы современным требованиям.
В этой статье мы рассмотрим пять распространенных мифов о гастростомических трубках для энтерального питания, которые необходимо развенчать для улучшения качества ухода за паллиативными больными.
Миф 1. Гастростомические трубки используются только в конце жизни
Действительно, часть пациентов, получающих питание через трубку (например, пациенты в коматозном состоянии или с онкологическими заболеваниями), находятся на последнем этапе своей жизни. Однако большинство людей, которым установлены трубки для кормления, на самом деле используют их, чтобы выжить! Некоторые дети получают питание через трубку с рождения и на протяжении всей жизни. В Соединенном Королевстве 39% новых взрослых пациентов, покидающих больницу и нуждающихся в энтеральном питании, полностью активны. 80% этих пациентов получают питание через гастростомическую трубку [1].
Ключевые принципы и технологии нутритивной поддержки в паллиативной медицине Врач Илья Лейдерман о том, кому необходимо проводить нутритивную поддержку, какие могут быть показания и когда стоит использовать парентеральное питание
Миф 2. Пациента нельзя кормить в течение 24 часов после установки чрескожной эндоскопической гастростомической трубки (ЧЭГ)
Практика начинать вводить энтеральное питание через 24–48 часов после эндоскопической установки гастростомической трубки основана на старой догме формирования хирургических гастростом [2]. Однако существует несколько мета-анализов, демонстрирующих, что энтеральное питание можно безопасно начинать через 4–6 часов после установки гастростомы без увеличения риска осложнений [3, 4, 5, 6]. Также нет необходимости при начале питания через гастростому разводить сперва смесь или начинать с раствора глюкозы 5% или раствора электролитов.
Миф 3. Пациентам и их родственникам нельзя прикасаться к гастростомам
Пациенту и лицам, осуществляющим уход, нужно ознакомиться с гастростомической трубкой. Трубку следует рассматривать как часть тела, а не как инородный объект. Производители гастростомических трубок предлагают брошюры для пациентов, где простым языком объясняется, как ухаживать за гастростомической трубкой.
Первые две недели после установки:
- ежедневно осматривайте и очищайте область стомы, используя стерильную салфетку из нетканого материала и некрасящееся дезинфицирующее средство;
- не забывайте очищать наружную часть трубки и порт для введения лекарств;
- тщательно просушивайте область вокруг стомы и держите ее открытой на воздухе;
- не регулируйте фиксирующий диск на гастростомической трубке;
- пока стома полностью не сформировалась, пациенту нельзя принимать ванну.
Через две недели после установки:
- внимательно проверяйте стому на предмет наличия следующих признаков: подтекание, припухлость, раздражение, покраснение, нарушение целостности кожи, болезненность места установки стомы или избыточная подвижность трубки.
- ежедневно очищайте область стомы: держите кожу вокруг трубки чистой и сухой, используйте мягкое мыло и теплую воду; начинайте возле стомы и двигайтесь кнаружи, совершая круговые движения, трубку можно вращать;
- внешний фиксирующий диск гибкий, он позволяет вам добраться до любого места вокруг трубки;
- не забывайте очищать наружную часть трубки и порт для введения лекарств;
- аккуратно просушивайте область вокруг стомы и держите ее открытой на воздухе.
Миф 4. Катетер Фолея – хорошая альтернатива гастростомическим трубкам
На самом деле использование катетера Фолея в качестве гастростомической трубки небезопасно. Отсутствие внешнего фиксирующего диска делает фиксацию катетера к коже сложной задачей и влечет дополнительные расходы.
На катетере нет сантиметровой маркировки, в результате чего затруднительно контролировать правильное положение катетера. Миграция последнего по ходу желудочно-кишечного тракта может привести к тяжелым осложнениям.
Отсутствие заглушки на катетере часто приводит к попаданию питательной смеси или содержимого желудка на кожу пациента и, как следствие, к раздражению кожи. Выступающая часть катетера под баллоном может привести к хроническому раздражению и к кровотечению из слизистой оболочки желудка.
Эти катетеры часто имеют баллоны большого объема, которые заполняют полость желудка больше, чем баллоны гастростомических трубок того же размера. Катетеры Фолея предназначены для краткосрочного использования в pH-нейтральной среде, поскольку по сравнению с гастростомическими трубками они имеют чрезвычайно короткий срок службы баллона.
Миф 5. Нельзя трогать баллон гастростомической трубки
На самом деле после формирования стомы (приблизительно через 2 недели после установки) требуется проверять объем баллона. Порядок действий: спустите баллон, определите объем, введите воду обратно и при необходимости добавьте стерильной воды до рекомендованного объема. Для профилактики бампер-синдрома гастростомическую трубку следует ежедневно поворачивать на 360° в канале стомы.
Люк Ван Ауденхов, магистр медицинских социальных наук и управления здравоохранением, бакалавр сестринского дела, Лёвенский католический Университет, Бельгия.
1.BANS: Annual BANS Report 2018, Artifi cial Nutrition Support in the U K, 2010 –2015.
2. Zoeller St. et. al. Nutrition in Clinical Practice, vol. 35, Nr. 2, April 2020, pp. 196–204.
3. Stein J. Schulte-Bockholt et al.: Intensive Care Med., 2002, 28, 1656–1660.
4. Bechtold et al., Am. J. Gastroenterol., 2008.
5. Szary et al., J. Clin. Gastroenterol. 2011.
6.Cobell et al., South Med. J. 2014.
7. Bui H. D. et al.: Acute Pancreatitis a complication of Foley catheter gastrostomy. J of Nat. Medical Assoc., vol. 78, N°8, 1986.
Читайте также:
